【转移转化】UWB高精度定位技术
温州维度投资管理有限公司
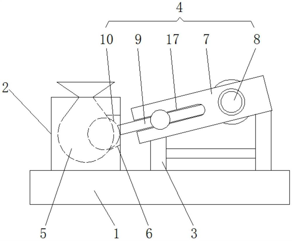
一种以凸轮联动实现瓦块间载荷均布的滑动推力轴承
东方电气集团东方汽轮机有限公司
【转移转化】数字储能能源管理
温州维度投资管理有限公司
一种用于顺钞及叠钞的整钞装置
四川工程职业技术学院
一种汽轮机叶片的自动化修复及再制造方法
东方电气集团东方汽轮机有限公司
一种水轮机转轮自动焊接修复系统
四川工程职业技术学院
一种带回热系统的背压式汽轮机系统
东方电气集团东方汽轮机有限公司
一种印刷机废气收集处理设备
崇阳县天人印刷有限责任公司
【项目融资】纯壳聚糖纤维
温州维度投资管理有限公司
一种弧段类零件拂配面铣削快速夹持装置及方法
东方电气集团东方汽轮机有限公司
一种瓷器生产用陶泥压打设备
湖北杭瑞陶瓷有限责任公司
一种水轮机叶片自动打磨系统
四川工程职业技术学院
乳酸链球菌素生产技术
天津联创科技发展有限公司
一种汽轮机转子轮槽半精铣刀及其加工方法
东方电气集团东方汽轮机有限公司
一种会计用品工具盒
咸宁职业技术学院
提高化学镀Ni‑P层耐氧化性的无铬钝化膜制备方法
四川工程职业技术学院
固态有机废弃物生物转化及其资源梯级利用
包头迈坦科技服务有限公司
一种汽轮机动叶片密封结构及密封方法
东方电气集团东方汽轮机有限公司
一种均载滑动轴承
东方电气集团东方汽轮机有限公司
一种钞票吸刷翻展平铺装置及其钞票展平整理方法
四川工程职业技术学院
共16004页 转到