拒水羽绒的除尘烘干装置
安徽古麒绒材股份有限公司
乙炔二聚非水相催化剂及其应用
石河子大学
【上海交大】基于磁共振的大功率无线充电系统
包头迈坦科技服务有限公司
适于羽绒加工的压缩装置
安徽古麒绒材股份有限公司
一种胶原蛋白粉剂低温浓缩设备
湖北菁春生物技术有限公司
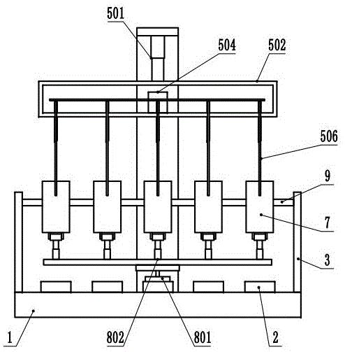
羽绒除尘装置
安徽古麒绒材股份有限公司
一种胶原蛋白的膜分离装置
湖北菁春生物技术有限公司
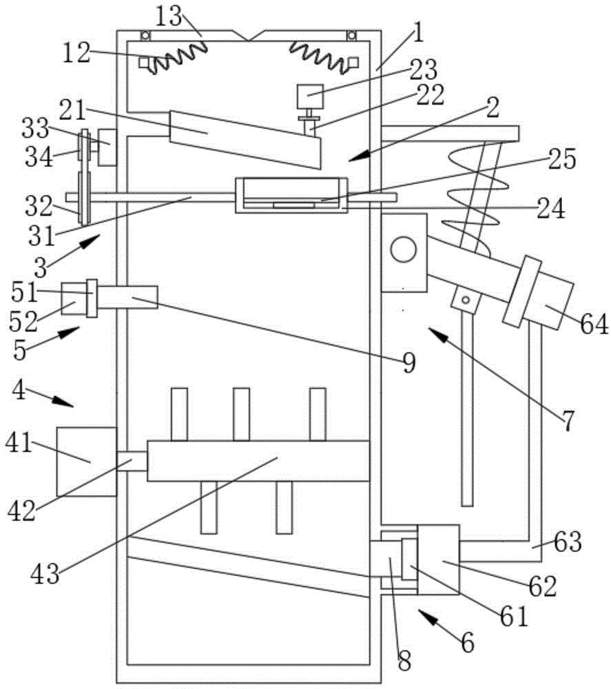
复合式羽绒清洗烘干一体装置
安徽古麒绒材股份有限公司
一种乳酸菌组合物的分离方法及其应用
塔里木大学
基结构特异性醇/酯制备用高选择性工业酶的高效创制关键 技术
武进区科技成果转移中心
低浴比浸淋式羽毛羽绒水洗装置及水洗方法
安徽古麒绒材股份有限公司
彩光导入仪(829)
黄子才
一种2-氯-5-三氟甲基吡啶生产用水洗中和釜
单县欣润化工有限公司
指环折叠手机支架
黎波
新疆南疆地区小麦、玉米一年两熟轻简化种植方法
塔里木大学
洗脸刷
李树青
一种用于处理2-氯-5-三氟甲基吡啶反应尾气的方法及系统
单县欣润化工有限公司
羽绒加工用脱水设备
安徽古麒绒材股份有限公司
虾蟹塘自动化投饵船
包头迈坦科技服务有限公司
一种牧草盲蝽引诱剂及其制备方法与应用
塔里木大学
共16046页 转到