用于果园种植的水肥一体化喷灌装置
芜湖将军湾生态农业有限公司
河豚毒素的控制与消减技术研究
包头迈坦科技服务有限公司
一种变压节能三通比例流量换向器
江苏师范大学
若干经典孤子方程的解、对称及代数结构研究
徐州工程学院
州地区早产儿及极低出生体重儿发生率及病死率的研究
徐州市妇幼保健院
智慧医院系统对儿童医院信息化建设的应用研究
徐州市儿童医院
银质针和银质针导热巡检仪治疗慢性肌肉筋膜损伤的临床研究
徐州仁慈医院
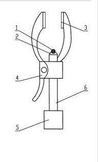
高压管线防脱装置及管气密封检测系统
通奥检测集团股份有限公司
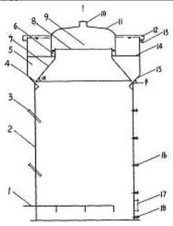
用于气密封检测工具试压的实验井架
通奥检测集团股份有限公司
一种基于3D的马体尺测量系统及数据修正方法
新疆农业大学
一种聚苯胺碳化法制备高性能气敏传感器的方法
新疆大学
一种棉酚分子印迹聚合物的制备方法
中国科学院新疆理化技术研究所
直立离心式油葵脱粒清选装置
新疆农业大学
一种低糖杏脯的制备方法
新疆农业大学
一种生物质秸秆肥料智能型一体加工装置
塔里木大学
石墨烯水性环保散热涂层
包头迈坦科技服务有限公司
砂性肥料造粒关键技术及产业化应用
郑州大学化工学院
漏斗螺旋冰酒器
河北科技大学
HC1700纵摆磨粉机关键技术及其工业化研究
包头迈坦科技服务有限公司
一种多路信号多屏拼接处理系统
河北科技大学
共16046页 转到