科创中国
问题分诊室
具身智能与智慧医疗融合创新产业
高性能装备制造产业
智能机器人全产业链产业
中医药产业
人工智能产业
新一代信息技术产业
作物产业
量子科技与先进制造产业
海洋装备产业
煤炭开采及煤化工产业
特殊钢产业
节能环保产业
低空经济产业
光电产业
汽车产业
新能源产业
新材料产业
“以竹代塑”
成果发布厅
新型电力系统
化学领域
现代纺织
低空经济
信息通信
智慧公路
煤炭开采及煤化工
中医药
智能机器人全产业链
海洋装备
新一代信息技术
量子科技与先进制造
人工智能
高性能装备制造
具身智能与智慧医疗融合创新
作物
科创地方
科创北京
科创天津
科创内蒙古
科创辽宁
科创河北
科创湖南
科创宁夏
科创广东
科创江苏
科创广西
科创重庆
科创山东
科创河南
科创福建
科创黑龙江
科创湖北
科创浙江
科创山西
科创资讯
科创头条
科协活动
通知公告
科技政策
技术经理人
科技服务团
资源中心
项目库
问题库
案例库
开源库
会议展览
品牌栏目
院士开讲
解码新质生产力
金融服务云课堂
企创云课堂
有问题想咨询
有成果想转化
我的交易
我的会议
我报名的路演会议
我的资讯
我的消息
我的动态
我的需求
我的成果
我的
个人资料编辑
退出登录
登录/注册
科创中国
需求发布
成果发布
科创案例库
揭榜挂帅
技术经理人
会议展览
科创联合体
科技服务团
科创资讯
科技政策
院士开讲
学术资源
城市站点
协作站点
搜索
问题库
项目库
开源库
English
我的交易
我的会议
我报名的路演会议
我的资讯
我的消息
我的动态
我的需求
我的成果
我的
个人资料编辑
退出登录
登录/注册
组织入驻
隐藏工作区
全国
在线展厅
切换展厅
全国
北京市
天津市
河北省
山西省
内蒙古
辽宁省
吉林省
黑龙江省
上海市
江苏省
浙江省
安徽省
福建省
江西省
山东省
河南省
湖北省
湖南省
广东省
广西
海南省
重庆市
四川省
贵州省
云南省
西藏
陕西省
甘肃省
青海省
宁夏
新疆
新疆兵团
路演活动
科技成果
参观
人数
0
0
0
0
0
0
0
点赞
人数
0
0
0
0
0
0
0
技术领域
全部
新兴行业
|
新基建
|
电子信息
|
高端产业
|
生物医药
|
石化与新材料
|
智能机械与光机电一体化
|
节能环保
|
新能源
|
现代农业
|
高端技术服务业
|
农林牧副渔
|
城建规划
|
文化创意
|
矿山工程
|
冶金工程
|
企业管理
|
知识产权
|
智库咨询
|
旅游休闲娱乐
|
企业发展服务
|
电子商务
|
纺织
|
其他
|
更多
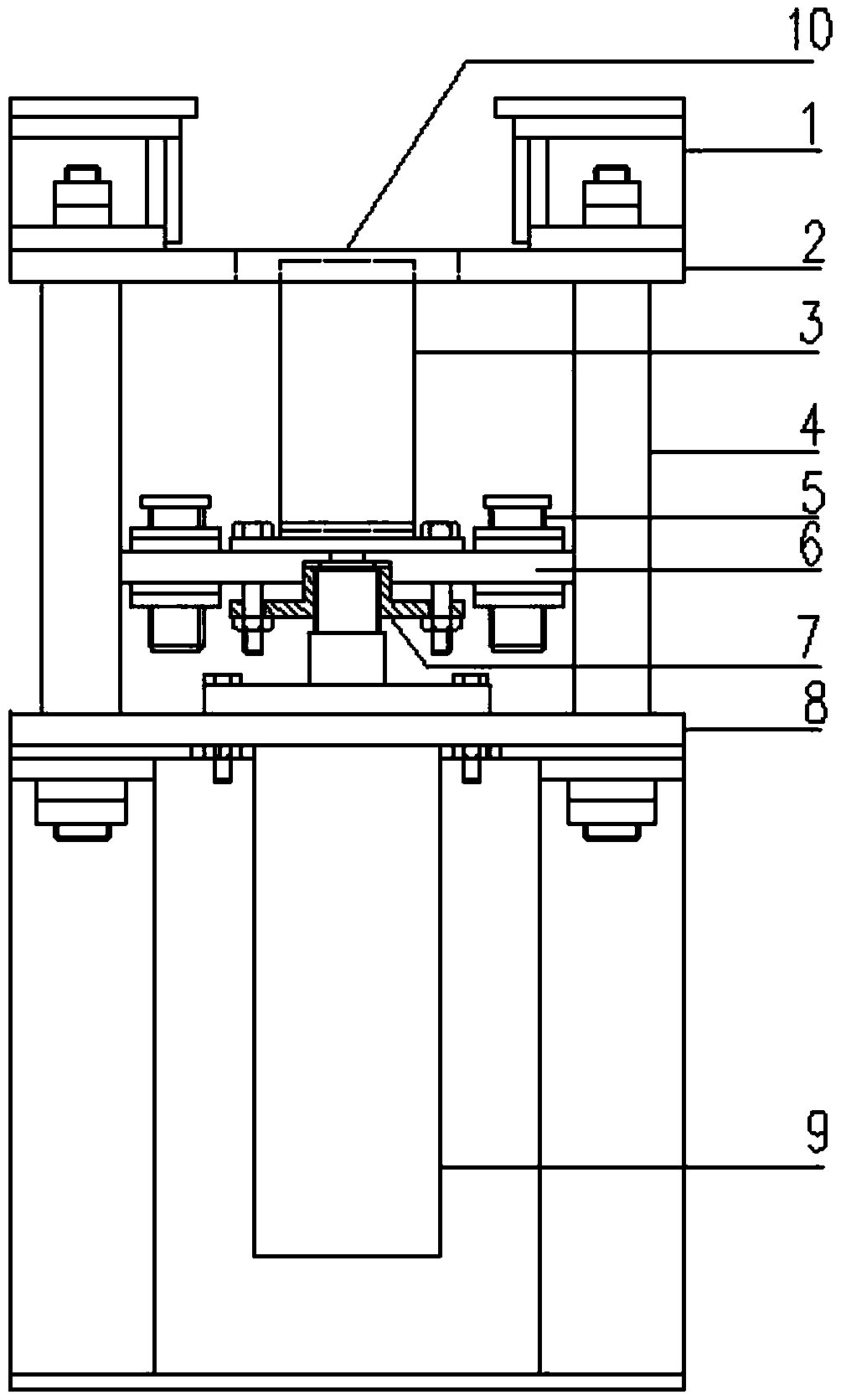
一种多重曝气鳞片状生物转盘装置设计
嘉兴市科协
腰椎轴向旋转中心的影像学定位联合3D打印技术在椎弓根钉置入方案设计中的应用
宿迁市人民医院
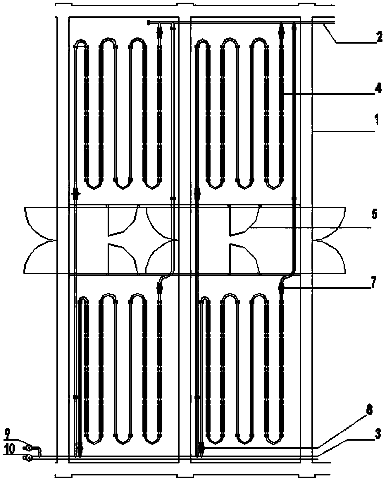
面向堆叠增材的机器人三维柔性切割系统及方法
南华大学
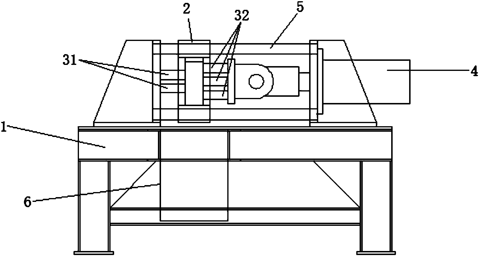
一种多孔型孔口应力集中教学演示装置的研制与应用
嘉兴市科协
移动式燃烧器综合性能测试仪
包头迈坦科技服务有限公司
便携式燃烧器综合性能及锅炉能效测试仪
包头迈坦科技服务有限公司
一种加工枣泥片的方法
石河子大学
一种鹰嘴豆豆芽有效成分的纯化方法
中国科学院新疆理化技术研究所
一种沙尘降质图像的增强方法及装置
新疆大学
图像间变化的检测方法及装置
新疆大学
一种食用型向日葵杂交制种方法
新疆农垦科学院
滴灌棉田棉蚜快速监测与预警方法
石河子大学
一种三系杂交小麦的制种方法、所制种子及其应用
新疆农垦科学院
一种基于机器视觉的奶牛反刍咀嚼、吞咽次数统计方法
石河子大学
一种用于新疆葱蒜野生近缘种遗传多样性分析的TRAP标记引物组合及其应用
新疆农业大学
GUCY1A1基因特异SNP标记、吐鲁番黑羊产羔数性状的检测方法及其应用
新疆农业大学
婴儿车折叠支架
山东圣得宝儿童用品股份有限公司
一种无级调节机构
山东圣得宝儿童用品股份有限公司
一种耐盐促生菌wp-3及其应用
石河子大学
一种可折叠遛娃车
山东圣得宝儿童用品股份有限公司
首页
上一页
4139
4140
4141
4142
4143
4144
4145
下一页
尾页
共16046页 转到
页