南京玻璃纤维研究设计院
包头迈坦科技服务有限公司
防晒剂 | 美白剂 固体脂质载体包覆技术
包头迈坦科技服务有限公司
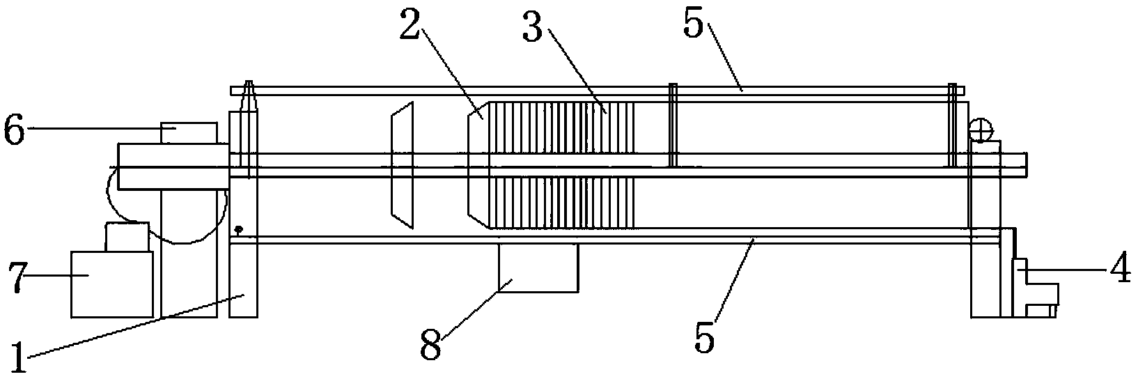
一种板框压滤机
湖北福人药业股份有限公司
一种儿科专用压舌板及其板体机构和上药机构
哈尔滨医科大学
包装盒(龙胆泻肝胶囊)
湖北福人药业股份有限公司
一种听诊器扩音装置及其防损坏装置
哈尔滨医科大学
AI视觉在开放式复杂场景下的多维应用
包头迈坦科技服务有限公司
一种肝脏介入用具有防溢流结构的静脉插管
哈尔滨医科大学
包装盒(金刚藤胶囊)
湖北福人药业股份有限公司
一种视疲劳缓解装置及其穿戴机构
哈尔滨医科大学
新型的前交叉韧带双束重建的股骨骨道定位器
哈尔滨医科大学
说明书 新型的前交叉韧带双束重建的股骨骨道定位器
哈尔滨医科大学
一种贴标机
湖北福人药业股份有限公司
防滑式外科手术用定距手术刀
哈尔滨医科大学
一种肝脏介入治疗用具有便拆结构的防喷溅装置
哈尔滨医科大学
一种肝脏介入治疗用具有调节固定功能的包扎胸腹带
哈尔滨医科大学
一种长期卧床患者下肢康复训练装置
哈尔滨医科大学
一种鼻胃肠管固定装置
哈尔滨医科大学
一种肺小结节图像增强的装置
哈尔滨医科大学
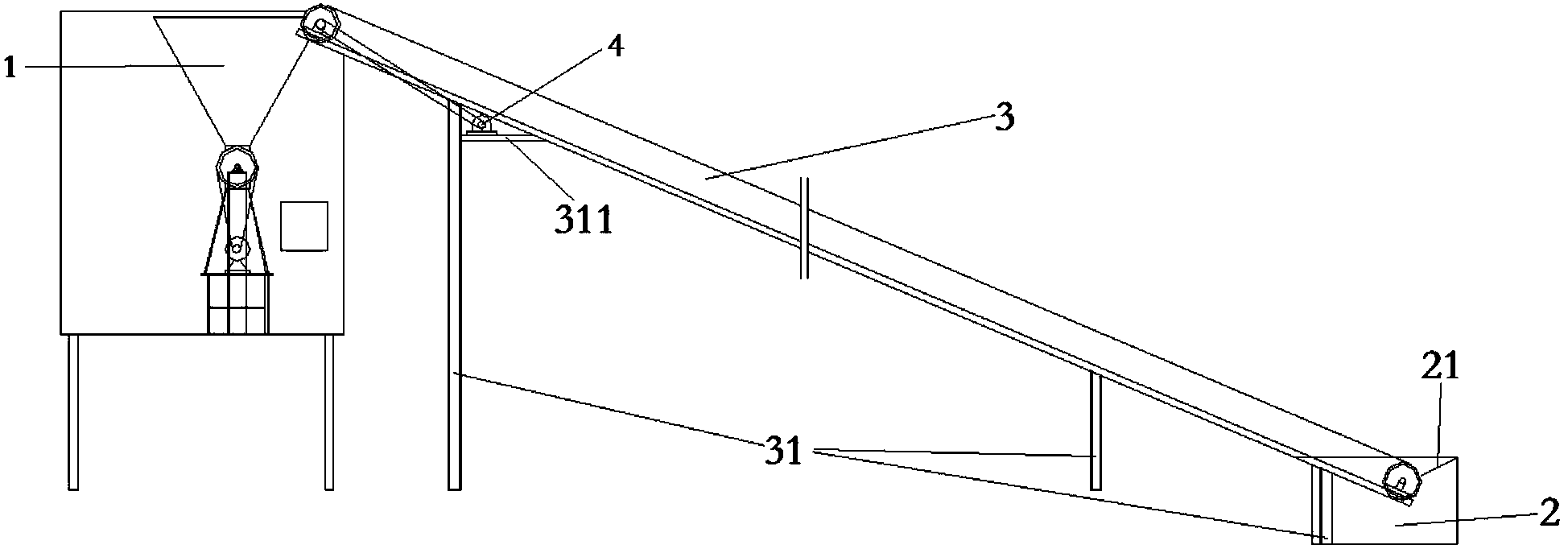
一种自动上料锅炉
湖北福人药业股份有限公司
共16004页 转到