一种基于科技服务信息自动化分类处理系统
衡阳麓木和择科技有限公司
一种语文成绩档案存放册
咸宁职业技术学院
一种计算机散热器
咸宁职业技术学院
一种多功能LED阅读灯
咸宁职业技术学院
一种高效提取植物活性成分的装置
咸宁职业技术学院
一种电子商务用分选装置
咸宁职业技术学院
一种语文课本夹
咸宁职业技术学院
一种旱地作物智能播种装置
张律行
一种新能源汽车智能车载空调系统
重庆建筑科技职业学院
装饰物(鹿头二)
张三星
带磁性的柜体连接件及其安装方法
博洛尼家居用品湖北有限公司
一种电力施工绝缘夹钳
国网湖北省电力公司咸宁供电公司
多功能伸缩式绝缘杆
国网湖北省电力公司咸宁供电公司
一种开关柜组
国网湖北省电力公司咸宁供电公司
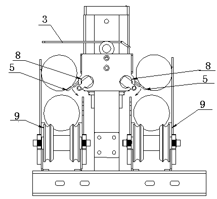
一种可多角度翻转的病床底座结构
厚福医疗装备有限公司
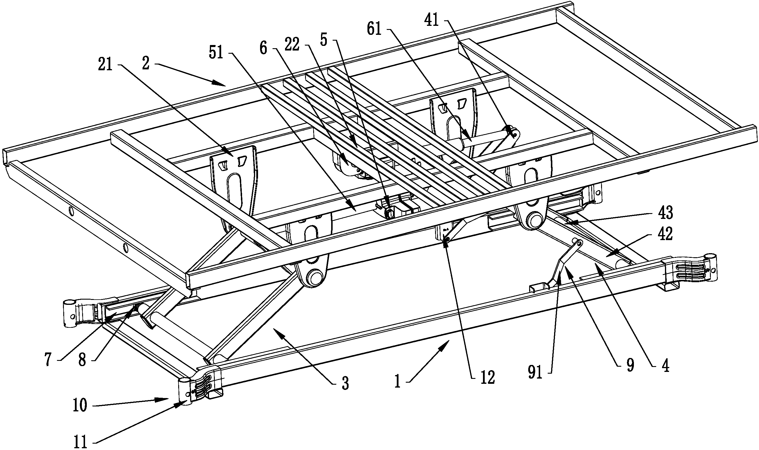
一种双曲柄滑块的超大载荷升降机构
厚福医疗装备有限公司
用于自动拆袋机的饮料盖输送装置
湖北宝立科技有限公司
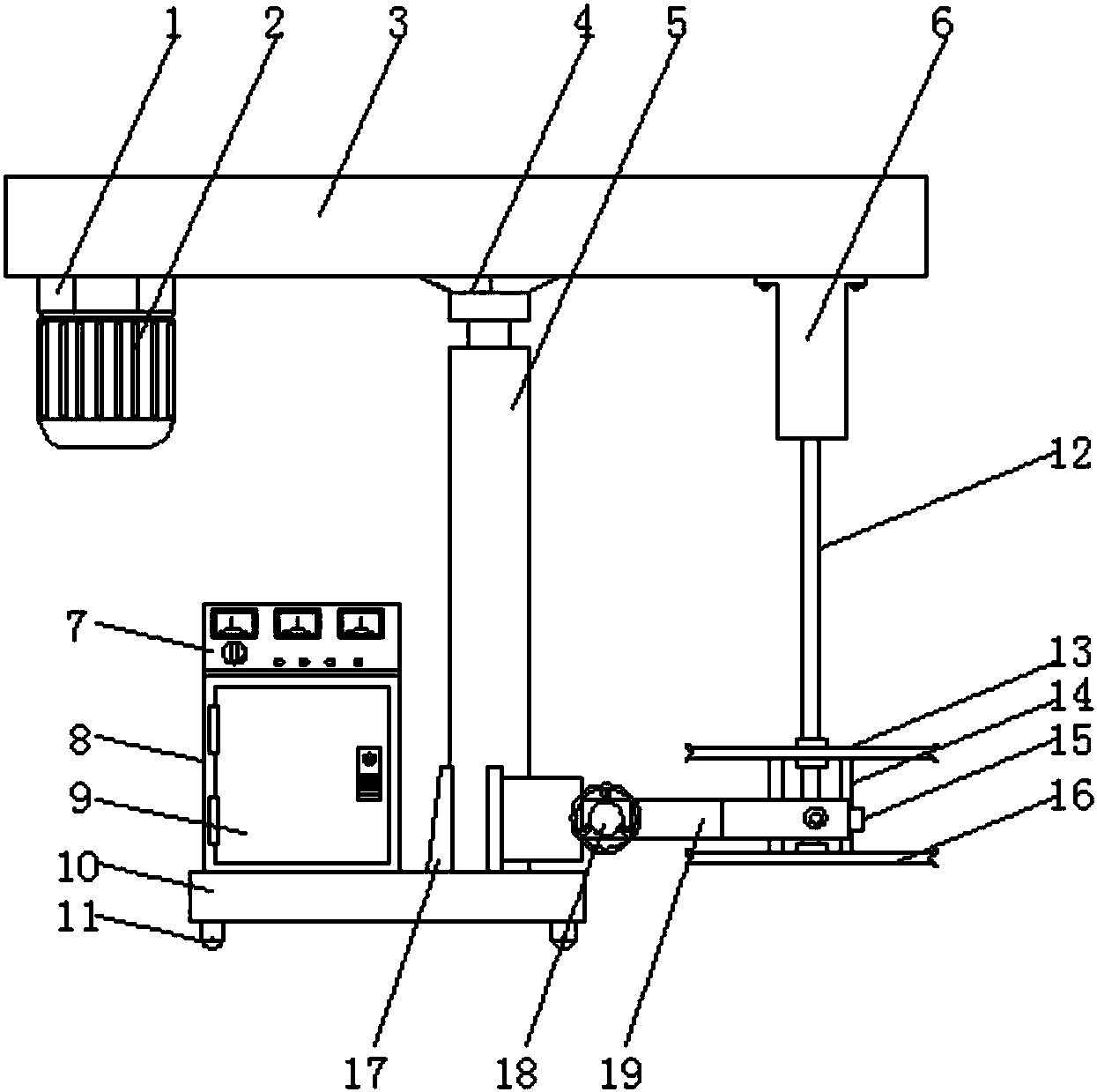
一种油漆浆料分散机
湖北大海化工实业有限公司
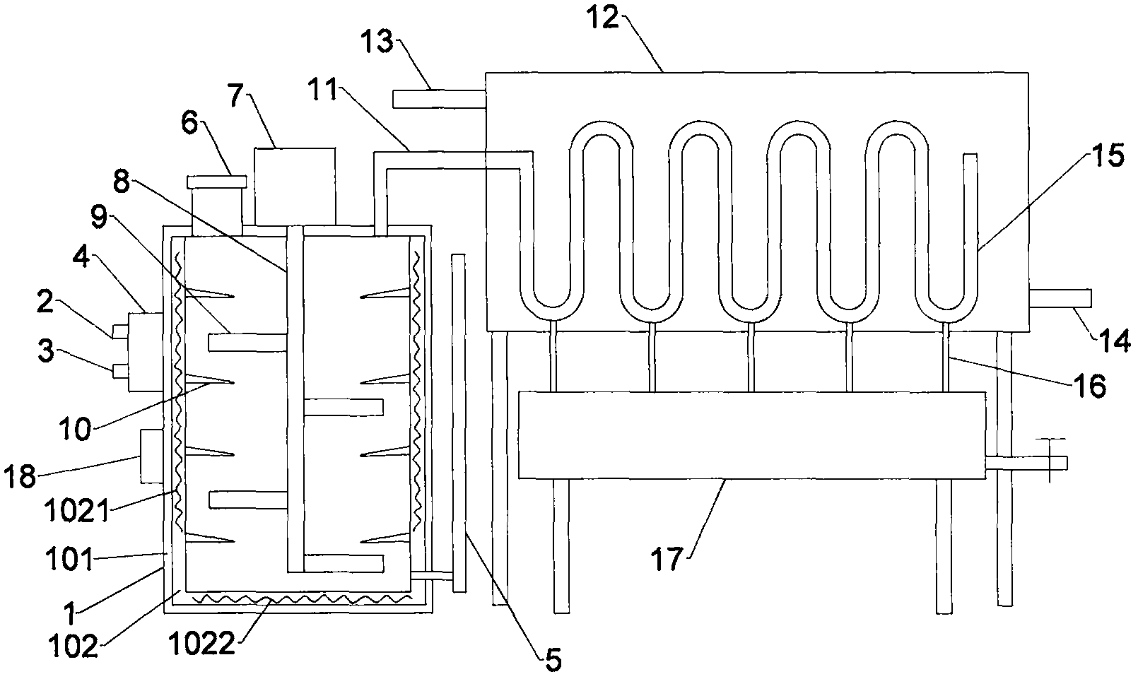
一种喷雾干燥塔
湖北福人药业股份有限公司
活性炭集中脱附及脱附气处理技术研发
荆门市拓达科技有限公司
共16004页 转到