科创中国
问题分诊室
具身智能与智慧医疗融合创新产业
高性能装备制造产业
智能机器人全产业链产业
中医药产业
人工智能产业
新一代信息技术产业
作物产业
量子科技与先进制造产业
海洋装备产业
煤炭开采及煤化工产业
特殊钢产业
节能环保产业
低空经济产业
光电产业
汽车产业
新能源产业
新材料产业
“以竹代塑”
成果发布厅
新型电力系统
化学领域
现代纺织
低空经济
信息通信
智慧公路
煤炭开采及煤化工
中医药
智能机器人全产业链
海洋装备
新一代信息技术
量子科技与先进制造
人工智能
高性能装备制造
具身智能与智慧医疗融合创新
作物
科创地方
科创北京
科创天津
科创内蒙古
科创辽宁
科创河北
科创湖南
科创宁夏
科创广东
科创江苏
科创广西
科创重庆
科创山东
科创河南
科创福建
科创黑龙江
科创湖北
科创浙江
科创山西
科创资讯
科创头条
科协活动
通知公告
科技政策
技术经理人
科技服务团
资源中心
项目库
问题库
案例库
开源库
会议展览
品牌栏目
院士开讲
解码新质生产力
金融服务云课堂
企创云课堂
有问题想咨询
有成果想转化
我的交易
我的会议
我报名的路演会议
我的资讯
我的消息
我的动态
我的需求
我的成果
我的
个人资料编辑
退出登录
登录/注册
科创中国
需求发布
成果发布
科创案例库
揭榜挂帅
技术经理人
会议展览
科创联合体
科技服务团
科创资讯
科技政策
院士开讲
学术资源
城市站点
协作站点
搜索
问题库
项目库
开源库
English
我的交易
我的会议
我报名的路演会议
我的资讯
我的消息
我的动态
我的需求
我的成果
我的
个人资料编辑
退出登录
登录/注册
组织入驻
隐藏工作区
全国
在线展厅
切换展厅
全国
北京市
天津市
河北省
山西省
内蒙古
辽宁省
吉林省
黑龙江省
上海市
江苏省
浙江省
安徽省
福建省
江西省
山东省
河南省
湖北省
湖南省
广东省
广西
海南省
重庆市
四川省
贵州省
云南省
西藏
陕西省
甘肃省
青海省
宁夏
新疆
新疆兵团
路演活动
科技成果
参观
人数
0
0
0
0
0
0
0
点赞
人数
0
0
0
0
0
0
0
技术领域
全部
新兴行业
|
新基建
|
电子信息
|
高端产业
|
生物医药
|
石化与新材料
|
智能机械与光机电一体化
|
节能环保
|
新能源
|
现代农业
|
高端技术服务业
|
农林牧副渔
|
城建规划
|
文化创意
|
矿山工程
|
冶金工程
|
企业管理
|
知识产权
|
智库咨询
|
旅游休闲娱乐
|
企业发展服务
|
电子商务
|
纺织
|
其他
|
更多
芳胺基苯甲酰胺类化合物及N‑芳基‑芳胺基苯甲酰胺类化合物的制备方法
石河子大学
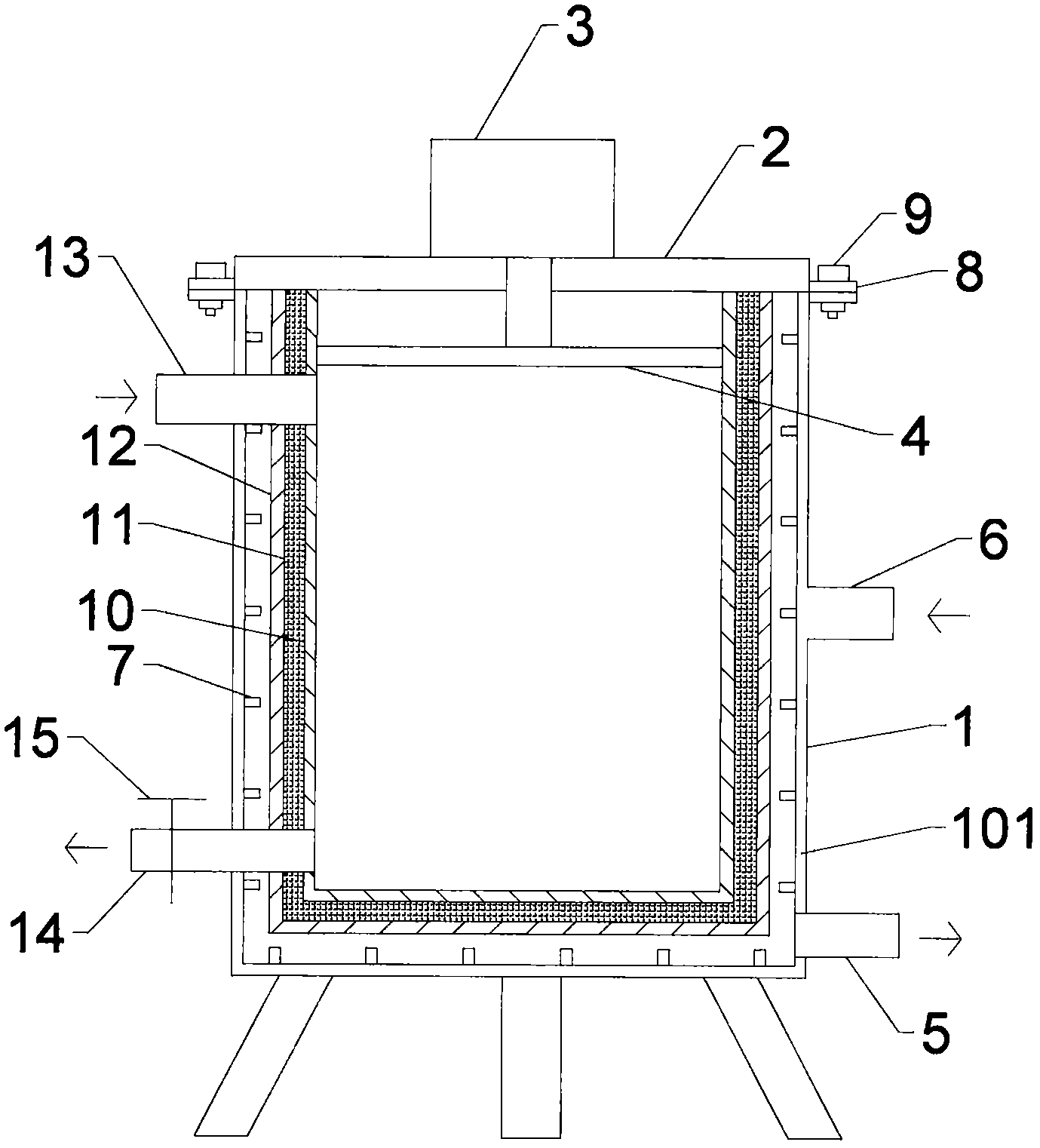
滚筒式气体射流冲击干燥机
石河子大学
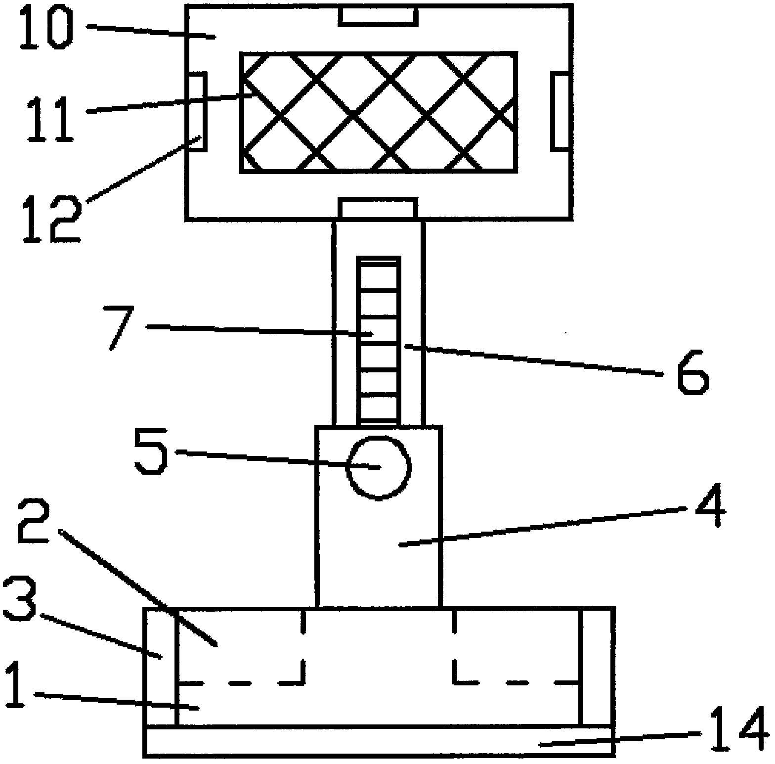
采棉机配套残膜分离装置
石河子大学
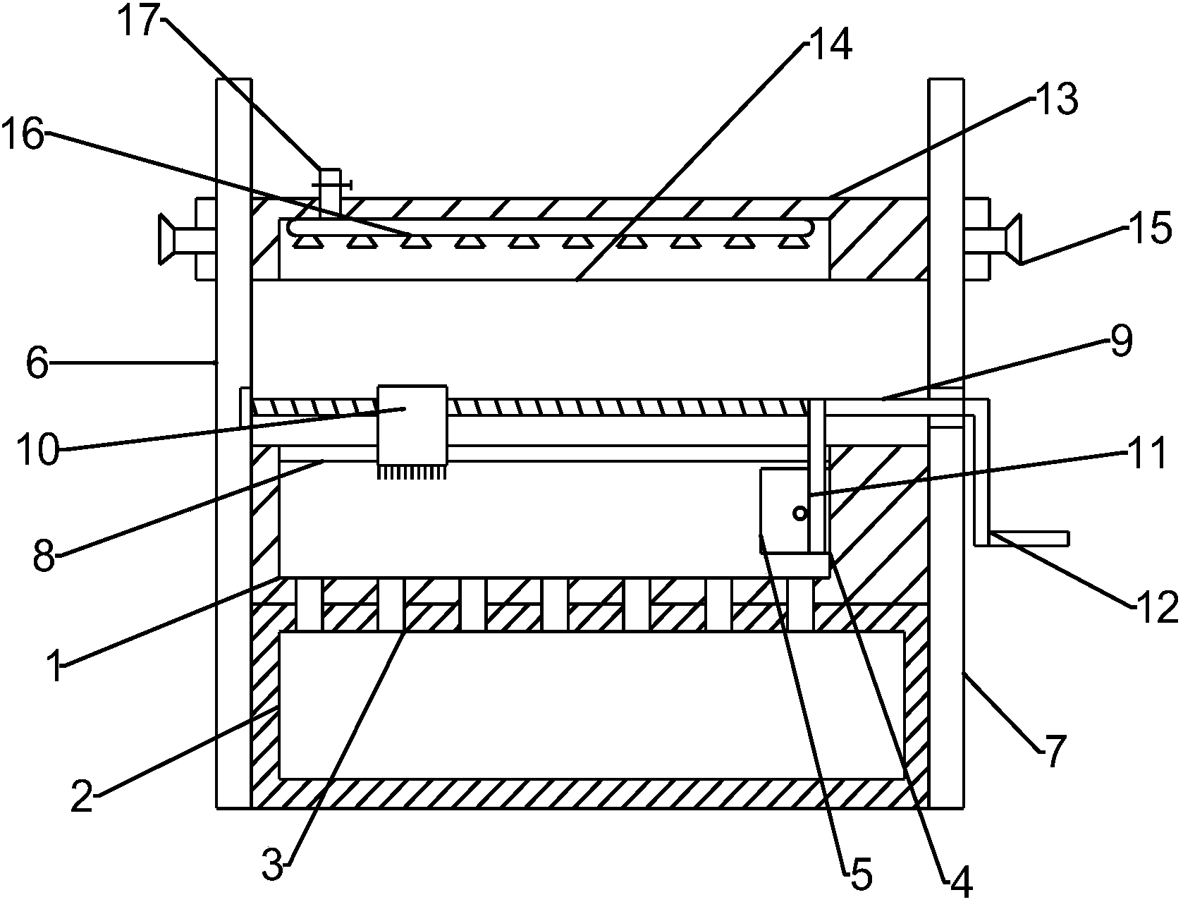
一种葡萄采摘装置
石河子大学
一种番茄果秧分离振动发生器
石河子大学
生物碱类化合物5‑羟基吡咯烷‑2‑酮在制备抗补体药物中的用途
石河子大学
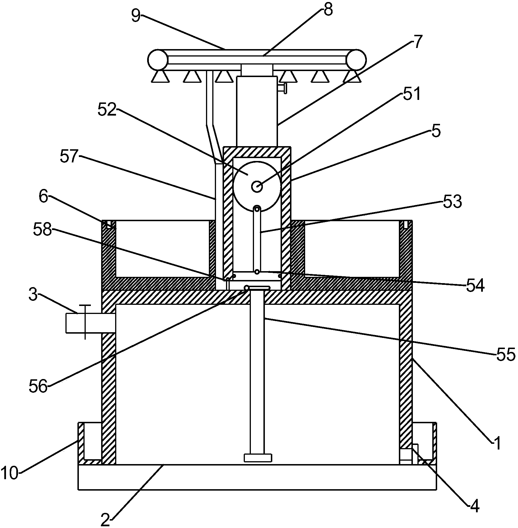
一种新型沉沙池
新疆农业大学
自走式全覆盖多目标红花花丝采摘机器人
新疆农业大学
大粒径骨料心墙沥青混凝土及其配合比优选方法
新疆农业大学
一种噁唑并[5,4-d]吡啶并[1,2-a]嘧啶酮类衍生物及其用途
中国科学院新疆理化技术研究所
基于腐植酸类材料螯合中微量元素的包膜缓释肥料及其制备方法和用途
石河子大学
一种滴灌春小麦节水高产的水肥管理方法
新疆农垦科学院
以取代喹啉或异喹啉酰肼吡啶-N-氧化物为配体的水相体系中的N-芳基化方法
石河子大学
一种杀虫剂制剂及其制备方法和在害虫防治中的应用
石河子大学
一种等离激元共振可调的Au-Ag合金纳米粒子的制备方法
石河子大学
浇冰机
石河子大学
一类萜酯化合物及其制备方法和用途
石河子大学
一种温度应用范围在-17℃~-42℃的节能环保型混合制冷剂
石河子大学
一种南疆冬枣促早熟的设施栽培方法
新疆农垦科学院
一种用于研究根系竞争策略的试验装置及方法
石河子大学
首页
上一页
4109
4110
4111
4112
4113
4114
4115
下一页
尾页
共16046页 转到
页