科创中国
问题分诊室
具身智能与智慧医疗融合创新产业
高性能装备制造产业
智能机器人全产业链产业
中医药产业
人工智能产业
新一代信息技术产业
作物产业
量子科技与先进制造产业
海洋装备产业
煤炭开采及煤化工产业
特殊钢产业
节能环保产业
低空经济产业
光电产业
汽车产业
新能源产业
新材料产业
“以竹代塑”
成果发布厅
新型电力系统
化学领域
现代纺织
低空经济
信息通信
智慧公路
煤炭开采及煤化工
中医药
智能机器人全产业链
海洋装备
新一代信息技术
量子科技与先进制造
人工智能
高性能装备制造
具身智能与智慧医疗融合创新
作物
科创地方
科创北京
科创天津
科创内蒙古
科创辽宁
科创河北
科创湖南
科创宁夏
科创广东
科创江苏
科创广西
科创重庆
科创山东
科创河南
科创福建
科创黑龙江
科创湖北
科创浙江
科创山西
科创资讯
科创头条
科协活动
通知公告
科技政策
技术经理人
科技服务团
资源中心
项目库
问题库
案例库
开源库
会议展览
品牌栏目
院士开讲
解码新质生产力
金融服务云课堂
企创云课堂
有问题想咨询
有成果想转化
我的交易
我的会议
我报名的路演会议
我的资讯
我的消息
我的动态
我的需求
我的成果
我的
个人资料编辑
退出登录
登录/注册
科创中国
需求发布
成果发布
科创案例库
揭榜挂帅
技术经理人
会议展览
科创联合体
科技服务团
科创资讯
科技政策
院士开讲
学术资源
城市站点
协作站点
搜索
问题库
项目库
开源库
English
我的交易
我的会议
我报名的路演会议
我的资讯
我的消息
我的动态
我的需求
我的成果
我的
个人资料编辑
退出登录
登录/注册
组织入驻
隐藏工作区
全国
在线展厅
切换展厅
全国
北京市
天津市
河北省
山西省
内蒙古
辽宁省
吉林省
黑龙江省
上海市
江苏省
浙江省
安徽省
福建省
江西省
山东省
河南省
湖北省
湖南省
广东省
广西
海南省
重庆市
四川省
贵州省
云南省
西藏
陕西省
甘肃省
青海省
宁夏
新疆
新疆兵团
路演活动
科技成果
参观
人数
0
0
0
0
0
0
0
点赞
人数
0
0
0
0
0
0
0
技术领域
全部
新兴行业
|
新基建
|
电子信息
|
高端产业
|
生物医药
|
石化与新材料
|
智能机械与光机电一体化
|
节能环保
|
新能源
|
现代农业
|
高端技术服务业
|
农林牧副渔
|
城建规划
|
文化创意
|
矿山工程
|
冶金工程
|
企业管理
|
知识产权
|
智库咨询
|
旅游休闲娱乐
|
企业发展服务
|
电子商务
|
纺织
|
其他
|
更多
中级视觉毒品图像识别方法
包头迈坦科技服务有限公司
一种高性能人脸特征点定位模型训练方法
包头迈坦科技服务有限公司
密檐式砖石古塔在地震激励下的复合监控理论研究
宁波市软件行业协会
铝电解槽输出端节能技术(HORR)
宁波市科技创新协会
季节性冰蓄冷与蒸发冷却复合节能空调技术
宁波市软件行业协会
数据驱动的棉纺质量智能控制技术及其产业化
宁波市软件行业协会
高性能绿色可回收环氧树脂的研发及其纺织结构复合材料的制备技术
宁波市软件行业协会
智能可穿戴多模态心电监测服装
宁波市软件行业协会
通中焦理疗项目——“个性化”多功能健康减肥腰带
包头迈坦科技服务有限公司
潜油永磁同步电机直驱螺杆泵采油系统
宁波市科技创新协会
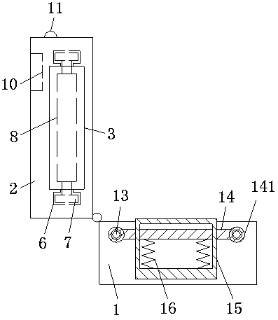
一种基于老人健康管理的红外线防摔监控装置及方法
华北理工大学
一种催化剂及利用该催化剂制备生物柴油的方法
华北理工大学
一种含碳铁水对液态出炉钢渣进行除铁改性的方法
华北理工大学
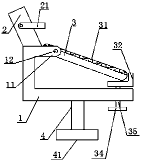
一种准确判定粗磨机钢球直径的方法
华北理工大学
一种原位合成Fe-FeAl2O4复合材料的制备方法
华北理工大学
化合物磷酸钠锂和磷酸钠锂非线性光学晶体及制备方法和用途
中国科学院新疆理化技术研究所
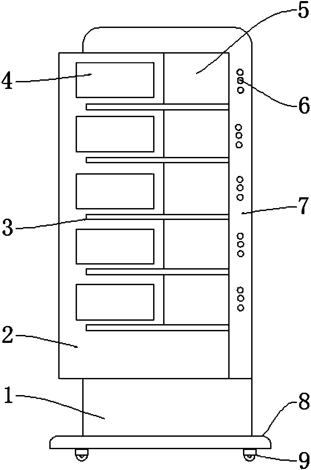
一种建筑墙体防火板材压合装置
华北理工大学
一枝蒿酮酸衍生物及其用途
中国科学院新疆理化技术研究所
柔性可穿戴多参量人体体征监测系统的产业化项目
包头迈坦科技服务有限公司
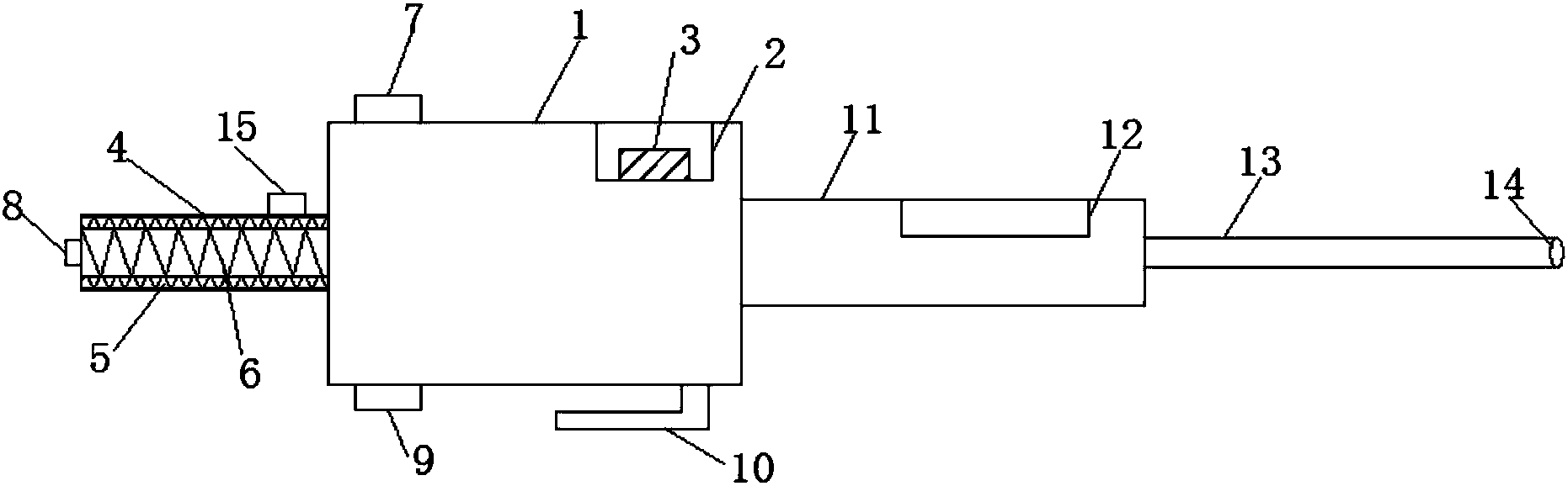
高产水率管式膜蒸馏膜装置及废水浓缩方法
南华大学
首页
上一页
4098
4099
4100
4101
4102
4103
4104
下一页
尾页
共16053页 转到
页