一种新型多媒体教学桌
咸宁职业技术学院
基于SIW结构的MIMO多腔蝶形滤波天线
宁波大学
一种装潢材料搅拌装置
咸宁职业技术学院
一种英语教学听写笔
咸宁职业技术学院
一种聚乙烯亚胺油水分离复合膜材料的制备方法
中国科学院新疆理化技术研究所
一种响应面法优化石榴花中ɑ-葡萄糖苷酶抑制剂的提取方法
中国科学院新疆理化技术研究所
具有过温保护与软启动特性的非带隙基准源
宁波大学
一种多相机定位与跟踪方法及系统
重庆摆渡谷科技发展有限公司
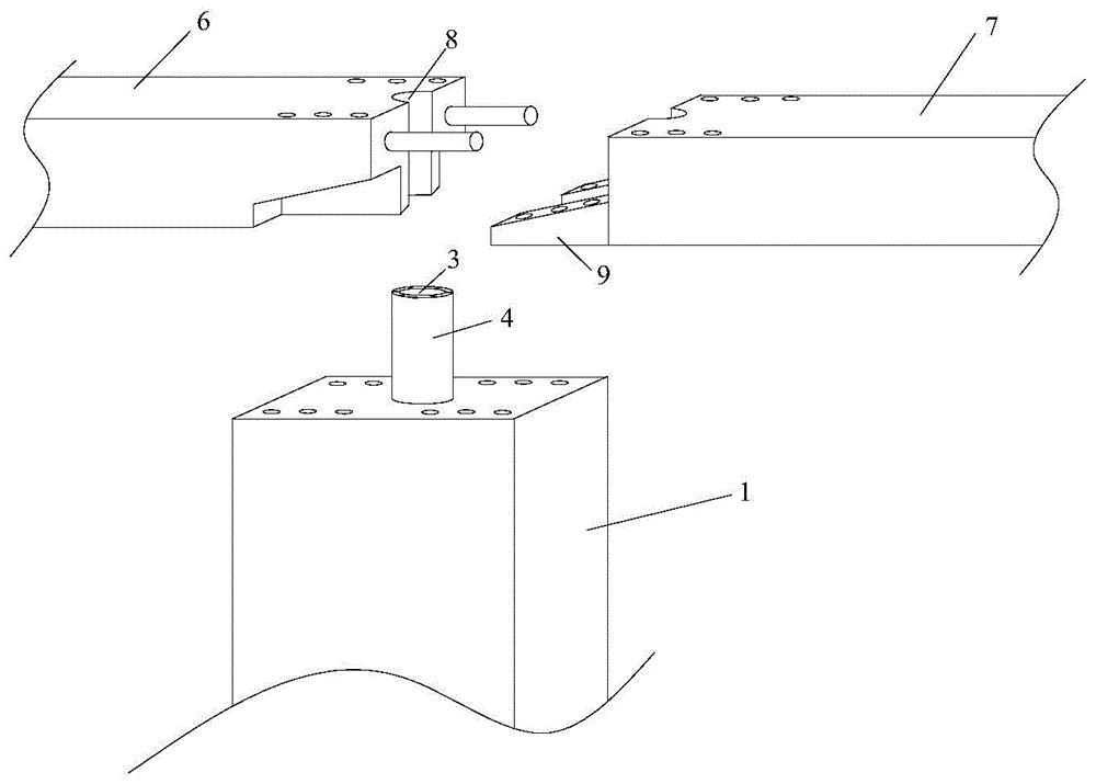
装配式预制柱和预制梁的对接结构及其对接施工方法
新疆农业大学
基于自动判别策略的低照度图像变化检测方法及装置
新疆大学
陆空多域智能机动装备
重庆摆渡谷科技发展有限公司
化合物硼硝酸铷和硼硝酸铷非线性光学晶体及制备方法和用途
中国科学院新疆理化技术研究所
一种用于MEMS电容型传感器的电容-电压变换电路
宁波大学
一种基于脉冲交替法的激光加工实时成像装置及方法
宁波大学
一种防试剂渗透纸基阵列的制备方法及其应用
中国科学院新疆理化技术研究所
一种半导体器件可靠性测试方法及装置
宁波大学
浆果系列产品精深加工关键技术
重庆摆渡谷科技发展有限公司
一种基于复杂功率分配的集成微流道的优化方法
宁波大学
一种单光子雪崩二极管的高压偏置电路
宁波大学
一种基于同轴硅通孔工艺的三维片上环形定向耦合器
宁波大学
共16004页 转到