科创中国
问题分诊室
具身智能与智慧医疗融合创新产业
高性能装备制造产业
智能机器人全产业链产业
中医药产业
人工智能产业
新一代信息技术产业
作物产业
量子科技与先进制造产业
海洋装备产业
煤炭开采及煤化工产业
特殊钢产业
节能环保产业
低空经济产业
光电产业
汽车产业
新能源产业
新材料产业
“以竹代塑”
成果发布厅
新型电力系统
化学领域
现代纺织
低空经济
信息通信
智慧公路
煤炭开采及煤化工
中医药
智能机器人全产业链
海洋装备
新一代信息技术
量子科技与先进制造
人工智能
高性能装备制造
具身智能与智慧医疗融合创新
作物
科创地方
科创北京
科创天津
科创内蒙古
科创辽宁
科创江苏
科创广西
科创广东
科创重庆
科创宁夏
科创河北
科创山东
科创河南
科创福建
科创湖南
科创黑龙江
科创湖北
科创浙江
科创山西
科创资讯
科创头条
科协活动
通知公告
科技政策
技术经理人
科技服务团
资源中心
项目库
问题库
案例库
开源库
学术资源
会议展览
品牌栏目
院士开讲
解码新质生产力
金融服务云课堂
企创云课堂
有问题想咨询
有成果想转化
我的交易
我的会议
我报名的路演会议
我的资讯
我的消息
我的动态
我的需求
我的成果
我的
个人资料编辑
退出登录
登录/注册
科创中国
需求发布
成果发布
科创案例库
揭榜挂帅
技术经理人
会议展览
科创联合体
科技服务团
科创资讯
科技政策
院士开讲
学术资源
城市站点
协作站点
搜索
问题库
项目库
开源库
English
我的交易
我的会议
我报名的路演会议
我的资讯
我的消息
我的动态
我的需求
我的成果
我的
个人资料编辑
退出登录
登录/注册
组织入驻
隐藏工作区
全国
在线展厅
切换展厅
全国
北京市
天津市
河北省
山西省
内蒙古
辽宁省
吉林省
黑龙江省
上海市
江苏省
浙江省
安徽省
福建省
江西省
山东省
河南省
湖北省
湖南省
广东省
广西
海南省
重庆市
四川省
贵州省
云南省
西藏
陕西省
甘肃省
青海省
宁夏
新疆
新疆兵团
路演活动
科技成果
参观
人数
0
0
0
0
0
0
0
点赞
人数
0
0
0
0
0
0
0
技术领域
全部
新兴行业
|
新基建
|
电子信息
|
高端产业
|
生物医药
|
石化与新材料
|
智能机械与光机电一体化
|
节能环保
|
新能源
|
现代农业
|
高端技术服务业
|
农林牧副渔
|
城建规划
|
文化创意
|
矿山工程
|
冶金工程
|
企业管理
|
知识产权
|
智库咨询
|
旅游休闲娱乐
|
企业发展服务
|
电子商务
|
纺织
|
其他
|
更多
化合物磷钼酸铷和磷钼酸铷非线性光学晶体及制备方法和用途
中国科学院新疆理化技术研究所
无人值守变电站电气设备智能监控与健康管理关键技术研究
宁波市软件行业协会
高力学性能形状记忆聚氨酯及智能骨科器械
宁波市科技创新协会
安检违禁品智能识别系统设计与研究
宁波市软件行业协会
变压器多参数在线监测与故障预警系统研发
宁波市软件行业协会
印染废水铁碳预处理、厌氧-好氧污泥减量生物处理工艺与末端处理关键技术
宁波市软件行业协会
多功效微生物肥料创制与应用技术
宁波市软件行业协会
陕北黄土塬区油田油泥减量化与无害化处理成套技术
宁波市软件行业协会
基于物联网技术的智能体征监测消防服的研发与推广
宁波市软件行业协会
储能锂电管理系统
杭州华塑科技技术股份有限公司
一种具有 GaN/纳米空腔的蓝光发光二极管的制备方法
宁波市软件行业协会
无人机飞行安全综合管控平台
宁波市软件行业协会
从驱虫斑鸠菊果实中制备紫铆素的方法
中国科学院新疆理化技术研究所
复合材料碳纤预制体织造技术及工艺装备
宁波市软件行业协会
铁铬液流电池长时储能技术
15330026525
异质结太阳能电池(HJT)用浆料的研发
宁波市软件行业协会
隔离悬挂移动种养装饰系统
湖北楚清渔耕农业开发有限公司
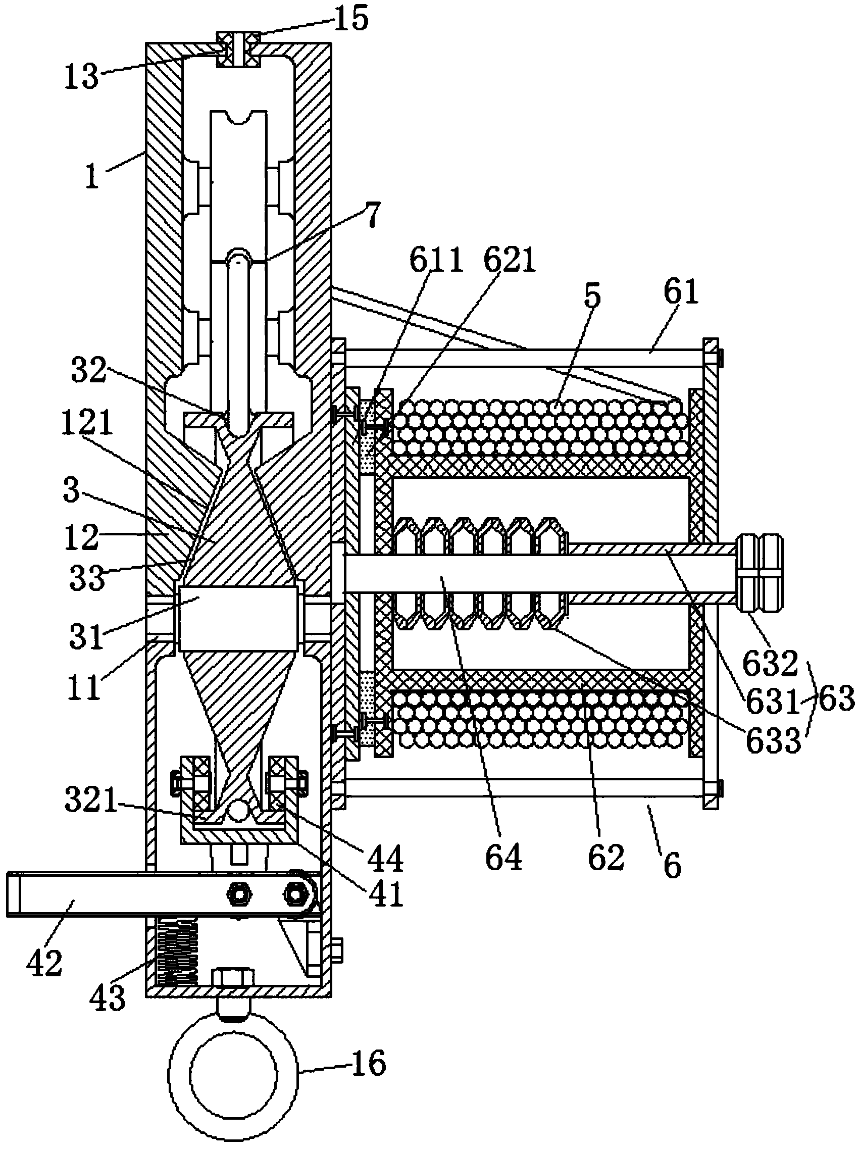
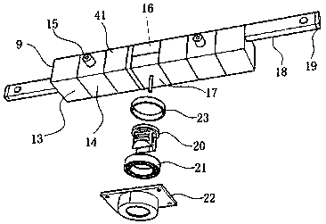
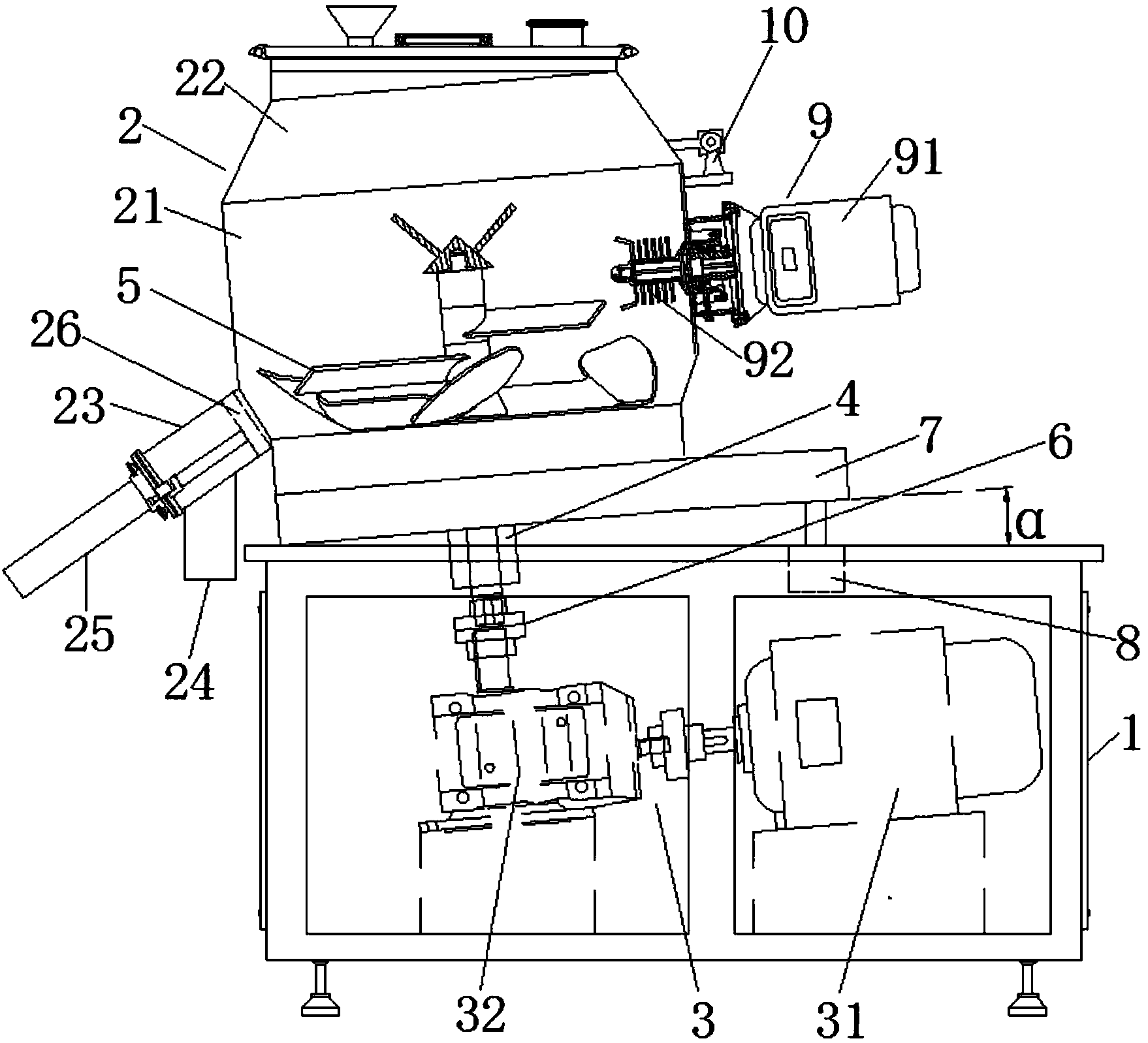
一种倾斜式汽车刹车片摩擦材料搅拌机
湖北赤壁赛飞摩擦材料有限公司
一种高空绳索缓降器
湖北赤壁赛飞摩擦材料有限公司
协能科技芯片级主动均衡技术
杭州协能科技股份有限公司
首页
上一页
4041
4042
4043
4044
4045
4046
4047
下一页
尾页
共15997页 转到
页