科创中国
问题分诊室
具身智能与智慧医疗融合创新产业
高性能装备制造产业
智能机器人全产业链产业
中医药产业
人工智能产业
新一代信息技术产业
作物产业
量子科技与先进制造产业
海洋装备产业
煤炭开采及煤化工产业
特殊钢产业
节能环保产业
低空经济产业
光电产业
汽车产业
新能源产业
新材料产业
“以竹代塑”
成果发布厅
新型电力系统
化学领域
现代纺织
低空经济
信息通信
智慧公路
煤炭开采及煤化工
中医药
智能机器人全产业链
海洋装备
新一代信息技术
量子科技与先进制造
人工智能
高性能装备制造
具身智能与智慧医疗融合创新
作物
科创地方
科创北京
科创天津
科创内蒙古
科创辽宁
科创河北
科创湖南
科创宁夏
科创广东
科创江苏
科创广西
科创重庆
科创山东
科创河南
科创福建
科创黑龙江
科创湖北
科创浙江
科创山西
科创资讯
科创头条
科协活动
通知公告
科技政策
技术经理人
科技服务团
资源中心
项目库
问题库
案例库
开源库
会议展览
品牌栏目
院士开讲
解码新质生产力
金融服务云课堂
企创云课堂
有问题想咨询
有成果想转化
我的交易
我的会议
我报名的路演会议
我的资讯
我的消息
我的动态
我的需求
我的成果
我的
个人资料编辑
退出登录
登录/注册
科创中国
需求发布
成果发布
科创案例库
揭榜挂帅
技术经理人
会议展览
科创联合体
科技服务团
科创资讯
科技政策
院士开讲
学术资源
城市站点
协作站点
搜索
问题库
项目库
开源库
English
我的交易
我的会议
我报名的路演会议
我的资讯
我的消息
我的动态
我的需求
我的成果
我的
个人资料编辑
退出登录
登录/注册
组织入驻
隐藏工作区
全国
在线展厅
切换展厅
全国
北京市
天津市
河北省
山西省
内蒙古
辽宁省
吉林省
黑龙江省
上海市
江苏省
浙江省
安徽省
福建省
江西省
山东省
河南省
湖北省
湖南省
广东省
广西
海南省
重庆市
四川省
贵州省
云南省
西藏
陕西省
甘肃省
青海省
宁夏
新疆
新疆兵团
路演活动
科技成果
参观
人数
0
0
0
0
0
0
0
点赞
人数
0
0
0
0
0
0
0
技术领域
全部
新兴行业
|
新基建
|
电子信息
|
高端产业
|
生物医药
|
石化与新材料
|
智能机械与光机电一体化
|
节能环保
|
新能源
|
现代农业
|
高端技术服务业
|
农林牧副渔
|
城建规划
|
文化创意
|
矿山工程
|
冶金工程
|
企业管理
|
知识产权
|
智库咨询
|
旅游休闲娱乐
|
企业发展服务
|
电子商务
|
纺织
|
其他
|
更多
颈椎病外科治疗的关键技术
徐州医科大学附属医院
基于胞外聚合物特性分析的污泥龄对复合式膜生物反应器中膜污染的影响与作用机理
徐州工程学院
商业情感对话机器人
起硕(天津)智能科技有限公司
临床简易指标在社区人群心血管危险因素评估的应用及干预
徐州市中心医院
微创纤维环缝合术在青少年腰椎间盘突出中的应用
徐州市中心医院
泛文本AI知识库构建基础平台
起硕(天津)智能科技有限公司
颈部微螺纹设计及自体血小板浓缩制品应用对种植体初期稳定性和边缘骨吸收的 影响
徐州市口腔医院
白藜芦醇对表皮鳞癌细胞增殖、凋亡的影响及Livin与Ki-67表达相关性研究
徐州市中医院
Necroptosis信号通路在缺血缺氧损伤后神经元中的作用机制研究
徐州市中心医院
炎症因子在免疫性血栓临床诊断、治疗中的意义
徐州市第一人民医院
不同喂养方式对极低/超低出生体重儿生长发育的影响
徐州市妇幼保健院
重点人群智能心理服务平台
起硕(天津)智能科技有限公司
双带线锚钉重建喙锁韧带治疗TossyIII型肩锁关节脱位的生物力学及临床应用
徐州市发明协会
宿迁地区健康新生儿甲状腺功能正常参考范围值的研究
南京鼓楼医院集团宿迁市人民医院
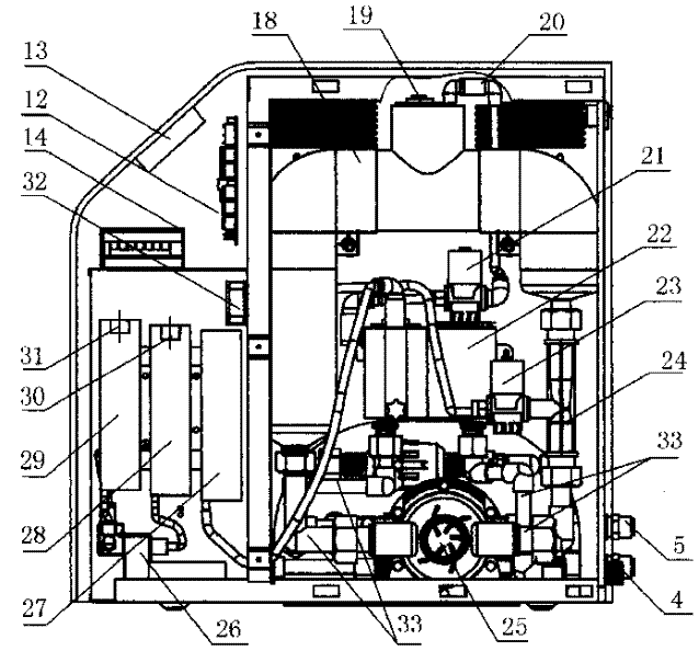
凌霄慧视
凌霄(天津)工业互联网有限公司
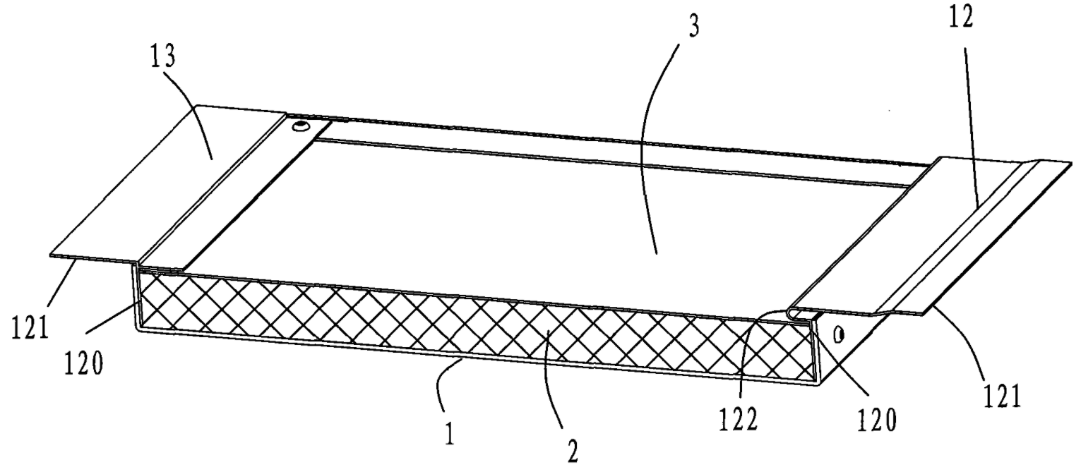
升降机吊笼进料门机械联锁装置
广东新裕华重工科技有限公司
垂直前置增压压射系统
广东宝洋科技有限公司
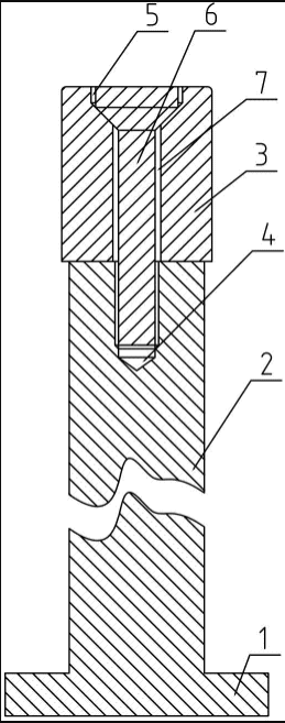
含油轴承自动整形装置
广东盈峰材料技术股份有限公司
窑炉防面板烟熏结构
广东摩德娜科技股份有限公司
一种助燃风加热节能装置及陶瓷烧成窑炉
广东摩德娜科技股份有限公司
首页
上一页
4009
4010
4011
4012
4013
4014
4015
下一页
尾页
共16046页 转到
页