一种地质钻探使用的钻杆
湖北捷丰科技股份有限公司
快速鉴别辐照后互补金属氧化物半导体传感器随机电码信号的方法
中国科学院新疆理化技术研究所
一种使用方便的凿岩钎具
湖北捷丰科技股份有限公司
一种固载化离子液体在催化合成羧酸正丁酯中的应用和方法
河北科技大学
离子液体、其应用和改性活性炭及其制备方法
河北科技大学
化合物硼酸锂钠双折射晶体及制备方法和用途
化合物硼酸锂钠双折射晶体及制备方法和用途
一种开关柜的磨合专机
浙江雅博自动化设备有限公司
异翅独尾草降糖有效部位的制备方法及其用途
中国科学院新疆理化技术研究所
一种热处理渗碳炉耐高温吊具
湖北捷丰科技股份有限公司
一种加工材料多使用灵活的调直机
湖北捷丰科技股份有限公司
溴硼酸钾非线性光学晶体及制备方法和用途
中国科学院新疆理化技术研究所
一种轴类工件车床支撑架
湖北捷丰科技股份有限公司
一种平锻镦头机
湖北捷丰科技股份有限公司
化合物溴硼酸铅钡和溴硼酸铅钡光学晶体及制备方法和用途
中国科学院新疆理化技术研究所
高低温相硼酸锶镉晶体及制备方法和用途
中国科学院新疆理化技术研究所
一种空气内循环式干燥箱
湖北嘉裕钎具股份有限公司
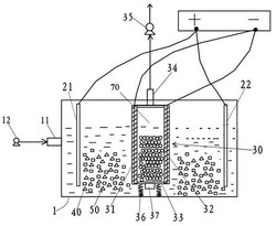
一种废水净化池
湖北嘉裕钎具股份有限公司
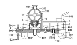
一种方便转动的搬运机械手
浙江麦信智能装备有限公司
一种氧化石墨烯接枝改性油酸皂、液压支架用浓缩液以及制备方法和应用
河北科技大学
一种可伸缩钻头能有效减震的电锤
湖北嘉裕钎具股份有限公司
共16046页 转到