智能冷却水余压回收节能技术
包头迈坦科技服务有限公司
零信任为基础的容器云安全
北京创业投资协会
一种负压式微风速标定装置的试验研究
嘉兴市科协
无重影多目立体图像摄取与重现系统
四川信息职业技术学院
一种固废基胶凝材料早强助剂的制备方法
河北科技大学
基于Chan算法的改进天牛须探索算法
河北科技大学
一种发电机微机励磁实验装置的研制
嘉兴市科协
一种反式双取代烯烃的制备方法
河北科技大学
正畸X线片及三维面相自动定点分析诊断系统项目
宁波市软件行业协会
一种双相催化剂及其制备方法和在木质纤维素生物质转化中的应用
河北科技大学
微生物连续发酵玉米秸秆水解液产电方法及电池
深圳博士创新技术转移有限公司
一种导电构件裂纹修复方法及装置
河北科技大学
一种电点火具仿真装置的研究与实现
嘉兴市科协
卒中患者上肢运动功能康复重塑系统
宁波市软件行业协会
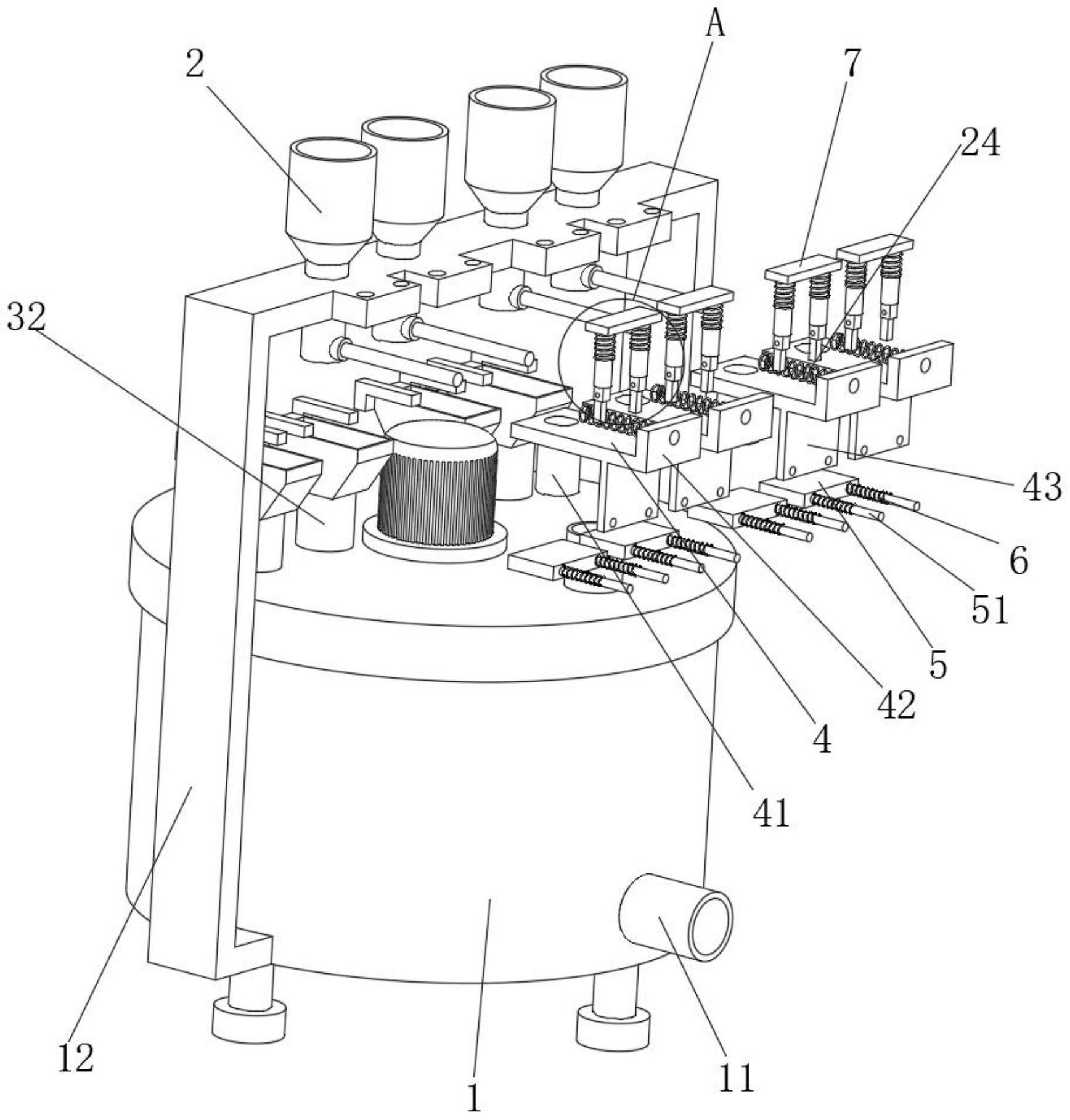
自动换网的润滑脂过滤装置
河北科技大学
润滑脂自动过滤装置
河北科技大学
一种生物基反应型阻燃剂、阻燃水性聚氨酯乳液及制备方法
河北科技大学
一种基于分光光度法的活芽孢含量高通量检测方法
深圳博士创新技术转移有限公司
一种低成本动态无功补偿装置及两级协同优化运行方法
嘉兴市科协
一株需氧型高效钙矿化芽孢杆菌及在混凝土修复上的应用
深圳博士创新技术转移有限公司
共16046页 转到