三锁定绕线轮装置
湖北帅力化工有限公司
三维无线传感器网络覆盖控制方法
中国科学院深圳先进技术研究院
脚踏升降导爆索多用手推运输车
湖北帅力化工有限公司
长效光催化纳米抗菌陶瓷及涂层技术
包头迈坦科技服务有限公司
跟踪音乐节拍跳舞的机器人
中国科学院深圳先进技术研究院
一种环保型普通棉线导爆索
湖北帅力化工有限公司
燃煤电站设备在线管理诊断系统
华润电力湖北有限公司
交互式语言学习系统及交互式语言学习方法
中国科学院深圳先进技术研究院
燃煤电站煤场三维动态盘煤管理系统
华润电力湖北有限公司
基于无人机技术的燃煤电站煤场管理装置
华润电力湖北有限公司
基于云架构的智慧物流平台研制与产业化
福州大学
生物助视系统
中国科学院深圳先进技术研究院
一种改性碳量子点/硅橡胶荧光复合材料的制备方法
常州大学
一种用于焦锑酸钠生产的碱液浓缩系统
湖北永乘实业有限公司
一种三氧化二锑的收集及输送系统
湖北永乘实业有限公司
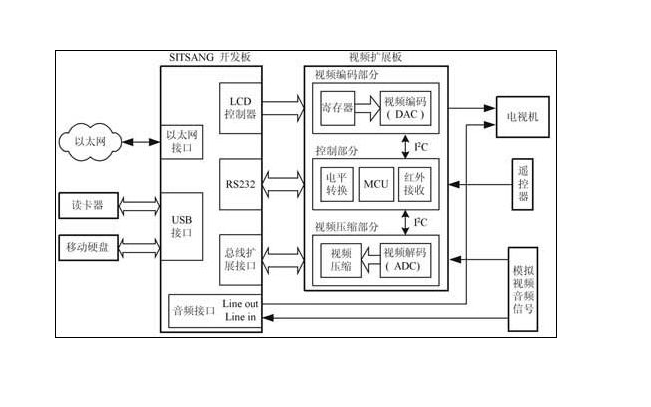
家庭影音云终端的研制与产业化
福州大学
一种用于焦锑酸钠生产的反应釜
湖北永乘实业有限公司
基于超声血流信息的动脉血压测量装置
中国科学院深圳先进技术研究院
铜导线辊式快速阳极氧化处理方法
常州大学
一种真空带式过滤机
湖北永乘实业有限公司
共16004页 转到