科创中国
问题分诊室
具身智能与智慧医疗融合创新产业
高性能装备制造产业
智能机器人全产业链产业
中医药产业
人工智能产业
新一代信息技术产业
作物产业
量子科技与先进制造产业
海洋装备产业
煤炭开采及煤化工产业
特殊钢产业
节能环保产业
低空经济产业
光电产业
汽车产业
新能源产业
新材料产业
“以竹代塑”
成果发布厅
新型电力系统
化学领域
现代纺织
低空经济
信息通信
智慧公路
煤炭开采及煤化工
中医药
智能机器人全产业链
海洋装备
新一代信息技术
量子科技与先进制造
人工智能
高性能装备制造
具身智能与智慧医疗融合创新
作物
科创地方
科创北京
科创天津
科创内蒙古
科创辽宁
科创江苏
科创广西
科创广东
科创重庆
科创宁夏
科创河北
科创山东
科创河南
科创福建
科创湖南
科创黑龙江
科创湖北
科创浙江
科创山西
科创资讯
科创头条
科协活动
通知公告
科技政策
技术经理人
科技服务团
资源中心
项目库
问题库
案例库
开源库
学术资源
会议展览
品牌栏目
院士开讲
解码新质生产力
金融服务云课堂
企创云课堂
有问题想咨询
有成果想转化
我的交易
我的会议
我报名的路演会议
我的资讯
我的消息
我的动态
我的需求
我的成果
我的
个人资料编辑
退出登录
登录/注册
科创中国
需求发布
成果发布
科创案例库
揭榜挂帅
技术经理人
会议展览
科创联合体
科技服务团
科创资讯
科技政策
院士开讲
学术资源
城市站点
协作站点
搜索
问题库
项目库
开源库
English
我的交易
我的会议
我报名的路演会议
我的资讯
我的消息
我的动态
我的需求
我的成果
我的
个人资料编辑
退出登录
登录/注册
组织入驻
隐藏工作区
全国
在线展厅
切换展厅
全国
北京市
天津市
河北省
山西省
内蒙古
辽宁省
吉林省
黑龙江省
上海市
江苏省
浙江省
安徽省
福建省
江西省
山东省
河南省
湖北省
湖南省
广东省
广西
海南省
重庆市
四川省
贵州省
云南省
西藏
陕西省
甘肃省
青海省
宁夏
新疆
新疆兵团
路演活动
科技成果
参观
人数
0
0
0
0
0
0
0
点赞
人数
0
0
0
0
0
0
0
技术领域
全部
新兴行业
|
新基建
|
电子信息
|
高端产业
|
生物医药
|
石化与新材料
|
智能机械与光机电一体化
|
节能环保
|
新能源
|
现代农业
|
高端技术服务业
|
农林牧副渔
|
城建规划
|
文化创意
|
矿山工程
|
冶金工程
|
企业管理
|
知识产权
|
智库咨询
|
旅游休闲娱乐
|
企业发展服务
|
电子商务
|
纺织
|
其他
|
更多
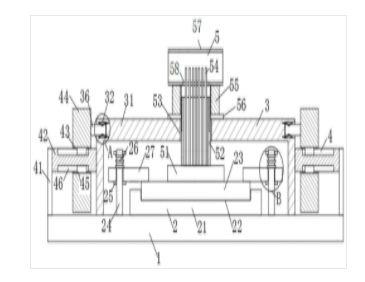
调零和校准精确度高的变压器中性点监测仪
国网新疆电力有限公司电力科学研究院
一种用于MEMS传感器芯片的封装结构
广东省科学院佛山产业技术研究院有限公司
一种用于高处的便携式变压器中性点监测装置
国网新疆电力有限公司电力科学研究院
旋转式传感器芯片阵列盘及使用其的智能可穿戴手表
中国科学院深圳先进技术研究院
一种旱区碱土种植耐盐饲草的方法
中国科学院新疆生态与地理研究所
一种5G通信用铁氧体材料及其制备方法
广东省科学院佛山产业技术研究院有限公司
生化指标监测的可穿戴设备
中国科学院深圳先进技术研究院
半直驱直流风力发电机组及其控制方法及设备
新疆金风科技股份有限公司
风电机组的应力预测的方法、装置、存储介质和系统
新疆金风科技股份有限公司
一种用于直接测量多卡效应的装置
广东省科学院佛山产业技术研究院有限公司
监测变桨电机温度异常的方法和装置
新疆金风科技股份有限公司
复合材料体系内部界面热阻确定方法
中国科学院深圳先进技术研究院
一种沙土地核桃林下林、粮、草和菜间套作方法
中国科学院新疆生态与地理研究所
一种表面功能化的中空纤维膜及其等离子体制备方法
中国科学院深圳先进技术研究院
风力发电机组的故障预测方法、相应的装置及电子设备
新疆金风科技股份有限公司
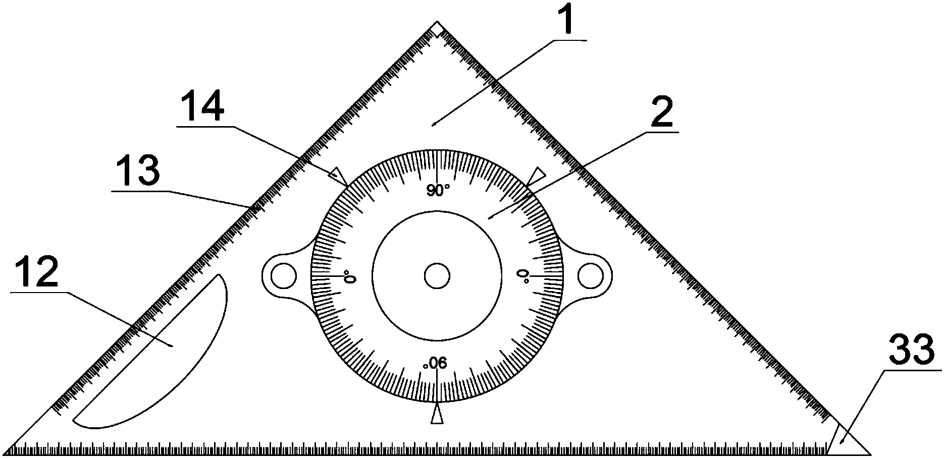
一种用于边坡稳定性研究用模拟降雨装置
重庆建筑科技职业学院
一种装配式装饰的墙板连接结构
重庆建筑科技职业学院
导热凝胶材料级配方案优化方法
中国科学院深圳先进技术研究院
基于T型分数阶积分电路模块的0.3阶含y方Lorenz型混沌系统电路
国网新疆电力公司电力科学研究院
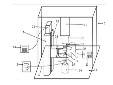
一种建筑施工用测量设备
重庆建筑科技职业学院
首页
上一页
3712
3713
3714
3715
3716
3717
3718
下一页
尾页
共16004页 转到
页