一种拍照方法、相关设备及计算机可读存储介质
重庆摆渡谷科技发展有限公司
一种风力机机械电磁复合主传动系统
河海大学
铑配合物基聚合物胶束及其制备方法、癌症中的应用
南华大学
一种具有龙骨结构的风力机叶片
河海大学
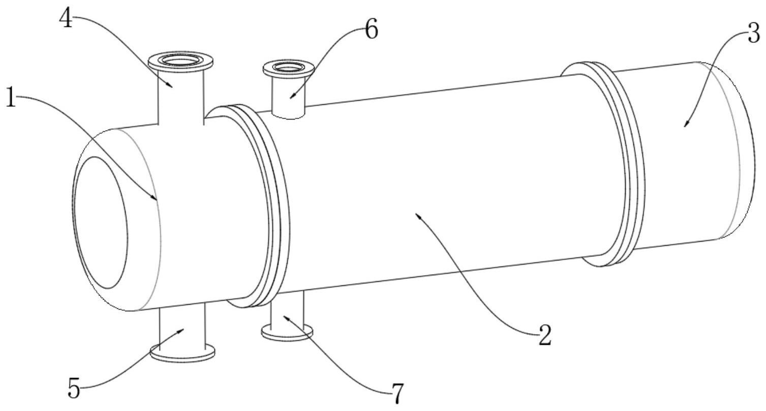
一种U型换热管
南华大学
基于微生物加固工艺的改性纤维复合材料及其制备方法
南华大学
生成目标图像数据的方法、电子装置,和非暂时性计算机可读介质
重庆摆渡谷科技发展有限公司
一种共轴异向旋转的双风轮垂直轴风力发电机
河海大学
微藻合成生物技术与绿色生物制造
青岛檬豆网络科技有限公司
基于服务的管理框架的接入控制
重庆摆渡谷科技发展有限公司
一种新型水平轴风力机叶片除冰装置
河海大学
关节镜入路中导针与三角形手术刀带开关的一体化器械
哈尔滨医科大学
一种基于包含有中药挥发油的微囊的防疫配件及其佩件
哈尔滨医科大学
单细胞拉曼分选系列仪器
青岛檬豆网络科技有限公司
一种通过多重约束建立图像模型穿刺消融路径的方法
哈尔滨医科大学
从红肉桃中分离提纯花色素苷的方法
宁波益加科创服务有限公司
关于“一种高湿污泥的热解方法和装置”发明专利转让
南京工业大学
一种肝癌介入规划信息化系统
哈尔滨医科大学
一种基于2D和3D造影图像转换的栓塞放置点定位方法
哈尔滨医科大学
一种基于运动补偿的消融辅助导航方法
哈尔滨医科大学
共15999页 转到