科创中国
问题分诊室
具身智能与智慧医疗融合创新产业
高性能装备制造产业
智能机器人全产业链产业
中医药产业
人工智能产业
新一代信息技术产业
作物产业
量子科技与先进制造产业
海洋装备产业
煤炭开采及煤化工产业
特殊钢产业
节能环保产业
低空经济产业
光电产业
汽车产业
新能源产业
新材料产业
“以竹代塑”
成果发布厅
新型电力系统
化学领域
现代纺织
低空经济
信息通信
智慧公路
煤炭开采及煤化工
中医药
智能机器人全产业链
海洋装备
新一代信息技术
量子科技与先进制造
人工智能
高性能装备制造
具身智能与智慧医疗融合创新
作物
科创地方
科创北京
科创天津
科创内蒙古
科创辽宁
科创河北
科创湖南
科创宁夏
科创广东
科创江苏
科创广西
科创重庆
科创山东
科创河南
科创福建
科创黑龙江
科创湖北
科创浙江
科创山西
科创资讯
科创头条
科协活动
通知公告
科技政策
技术经理人
科技服务团
资源中心
项目库
问题库
案例库
开源库
会议展览
品牌栏目
院士开讲
解码新质生产力
金融服务云课堂
企创云课堂
有问题想咨询
有成果想转化
我的交易
我的会议
我报名的路演会议
我的资讯
我的消息
我的动态
我的需求
我的成果
我的
个人资料编辑
退出登录
登录/注册
科创中国
需求发布
成果发布
科创案例库
揭榜挂帅
技术经理人
会议展览
科创联合体
科技服务团
科创资讯
科技政策
院士开讲
学术资源
城市站点
协作站点
搜索
问题库
项目库
开源库
English
我的交易
我的会议
我报名的路演会议
我的资讯
我的消息
我的动态
我的需求
我的成果
我的
个人资料编辑
退出登录
登录/注册
组织入驻
隐藏工作区
全国
在线展厅
切换展厅
全国
北京市
天津市
河北省
山西省
内蒙古
辽宁省
吉林省
黑龙江省
上海市
江苏省
浙江省
安徽省
福建省
江西省
山东省
河南省
湖北省
湖南省
广东省
广西
海南省
重庆市
四川省
贵州省
云南省
西藏
陕西省
甘肃省
青海省
宁夏
新疆
新疆兵团
路演活动
科技成果
参观
人数
0
0
0
0
0
0
0
点赞
人数
0
0
0
0
0
0
0
技术领域
全部
新兴行业
|
新基建
|
电子信息
|
高端产业
|
生物医药
|
石化与新材料
|
智能机械与光机电一体化
|
节能环保
|
新能源
|
现代农业
|
高端技术服务业
|
农林牧副渔
|
城建规划
|
文化创意
|
矿山工程
|
冶金工程
|
企业管理
|
知识产权
|
智库咨询
|
旅游休闲娱乐
|
企业发展服务
|
电子商务
|
纺织
|
其他
|
更多
一种基于铝的用于烷基化反应的催化剂的制备方法
温州大学
一种小麦种子高分子量谷蛋白亚基检测样品的制备方法
宁波益加科创服务有限公司
一种抗菌型低表面能海洋防污涂料组合物
温州大学
微波催化干法脱硫技术
包头迈坦科技服务有限公司
分离的肾细胞及其用途
重庆摆渡谷科技发展有限公司
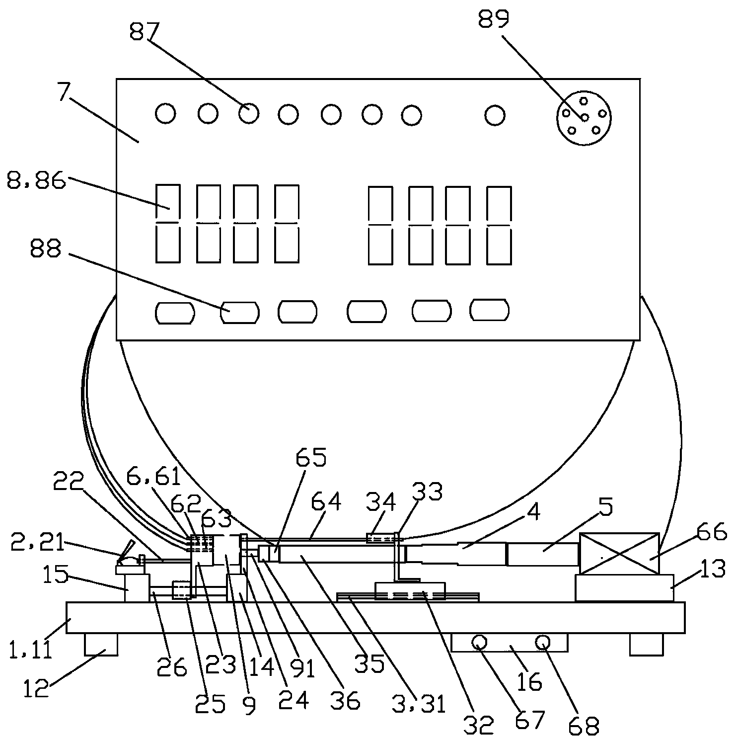
操作装置和具有这样操作装置的电气设备
重庆摆渡谷科技发展有限公司
高效分泌抗犬细小病毒单克隆抗体杂交瘤细胞A135株
宁波益加科创服务有限公司
一种基于铁的用于烷基化反应的催化剂的制备方法
温州大学
一种具有磁热性能的超疏水防覆冰涂料及其制备方法
温州大学
VOCs 有机化工废气治理技术应用案例介绍
包头迈坦科技服务有限公司
多功能两亲性低表面能的聚合物及其制备方法与应用
温州大学
医用装置用床
重庆摆渡谷科技发展有限公司
一种具有抗菌防污性能的两亲性聚氨酯及其制备方法和应用
温州大学
一种两亲性含氟梯度共聚物及其制备方法与应用
温州大学
工业VOCs光分化(LQP)技术及成套装备
包头迈坦科技服务有限公司
一种高风险人员等级评估及串行混合预警系统以及方法
河北工程大学
一种具有热能除冰性能的超光滑防覆冰涂层
温州大学
具有耐酸性和高还原活性的副干酪乳杆菌FM-LP-4及其用途
宁波益加科创服务有限公司
固废污油泥资源再利用技术
包头迈坦科技服务有限公司
一种超光滑自洁涂层及其制备方法
温州大学
首页
上一页
3687
3688
3689
3690
3691
3692
3693
下一页
尾页
共16046页 转到
页