科创中国
问题分诊室
具身智能与智慧医疗融合创新产业
高性能装备制造产业
智能机器人全产业链产业
中医药产业
人工智能产业
新一代信息技术产业
作物产业
量子科技与先进制造产业
海洋装备产业
煤炭开采及煤化工产业
特殊钢产业
节能环保产业
低空经济产业
光电产业
汽车产业
新能源产业
新材料产业
“以竹代塑”
成果发布厅
新型电力系统
化学领域
现代纺织
低空经济
信息通信
智慧公路
煤炭开采及煤化工
中医药
智能机器人全产业链
海洋装备
新一代信息技术
量子科技与先进制造
人工智能
高性能装备制造
具身智能与智慧医疗融合创新
作物
科创地方
科创北京
科创天津
科创内蒙古
科创辽宁
科创河北
科创湖南
科创宁夏
科创广东
科创江苏
科创广西
科创重庆
科创山东
科创河南
科创福建
科创黑龙江
科创湖北
科创浙江
科创山西
科创资讯
科创头条
科协活动
通知公告
科技政策
技术经理人
科技服务团
资源中心
项目库
问题库
案例库
开源库
会议展览
品牌栏目
院士开讲
解码新质生产力
金融服务云课堂
企创云课堂
有问题想咨询
有成果想转化
我的交易
我的会议
我报名的路演会议
我的资讯
我的消息
我的动态
我的需求
我的成果
我的
个人资料编辑
退出登录
登录/注册
科创中国
需求发布
成果发布
科创案例库
揭榜挂帅
技术经理人
会议展览
科创联合体
科技服务团
科创资讯
科技政策
院士开讲
学术资源
城市站点
协作站点
搜索
问题库
项目库
开源库
English
我的交易
我的会议
我报名的路演会议
我的资讯
我的消息
我的动态
我的需求
我的成果
我的
个人资料编辑
退出登录
登录/注册
组织入驻
隐藏工作区
全国
在线展厅
切换展厅
全国
北京市
天津市
河北省
山西省
内蒙古
辽宁省
吉林省
黑龙江省
上海市
江苏省
浙江省
安徽省
福建省
江西省
山东省
河南省
湖北省
湖南省
广东省
广西
海南省
重庆市
四川省
贵州省
云南省
西藏
陕西省
甘肃省
青海省
宁夏
新疆
新疆兵团
路演活动
科技成果
参观
人数
0
0
0
0
0
0
0
点赞
人数
0
0
0
0
0
0
0
技术领域
全部
新兴行业
|
新基建
|
电子信息
|
高端产业
|
生物医药
|
石化与新材料
|
智能机械与光机电一体化
|
节能环保
|
新能源
|
现代农业
|
高端技术服务业
|
农林牧副渔
|
城建规划
|
文化创意
|
矿山工程
|
冶金工程
|
企业管理
|
知识产权
|
智库咨询
|
旅游休闲娱乐
|
企业发展服务
|
电子商务
|
纺织
|
其他
|
更多
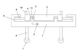
一种车辆驾驶智能辅助系统
常州工学院
一种农产品储藏监测智能托盘装置
宁波益加科创服务有限公司
500kV海底电缆封堵技术研究与实践
宁波市软件行业协会
舵机驱动的小型回转关节模块
广东省科学院佛山产业技术研究院有限公司
甲醇气相催化氟化法制备电子级氟甲烷关键技术
科学技术部火炬高技术产业开发中心技术市场与成果转化处
一种全自动马赛克铺贴设备
广东省科学院佛山产业技术研究院有限公司
一种降低食用菌工厂接种污染率的接种台
宁波益加科创服务有限公司
高端装备中小型高温合金结构件成型技术
宁波市软件行业协会
一种马赛克自动铺贴机
广东省科学院佛山产业技术研究院有限公司
助力马铃薯主食化技术
包头迈坦科技服务有限公司
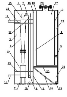
一种基于震动响应的桩基自动检测设备
常州工学院
一种移动机器人平台
广东省科学院佛山产业技术研究院有限公司
电缆阻燃性能仿真优化及快速检验系统
宁波市软件行业协会
一种模块化多足机器人
广东省科学院佛山产业技术研究院有限公司
光动力抗菌抗病毒材料的研发和产业化
包头迈坦科技服务有限公司
铸造废砂全自动再生成套技术装备研制及应用
科学技术部火炬高技术产业开发中心技术市场与成果转化处
一种机器人多功能实训工作站
广东省科学院佛山产业技术研究院有限公司
一种仿人机器人 一种多机器人教学实训平台
广东省科学院佛山产业技术研究院有限公司
基于纳米复合技术改进聚丙烯绝缘高压直流电缆关键技术研究
宁波市软件行业协会
一种机器人前臂及手掌运动机构
广东省科学院佛山产业技术研究院有限公司
首页
上一页
3636
3637
3638
3639
3640
3641
3642
下一页
尾页
共16046页 转到
页