科创中国
问题分诊室
具身智能与智慧医疗融合创新产业
高性能装备制造产业
智能机器人全产业链产业
中医药产业
人工智能产业
新一代信息技术产业
作物产业
量子科技与先进制造产业
海洋装备产业
煤炭开采及煤化工产业
特殊钢产业
节能环保产业
低空经济产业
光电产业
汽车产业
新能源产业
新材料产业
“以竹代塑”
成果发布厅
新型电力系统
化学领域
现代纺织
低空经济
信息通信
智慧公路
煤炭开采及煤化工
中医药
智能机器人全产业链
海洋装备
新一代信息技术
量子科技与先进制造
人工智能
高性能装备制造
具身智能与智慧医疗融合创新
作物
科创地方
科创北京
科创天津
科创内蒙古
科创辽宁
科创江苏
科创广西
科创广东
科创重庆
科创宁夏
科创河北
科创山东
科创河南
科创福建
科创湖南
科创黑龙江
科创湖北
科创浙江
科创山西
科创资讯
科创头条
科协活动
通知公告
科技政策
技术经理人
科技服务团
资源中心
项目库
问题库
案例库
开源库
学术资源
会议展览
品牌栏目
院士开讲
解码新质生产力
金融服务云课堂
企创云课堂
有问题想咨询
有成果想转化
我的交易
我的会议
我报名的路演会议
我的资讯
我的消息
我的动态
我的需求
我的成果
我的
个人资料编辑
退出登录
登录/注册
科创中国
需求发布
成果发布
科创案例库
揭榜挂帅
技术经理人
会议展览
科创联合体
科技服务团
科创资讯
科技政策
院士开讲
学术资源
城市站点
协作站点
搜索
问题库
项目库
开源库
English
我的交易
我的会议
我报名的路演会议
我的资讯
我的消息
我的动态
我的需求
我的成果
我的
个人资料编辑
退出登录
登录/注册
组织入驻
隐藏工作区
全国
在线展厅
切换展厅
全国
北京市
天津市
河北省
山西省
内蒙古
辽宁省
吉林省
黑龙江省
上海市
江苏省
浙江省
安徽省
福建省
江西省
山东省
河南省
湖北省
湖南省
广东省
广西
海南省
重庆市
四川省
贵州省
云南省
西藏
陕西省
甘肃省
青海省
宁夏
新疆
新疆兵团
路演活动
科技成果
参观
人数
0
0
0
0
0
0
0
点赞
人数
0
0
0
0
0
0
0
技术领域
全部
新兴行业
|
新基建
|
电子信息
|
高端产业
|
生物医药
|
石化与新材料
|
智能机械与光机电一体化
|
节能环保
|
新能源
|
现代农业
|
高端技术服务业
|
农林牧副渔
|
城建规划
|
文化创意
|
矿山工程
|
冶金工程
|
企业管理
|
知识产权
|
智库咨询
|
旅游休闲娱乐
|
企业发展服务
|
电子商务
|
纺织
|
其他
|
更多
1000MW超超临界汽轮机改造技术研发及工程应用
宁波市软件行业协会
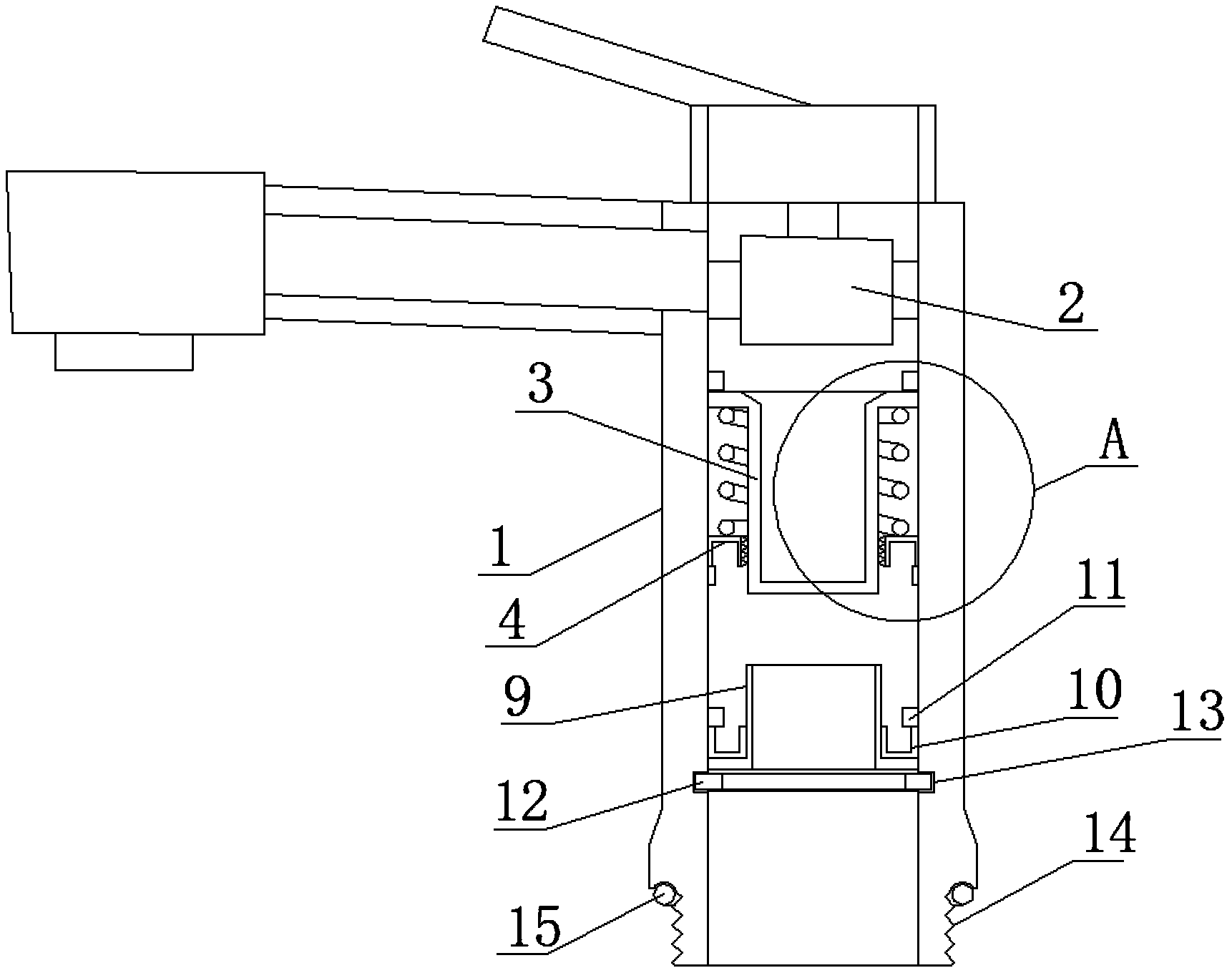
一种二极管引脚焊接用位置精确辅助装置
河北工程大学
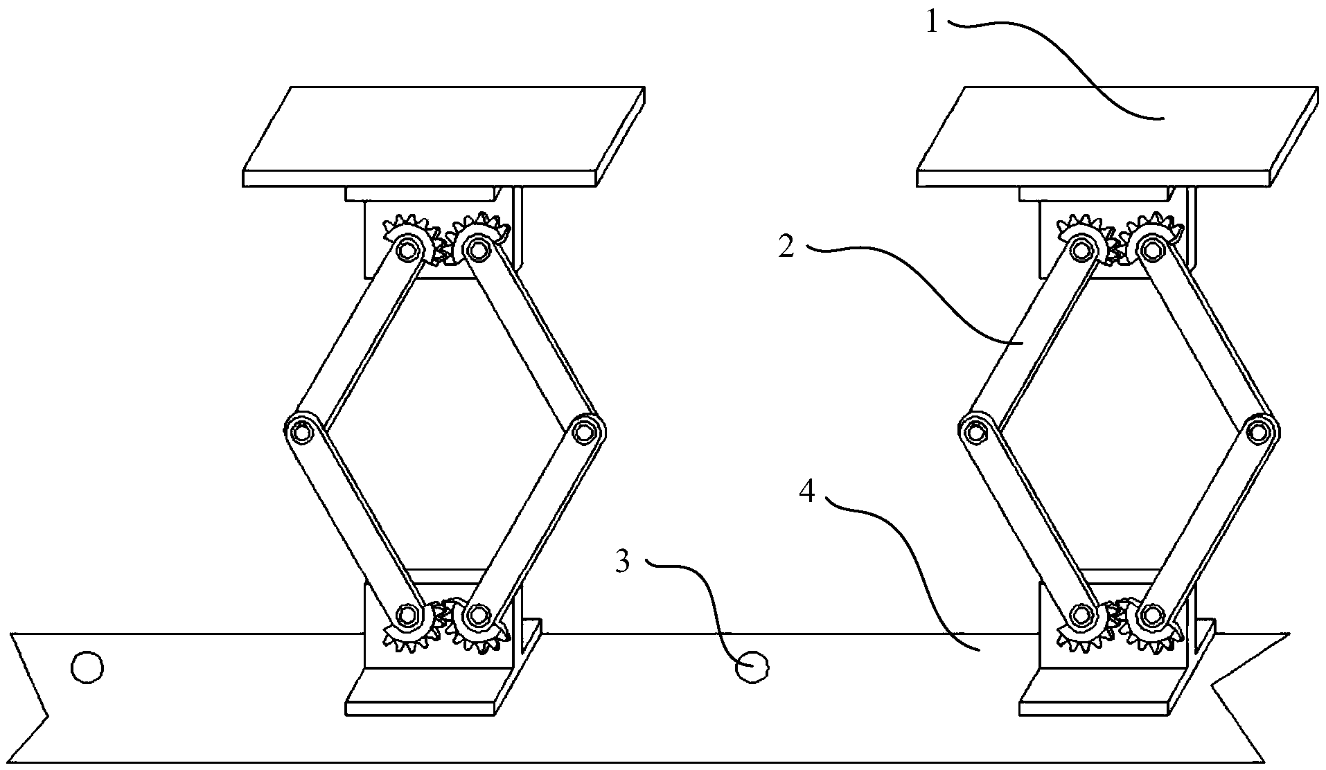
一种滤水水龙头
湖南高速铁路职业技术学院
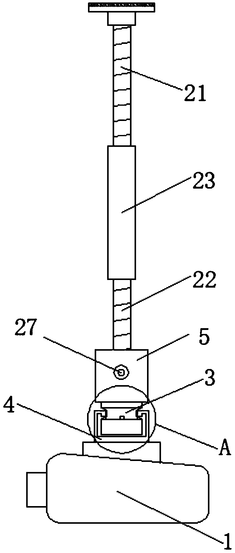
水位、水质的监测终端
常州工学院
一种英语教学用便于调节的投影仪
湖南高速铁路职业技术学院
一种用片麻岩废石和废弃光伏板制备高性能混凝土的方法
河北工程大学
一种道路桥梁施工用防护装置
湖南高速铁路职业技术学院
降低输出开关毛刺的数模转换器及方法
常州工学院
660MW超超临界高位布置汽轮机 关键技术研究及应用
宁波市软件行业协会
一种建筑墙面板及其制作方法
湖南高速铁路职业技术学院
采用基于PCA的低维混沌序列改进算法的图像加密方法
黑龙江大学
一种桩基位移监测装置
常州工学院
电源智能记录系统及方法
中国科学院深圳先进技术研究院
有限空间设备精准安装技术
宁波市软件行业协会
一种合理对农业资源利用的秸秆还田装置
黑龙江大学
注射成型辅助脱模装置
常州工学院
面向轮胎制造的物流分拣机器人及自动化成套装备
宁波市软件行业协会
一种三足机器人系统
中国科学院深圳先进技术研究院
能够调节高度的电动车动态无线充电导轨
黑龙江大学
轨道车辆用水性聚氨酯面漆及中涂漆规模化制备与应用
宁波市软件行业协会
首页
上一页
3544
3545
3546
3547
3548
3549
3550
下一页
尾页
共15998页 转到
页