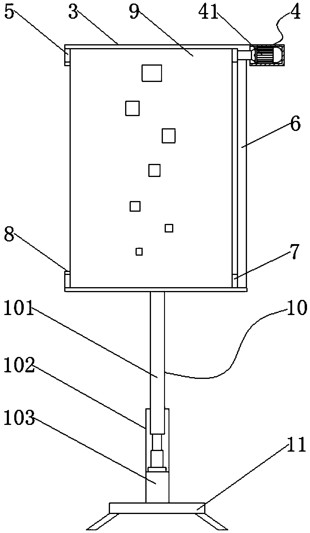
用于水泥生产的散热装置
新疆天业(集团)有限公司,天伟水泥有限公司,天能水泥有限公司,天辰水泥有限责任公司
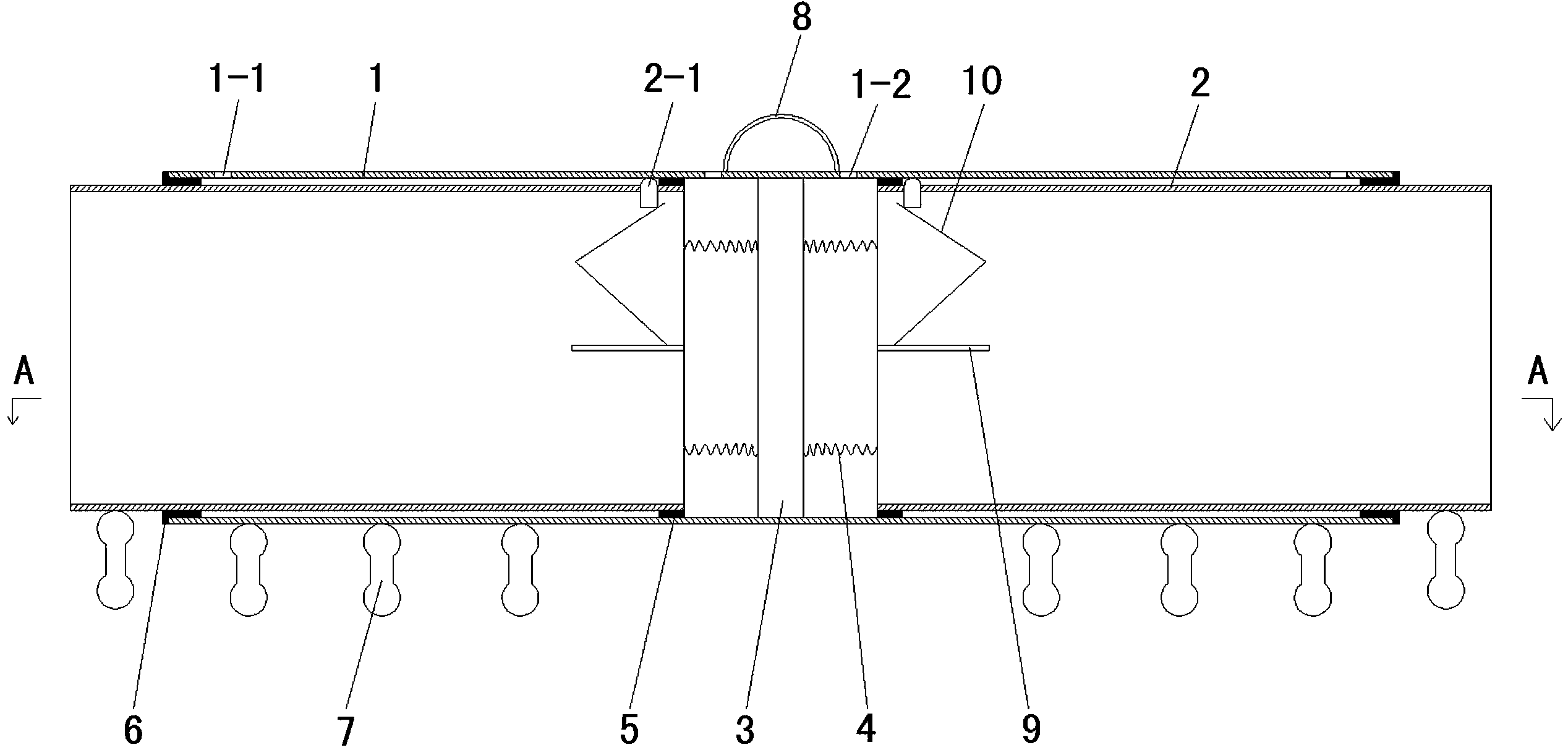
一种全废渣制水泥生产线回转窑窑头密封装置
新疆天业(集团)有限公司,天伟水泥有限公司,天能水泥有限公司,天辰水泥有限责任公司
一种负载药物的血管支架及其制备方法
哈尔滨医科大学
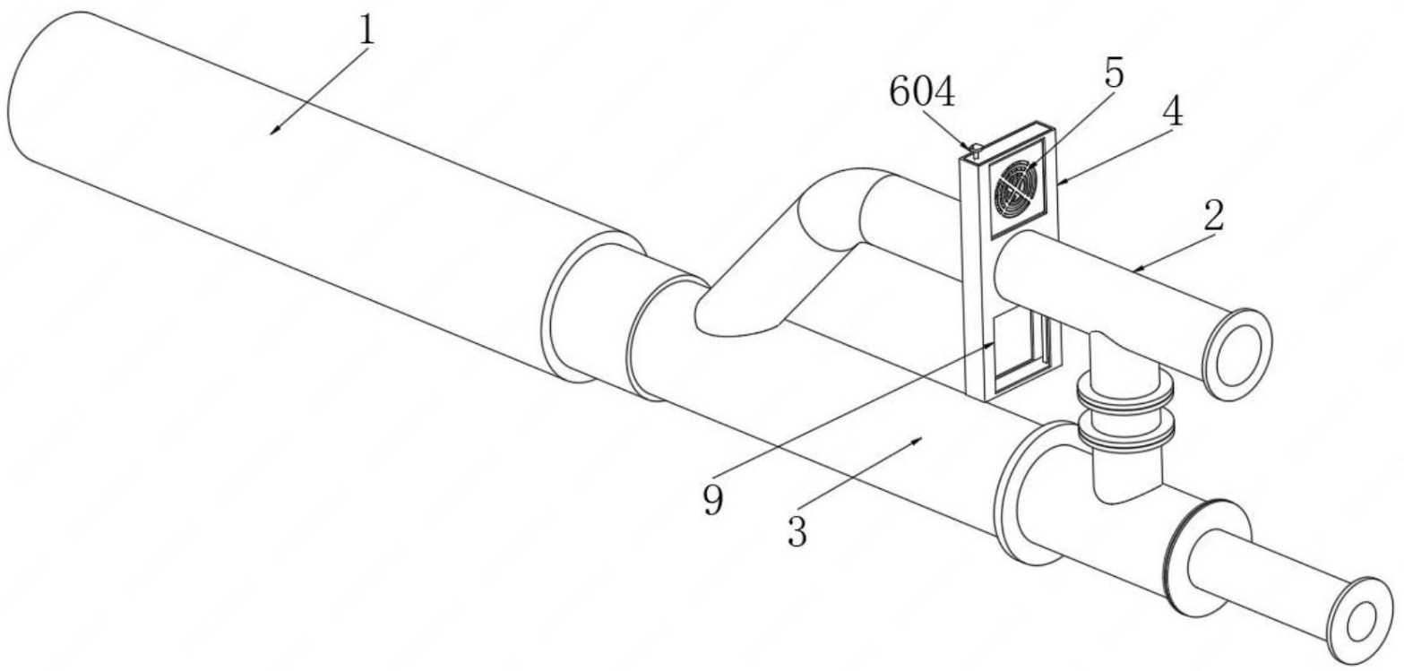
防堵塞型经鼻咽采样气体分压监测导管
哈尔滨医科大学
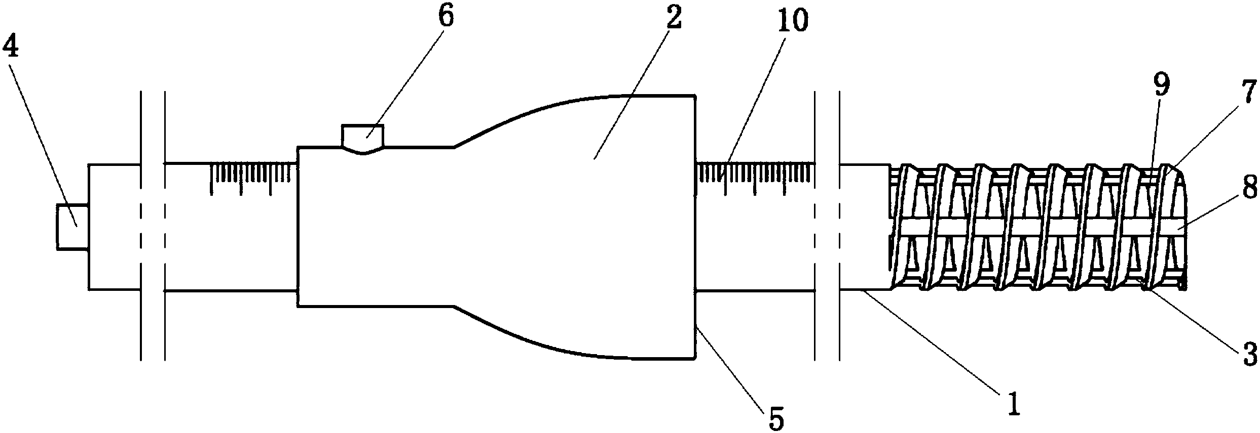
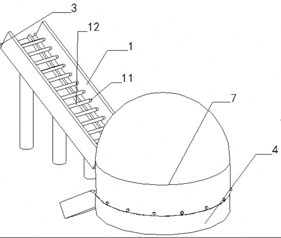
全废渣制水泥回转窑燃烧器气流输送装置
新疆天业(集团)有限公司,天伟水泥有限公司,天能水泥有限公司,天辰水泥有限责任公司
双控式全自动伽玛刀射线屏蔽仪
哈尔滨医科大学
一种用于水泥生产的原料送料装置
新疆天业(集团)有限公司,天伟水泥有限公司,天能水泥有限公司,天辰水泥有限责任公司
激光乳化手术操作装置
哈尔滨医科大学
髋关节股骨假体
哈尔滨医科大学
一种乳腺癌手术中分离乳房皮瓣用可伸缩式夹紧提升装置
哈尔滨医科大学
一种轨道组件及设计方法
常州工学院
610nm‑650nm波长的LED‑红光在治疗脱发中的应用
哈尔滨医科大学
一次性可控冲吸式口腔吸痰器
广东省科学院佛山产业技术研究院有限公司
一种无针输液接头的预冲式导管冲洗器
哈尔滨医科大学
一种机械可调式水果采摘环
河北工程大学
一种带消毒脱脂棉的锁定盖帽预充式导管冲洗器
广东省科学院佛山产业技术研究院有限公司
管道连接器
常州工学院
一种眼科视力检测架
哈尔滨医科大学
一种用于静脉留置针的持续冲洗装置
广东省科学院佛山产业技术研究院有限公司
工业用开关磁阻电机及其控制系统
宁波市软件行业协会
共15998页 转到