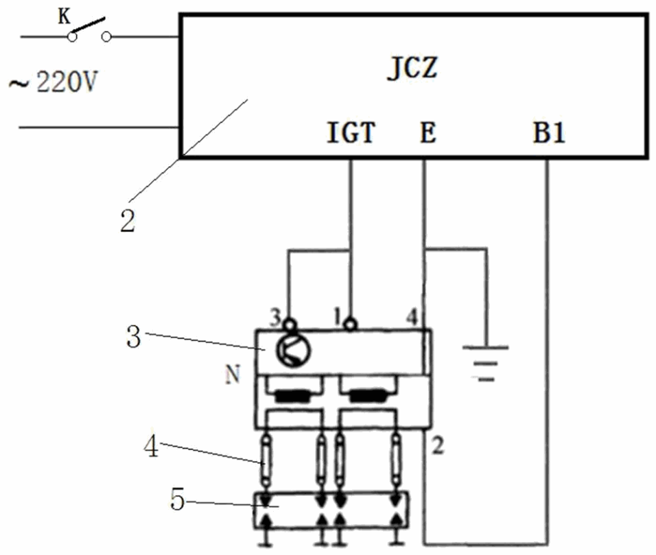
一种汽车电控点火模块检测装置
常州信息职业技术学院
一种便于连接的绝缘子
常州信息职业技术学院
一种组合式H型塑料连接管件
常州信息职业技术学院
能自动除雪除尘的太阳能发电装置
江苏理工学院
一种便于调节距离的绝缘子
常州信息职业技术学院
一种三维激光扫描设备
江苏理工学院
一种铝合金形变热处理方法
江苏理工学院
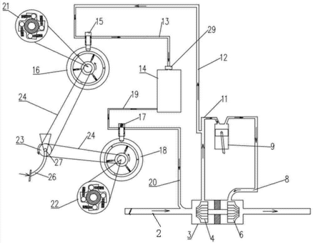
涡轮增压系统及其增动力方法和采用的涡轮增压辅助装置
江苏理工学院
树叶状银粉的制备方法
江苏理工学院
基于LPN的公钥加密方法
江苏理工学院
一种牙齿正畸矫正弓丝托槽摩擦磨损实验装置
深圳博士创新技术转移有限公司
一种方弓丝与托槽摩擦装置
深圳博士创新技术转移有限公司
一种口腔正畸矫正方弓丝摩擦磨损实验装置
深圳博士创新技术转移有限公司
一种书写工具摩擦力测试装置及其测试方法
深圳博士创新技术转移有限公司
一种直流电源插座芯轴与绝缘垫的预装配装置
深圳博士创新技术转移有限公司
防锈油喷油装置
广东省科学院佛山产业技术研究院有限公司
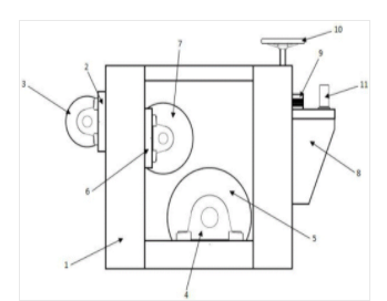
钢带衬纸收纸机
广东省科学院佛山产业技术研究院有限公司
热处理S辊牵引机
广东省科学院佛山产业技术研究院有限公司
TRPV4激动剂在制备治疗和/或预防男性不育症的药物中的应用
南华大学
一种圆柱形钢铁件磁特性测量探头及其适配电路
常州信息职业技术学院
共15999页 转到