科创中国
问题分诊室
具身智能与智慧医疗融合创新产业
高性能装备制造产业
智能机器人全产业链产业
中医药产业
人工智能产业
新一代信息技术产业
作物产业
量子科技与先进制造产业
海洋装备产业
煤炭开采及煤化工产业
特殊钢产业
节能环保产业
低空经济产业
光电产业
汽车产业
新能源产业
新材料产业
“以竹代塑”
成果发布厅
新型电力系统
化学领域
现代纺织
低空经济
信息通信
智慧公路
煤炭开采及煤化工
中医药
智能机器人全产业链
海洋装备
新一代信息技术
量子科技与先进制造
人工智能
高性能装备制造
具身智能与智慧医疗融合创新
作物
科创地方
科创北京
科创天津
科创内蒙古
科创辽宁
科创江苏
科创广西
科创广东
科创重庆
科创宁夏
科创河北
科创山东
科创河南
科创福建
科创湖南
科创黑龙江
科创湖北
科创浙江
科创山西
科创资讯
科创头条
科协活动
通知公告
科技政策
技术经理人
科技服务团
资源中心
项目库
问题库
案例库
开源库
学术资源
会议展览
品牌栏目
院士开讲
解码新质生产力
金融服务云课堂
企创云课堂
有问题想咨询
有成果想转化
我的交易
我的会议
我报名的路演会议
我的资讯
我的消息
我的动态
我的需求
我的成果
我的
个人资料编辑
退出登录
登录/注册
科创中国
需求发布
成果发布
科创案例库
揭榜挂帅
技术经理人
会议展览
科创联合体
科技服务团
科创资讯
科技政策
院士开讲
学术资源
城市站点
协作站点
搜索
问题库
项目库
开源库
English
我的交易
我的会议
我报名的路演会议
我的资讯
我的消息
我的动态
我的需求
我的成果
我的
个人资料编辑
退出登录
登录/注册
组织入驻
隐藏工作区
全国
在线展厅
切换展厅
全国
北京市
天津市
河北省
山西省
内蒙古
辽宁省
吉林省
黑龙江省
上海市
江苏省
浙江省
安徽省
福建省
江西省
山东省
河南省
湖北省
湖南省
广东省
广西
海南省
重庆市
四川省
贵州省
云南省
西藏
陕西省
甘肃省
青海省
宁夏
新疆
新疆兵团
路演活动
科技成果
参观
人数
0
0
0
0
0
0
0
点赞
人数
0
0
0
0
0
0
0
技术领域
全部
新兴行业
|
新基建
|
电子信息
|
高端产业
|
生物医药
|
石化与新材料
|
智能机械与光机电一体化
|
节能环保
|
新能源
|
现代农业
|
高端技术服务业
|
农林牧副渔
|
城建规划
|
文化创意
|
矿山工程
|
冶金工程
|
企业管理
|
知识产权
|
智库咨询
|
旅游休闲娱乐
|
企业发展服务
|
电子商务
|
纺织
|
其他
|
更多
基于流化床反应器的氯丙烯直接环氧化法合成环氧氯丙烷新工艺
中国科学院大连化学物理研究所
三段式便携富氢水杯关键技术
科学技术部火炬高技术产业开发中心技术市场与成果转化处
基于足底反射区研发的嵌入式磁环弹力凸柱按摩鞋产品
科学技术部火炬高技术产业开发中心技术市场与成果转化处
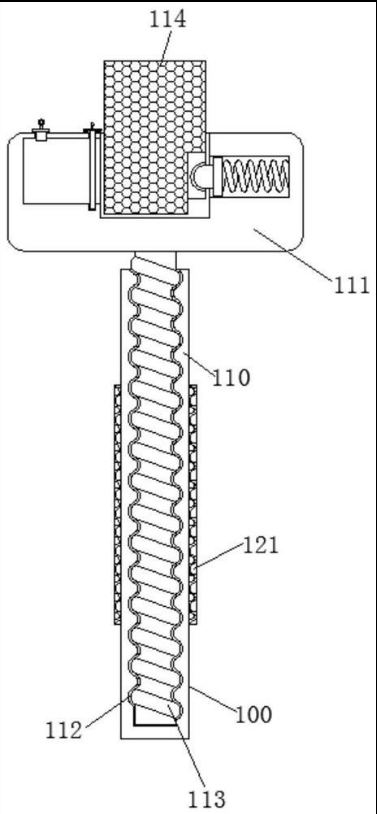
一种冷凝效果好的冷凝器
常州工程职业技术学院
一种新型NH-亚砜亚胺类化合物及合成方法
常州工程职业技术学院
一种新型健美操多用练习装置
常州工程职业技术学院
一种具有保温防腐功能的化工管道
常州工程职业技术学院
甲醇制取低碳烯烃第三代(DMTO- III) 技术
中国科学院大连化学物理研究所
一种艺术设计用颜料储存调配装置
常州工程职业技术学院
一种计算机系统集成控制柜
常州工程职业技术学院
一种细胞内 MTDH 结合代谢物的鉴定方法
中国科学院大连化学物理研究所
高纯海藻酸盐生物材料
中国科学院大连化学物理研究所
高附加值软枣猕猴桃系列深加工产品
中国科学院大连化学物理研究所
毛细管色谱柱及一体式电喷雾质谱喷针
中国科学院大连化学物理研究所
一种基于深度神经网络的挪车机器人控制系统及其方法
常州工程职业技术学院
一种窗户槽积尘清洁装置
常州工程职业技术学院
蛋白质组样品处理试剂盒
中国科学院大连化学物理研究所
功能寡糖规模化生产
中国科学院大连化学物理研究所
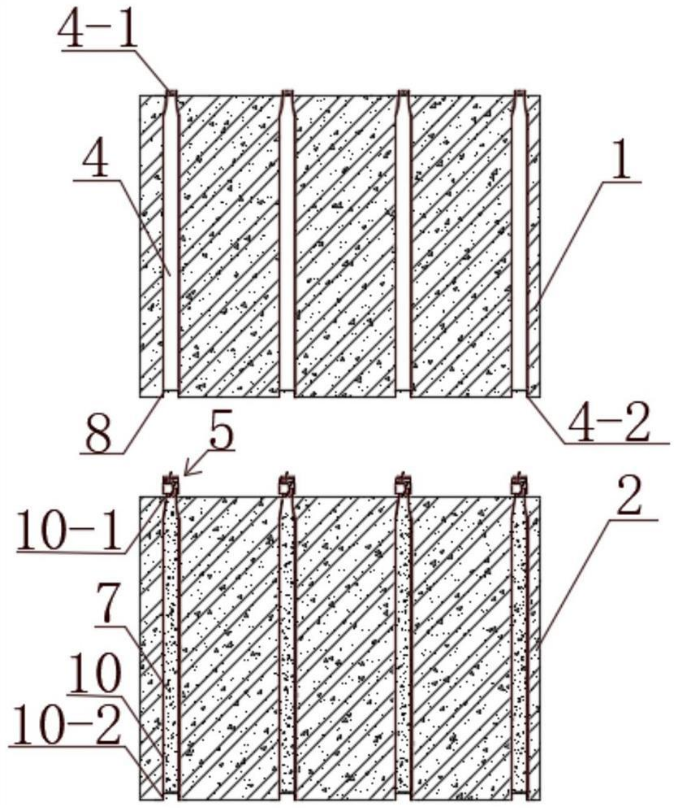
一种预制钢管剪力墙水平接缝连接结构
常州工程职业技术学院
绿色农业种植集成技术体系
中国科学院大连化学物理研究所
首页
上一页
3452
3453
3454
3455
3456
3457
3458
下一页
尾页
共15998页 转到
页