Wnt5α/Ca2+通路在骨髓间充质干细胞移植治疗心肌梗死中的作用及分子机制
徐州市中心医院
凉血解毒化瘀法联合恩替卡韦抗病毒治疗对慢性乙型肝炎患者免疫功能、炎症因子和肝纤维化的影响研究
淮安市第四人民医院
胆道闭锁腹腔镜Kasai手术技术创新及推广应用
淮安市妇幼保健院
Gαi1和Gαi3介导VEGF诱导的VEGFR2的内吞、信号转导和血管生成的机制研究
淮安市妇幼保健院
耐药基因连锁性及新活性抗菌药物构建筛选在多重耐药鲍曼不动杆菌医院感染控制中的应用
淮安市第一人民医院
ADCY2多态性作为新型生物标志物在双相情感障碍早期诊断与治疗预后的应用研究
淮安市第三人民医院
左炔诺孕酮宫内系统联合孕激素治疗子宫内膜不典型增生及早期内膜癌随机对照临床研究
淮安市妇幼保健院
复发难治急性髓系白血病的分子和免疫靶向治疗研究
淮安市第二人民医院
布托啡诺静脉自控镇痛的临床研究
淮安市第二人民医院
腹腔热灌注化疗联合深部热疗治疗中晚期结直肠癌合并腹水的疗效观察
金湖县人民医院
超长起吊行程电动葫芦的压绳装置
湖北三六重工有限公司
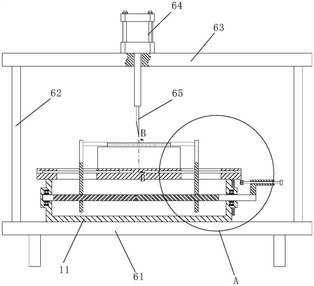
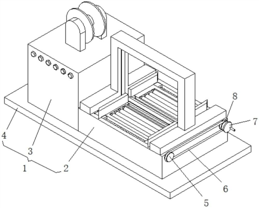
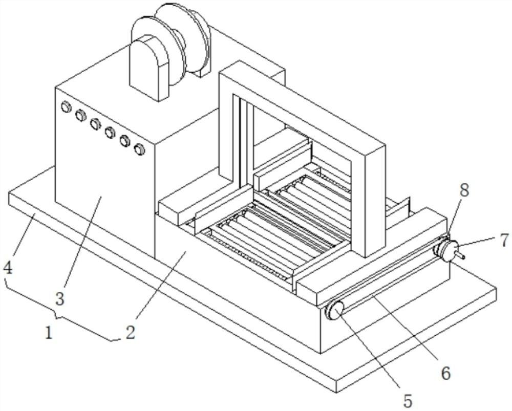
一种扎捆机
湖北恒阳科技发展有限公司
一种高效率的FPC线路板固定装置
湖北奕宏精密制造有限公司
HIF-1α/Neuropilin-1信号轴在肺腺癌血管生成拟态中的机制研究
淮安市第二人民医院
环状 RNA BTG2(hsa_circ_0016068)在食管鳞状细胞癌(ESCC)恶性表型及放疗
涟水县人民医院
一种具有抱杆功能的直梯
国网湖北省电力有限公司咸宁供电公司
miR874调控胃癌化疗耐药的相关机制研究
淮安市第二人民医院
围手术期注射利多卡因促进上气道OSAHS等相关手术后快速恢复的应用价值研究
淮安市第二人民医院
电子信息技术
徐州市河湖管理中心
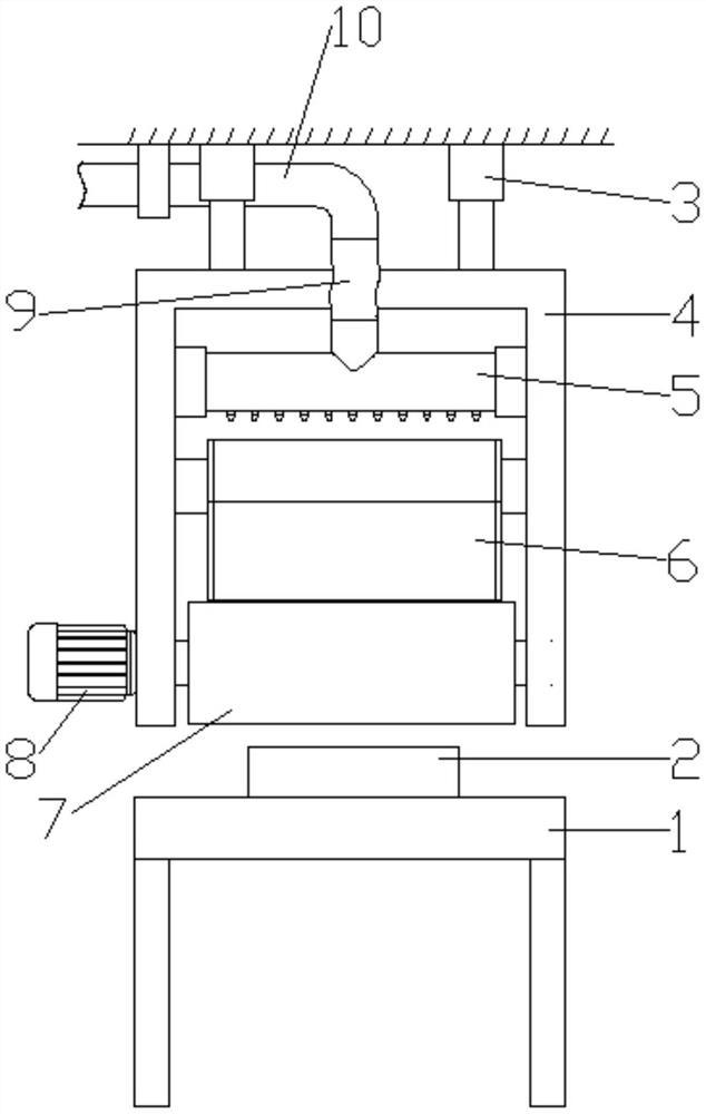
一种均匀布料的釉料布料机
湖北亚细亚陶瓷有限公司
共15997页 转到