一种制备细粒度球形球霰石的方法
重庆摆渡谷科技发展有限公司
一种特异性识别牛、羊妊娠相关糖蛋白的广谱型核酸适配体及其应用
重庆摆渡谷科技发展有限公司
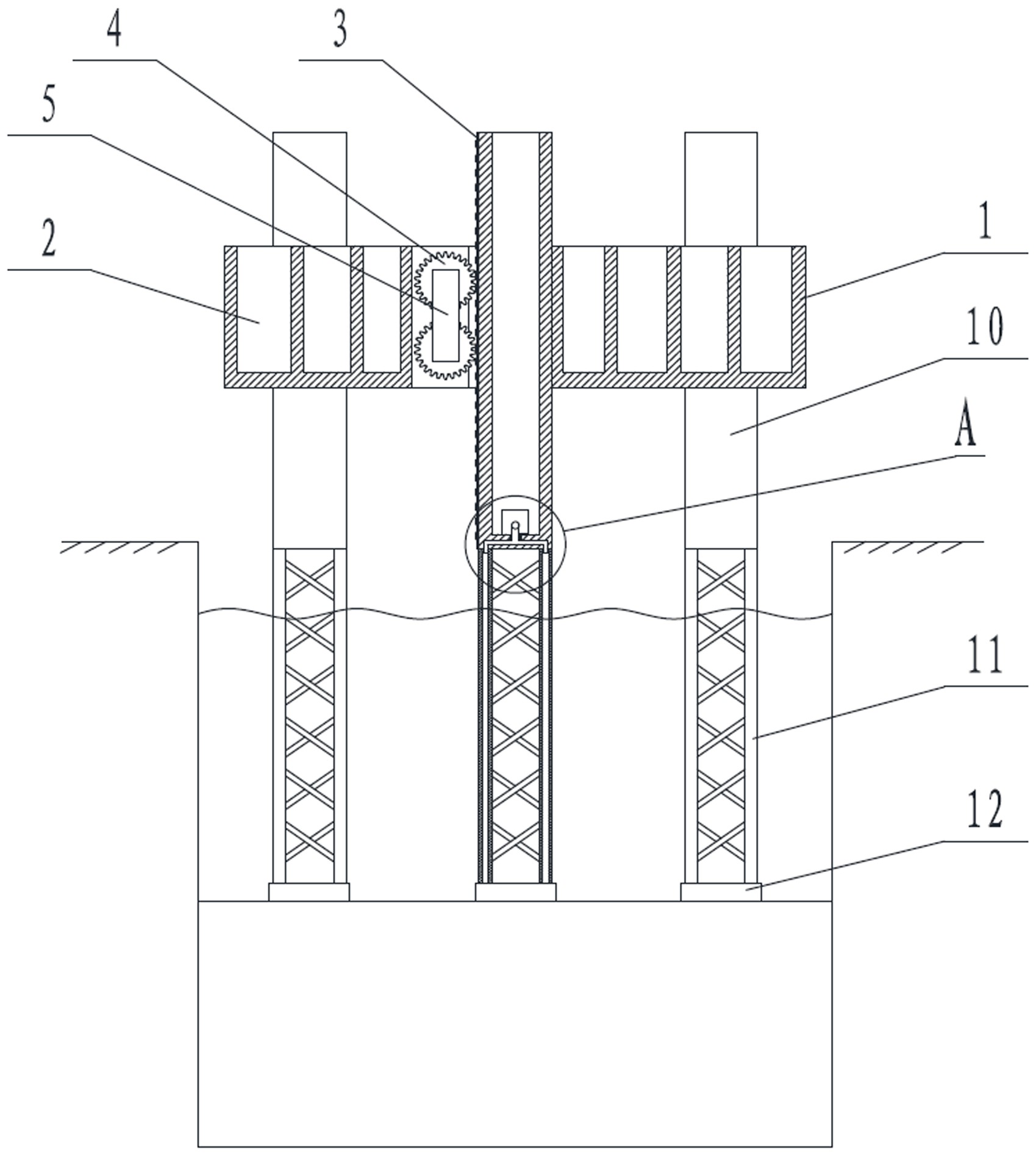
一种基于弹簧减震原理的减震建筑
重庆摆渡谷科技发展有限公司
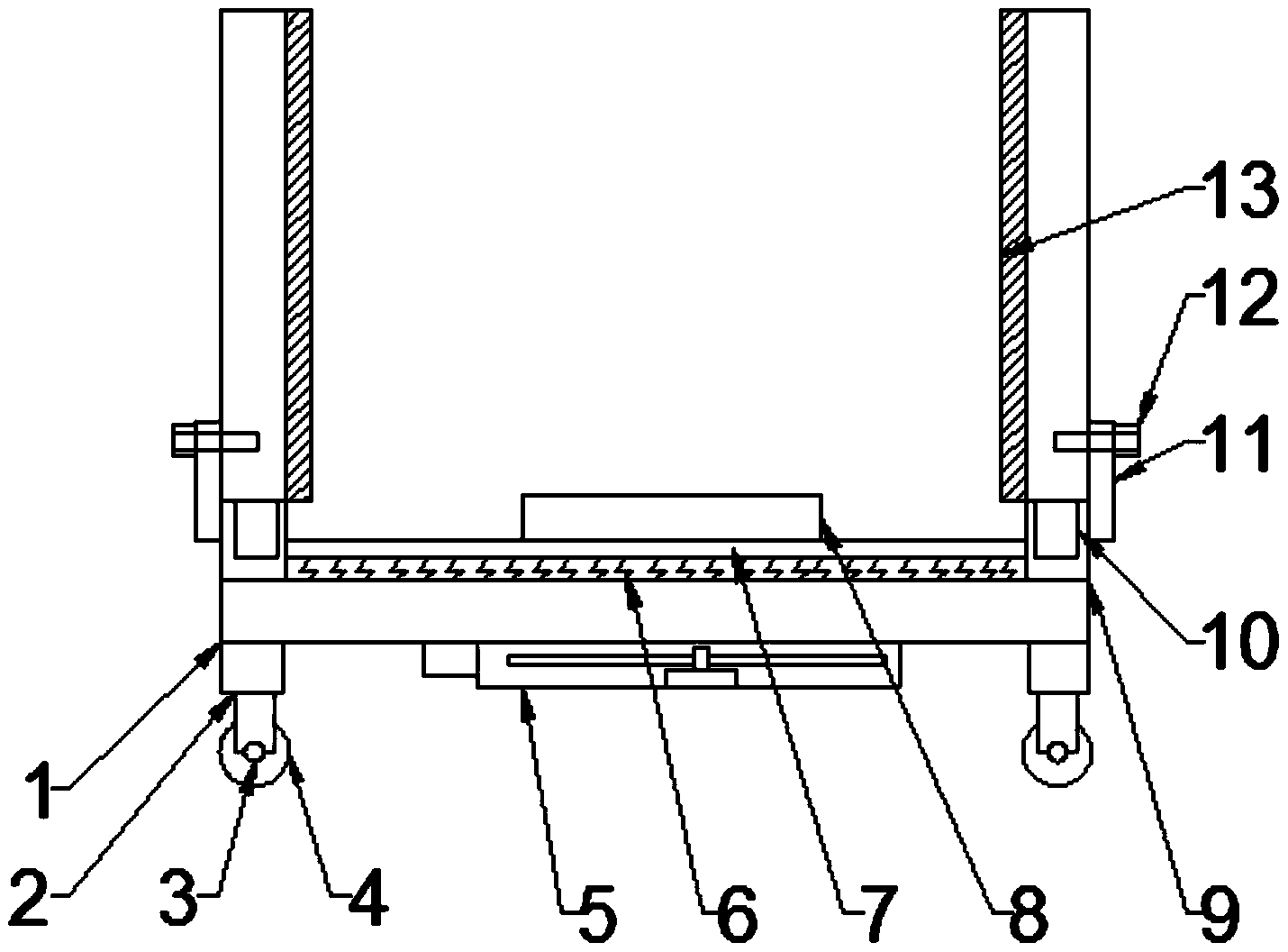
一种基于斜面配合转换消能原理的减震建筑
重庆摆渡谷科技发展有限公司
基于斜面配合转换消能原理的建筑减震方法
重庆摆渡谷科技发展有限公司
一种便于清洁的智能崩解仪
天津市食品安全检测技术研究院
基于弹簧减震原理的建筑减震方法
重庆摆渡谷科技发展有限公司
一种磺酰甲脒类化合物及其合成方法和应用
重庆摆渡谷科技发展有限公司
一种化学实验室废液桶
天津市食品安全检测技术研究院
一种基于石墨烯的光载微波天线
重庆摆渡谷科技发展有限公司
一种小型微生物厌氧装置
重庆摆渡谷科技发展有限公司
一种荔枝多酚提取装置
重庆摆渡谷科技发展有限公司
改进的生物样品低温运输冰盒
重庆摆渡谷科技发展有限公司
适合榨菜下胚轴伸长的组培瓶
重庆摆渡谷科技发展有限公司
一种刻度吸管排空装置
天津市食品安全检测技术研究院
AI智能巡逻机器人
重庆摆渡谷科技发展有限公司
防疫机器人
重庆摆渡谷科技发展有限公司
一种用于化学实验中的搅拌反应装置
重庆摆渡谷科技发展有限公司
一种面向复杂智能空间的穿戴式光谱巡检装置及系统
重庆摆渡谷科技发展有限公司
一种果蔬干燥监测装置
重庆摆渡谷科技发展有限公司
共16046页 转到