科创中国
问题分诊室
具身智能与智慧医疗融合创新产业
高性能装备制造产业
智能机器人全产业链产业
中医药产业
人工智能产业
新一代信息技术产业
作物产业
量子科技与先进制造产业
海洋装备产业
煤炭开采及煤化工产业
特殊钢产业
节能环保产业
低空经济产业
光电产业
汽车产业
新能源产业
新材料产业
“以竹代塑”
成果发布厅
新型电力系统
化学领域
现代纺织
低空经济
信息通信
智慧公路
煤炭开采及煤化工
中医药
智能机器人全产业链
海洋装备
新一代信息技术
量子科技与先进制造
人工智能
高性能装备制造
具身智能与智慧医疗融合创新
作物
科创地方
科创北京
科创天津
科创内蒙古
科创辽宁
科创江苏
科创广西
科创广东
科创重庆
科创宁夏
科创河北
科创山东
科创河南
科创福建
科创湖南
科创黑龙江
科创湖北
科创浙江
科创山西
科创资讯
科创头条
科协活动
通知公告
科技政策
技术经理人
科技服务团
资源中心
项目库
问题库
案例库
开源库
学术资源
会议展览
品牌栏目
院士开讲
解码新质生产力
金融服务云课堂
企创云课堂
有问题想咨询
有成果想转化
我的交易
我的会议
我报名的路演会议
我的资讯
我的消息
我的动态
我的需求
我的成果
我的
个人资料编辑
退出登录
登录/注册
科创中国
需求发布
成果发布
科创案例库
揭榜挂帅
技术经理人
会议展览
科创联合体
科技服务团
科创资讯
科技政策
院士开讲
学术资源
城市站点
协作站点
搜索
问题库
项目库
开源库
English
我的交易
我的会议
我报名的路演会议
我的资讯
我的消息
我的动态
我的需求
我的成果
我的
个人资料编辑
退出登录
登录/注册
组织入驻
隐藏工作区
全国
在线展厅
切换展厅
全国
北京市
天津市
河北省
山西省
内蒙古
辽宁省
吉林省
黑龙江省
上海市
江苏省
浙江省
安徽省
福建省
江西省
山东省
河南省
湖北省
湖南省
广东省
广西
海南省
重庆市
四川省
贵州省
云南省
西藏
陕西省
甘肃省
青海省
宁夏
新疆
新疆兵团
路演活动
科技成果
参观
人数
0
0
0
0
0
0
0
点赞
人数
0
0
0
0
0
0
0
技术领域
全部
新兴行业
|
新基建
|
电子信息
|
高端产业
|
生物医药
|
石化与新材料
|
智能机械与光机电一体化
|
节能环保
|
新能源
|
现代农业
|
高端技术服务业
|
农林牧副渔
|
城建规划
|
文化创意
|
矿山工程
|
冶金工程
|
企业管理
|
知识产权
|
智库咨询
|
旅游休闲娱乐
|
企业发展服务
|
电子商务
|
纺织
|
其他
|
更多
特种光缆
宁波市科技创新协会
用于LncRNA与疾病关联预测的数据库检索平台V1.0
哈尔滨理工大学
一种锰系荧光指纹显影粉末及其制备方法与应用
重庆摆渡谷科技发展有限公司
基于LACO-OFDM的可见光解调方法、装置、设备及存储介质
河北经贸大学
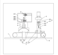
一种自动化挤压收线系统
佛山通宝精密合金股份有限公司
一种法律卷宗智能管理系统
重庆摆渡谷科技发展有限公司
在线式模具保护器
宁波市科技创新协会
一种法律文件自动化智能整理系统
重庆摆渡谷科技发展有限公司
一种模具钢的精加工装置
广州市玛澳新材料技术有限公司
医行智慧康养及大健康管理平台
中关村产业产业技术联盟联合会
食盐替代物及其应用以及酱卤鸡肉制品的减盐加工方法
河北经贸大学
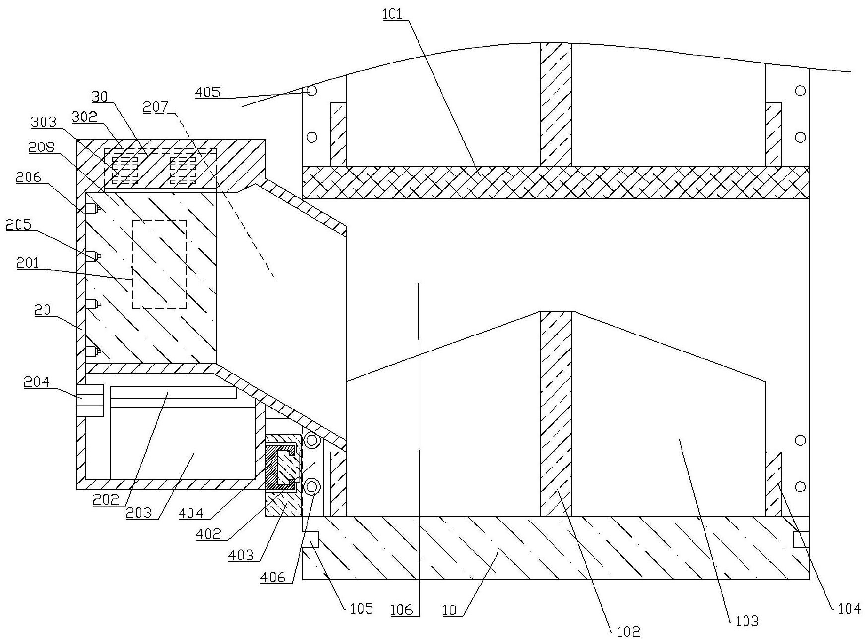
传热设备教学控制装置
常州工程职业技术学院
一种基于人工智能的红色党建基地视听装置
重庆摆渡谷科技发展有限公司
基于分布智能物联网环境下的家庭服务机器人
宁波市科技创新协会
一种基于无线网络的校园介绍装置
黑龙江大学
一种绿化养护一体式喷药设备
广东金穰农业农民专业合作社
展示板(党内法规教育解释)
重庆摆渡谷科技发展有限公司
一种多核磁共振成像系统
哈尔滨医科大学
一种含苯基三苯胺基团的DPP嵌段聚合物、其制备方法及应用
黑龙江大学
装备制造技术创新研发工程平台
宁波市科技创新协会
首页
上一页
3383
3384
3385
3386
3387
3388
3389
下一页
尾页
共15997页 转到
页