科创中国
问题分诊室
具身智能与智慧医疗融合创新产业
高性能装备制造产业
智能机器人全产业链产业
中医药产业
人工智能产业
新一代信息技术产业
作物产业
量子科技与先进制造产业
海洋装备产业
煤炭开采及煤化工产业
特殊钢产业
节能环保产业
低空经济产业
光电产业
汽车产业
新能源产业
新材料产业
“以竹代塑”
成果发布厅
新型电力系统
化学领域
现代纺织
低空经济
信息通信
智慧公路
煤炭开采及煤化工
中医药
智能机器人全产业链
海洋装备
新一代信息技术
量子科技与先进制造
人工智能
高性能装备制造
具身智能与智慧医疗融合创新
作物
科创地方
科创北京
科创天津
科创内蒙古
科创辽宁
科创江苏
科创广西
科创广东
科创重庆
科创宁夏
科创河北
科创山东
科创河南
科创福建
科创湖南
科创黑龙江
科创湖北
科创浙江
科创山西
科创资讯
科创头条
科协活动
通知公告
科技政策
技术经理人
科技服务团
资源中心
项目库
问题库
案例库
开源库
学术资源
会议展览
品牌栏目
院士开讲
解码新质生产力
金融服务云课堂
企创云课堂
有问题想咨询
有成果想转化
我的交易
我的会议
我报名的路演会议
我的资讯
我的消息
我的动态
我的需求
我的成果
我的
个人资料编辑
退出登录
登录/注册
科创中国
需求发布
成果发布
科创案例库
揭榜挂帅
技术经理人
会议展览
科创联合体
科技服务团
科创资讯
科技政策
院士开讲
学术资源
城市站点
协作站点
搜索
问题库
项目库
开源库
English
我的交易
我的会议
我报名的路演会议
我的资讯
我的消息
我的动态
我的需求
我的成果
我的
个人资料编辑
退出登录
登录/注册
组织入驻
隐藏工作区
全国
在线展厅
切换展厅
全国
北京市
天津市
河北省
山西省
内蒙古
辽宁省
吉林省
黑龙江省
上海市
江苏省
浙江省
安徽省
福建省
江西省
山东省
河南省
湖北省
湖南省
广东省
广西
海南省
重庆市
四川省
贵州省
云南省
西藏
陕西省
甘肃省
青海省
宁夏
新疆
新疆兵团
路演活动
科技成果
参观
人数
0
0
0
0
0
0
0
点赞
人数
0
0
0
0
0
0
0
技术领域
全部
新兴行业
|
新基建
|
电子信息
|
高端产业
|
生物医药
|
石化与新材料
|
智能机械与光机电一体化
|
节能环保
|
新能源
|
现代农业
|
高端技术服务业
|
农林牧副渔
|
城建规划
|
文化创意
|
矿山工程
|
冶金工程
|
企业管理
|
知识产权
|
智库咨询
|
旅游休闲娱乐
|
企业发展服务
|
电子商务
|
纺织
|
其他
|
更多
用于上消化道内镜微创手术的可脱离式幽门封堵气囊装置
哈尔滨医科大学
高效环境友好型除草剂嗪草酮及创新剂型的工艺开发
宁波益加科创服务有限公司
断续压迫护理用止血带
哈尔滨医科大学
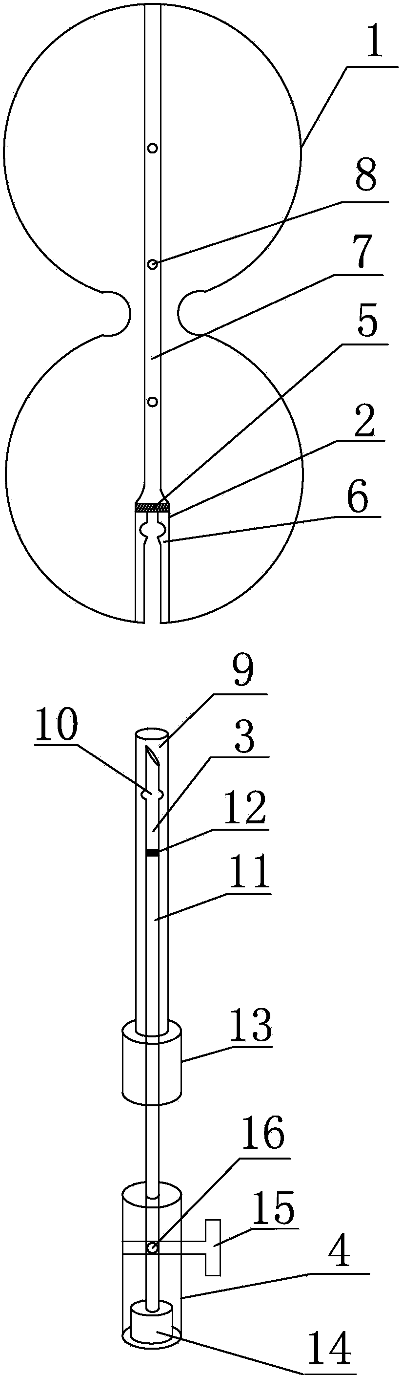
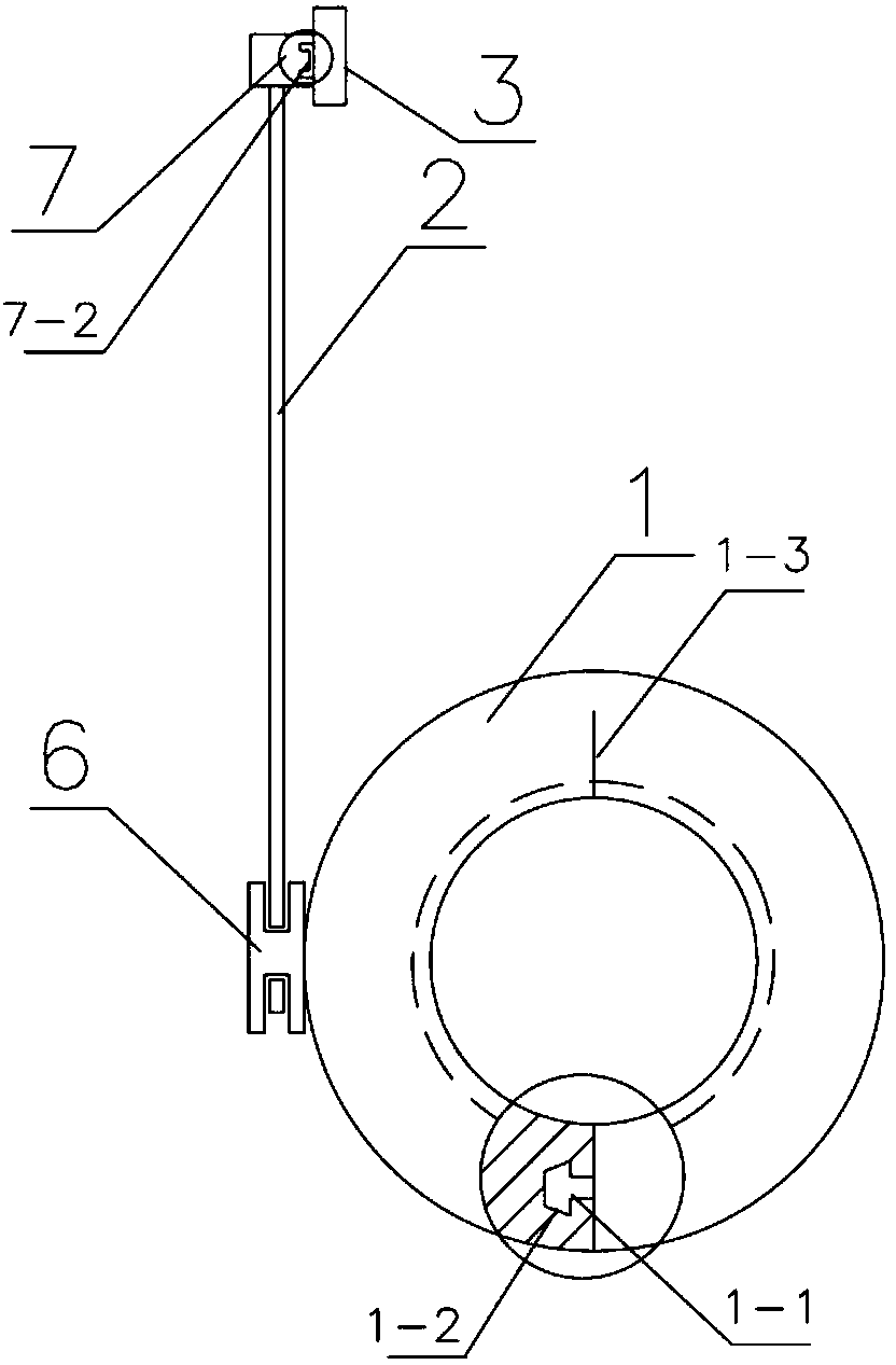
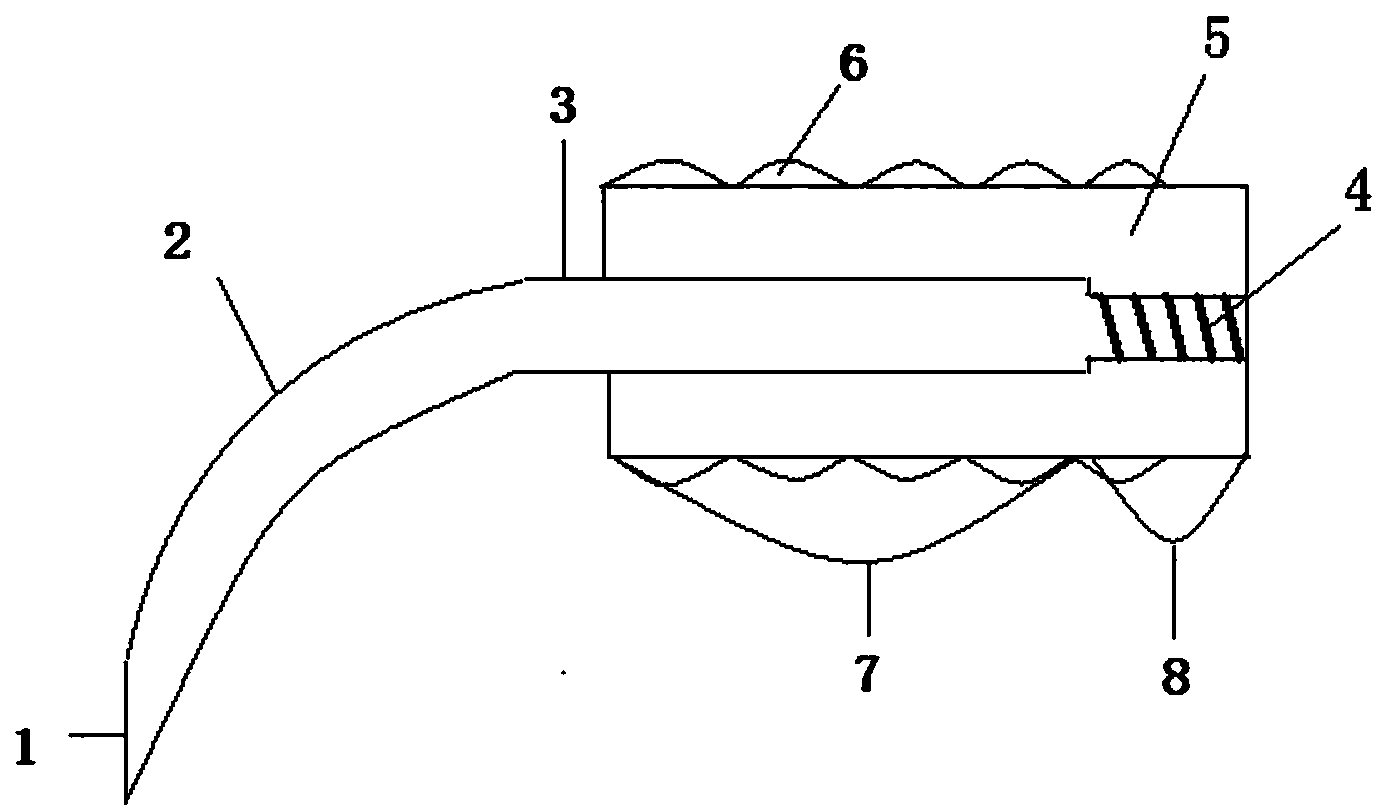
新型胃管固定器
哈尔滨医科大学
硬脆功能材料精密切割用高强超细金刚石线锯的研发及产业化
宁波益加科创服务有限公司
新型采血管收集装置
哈尔滨医科大学
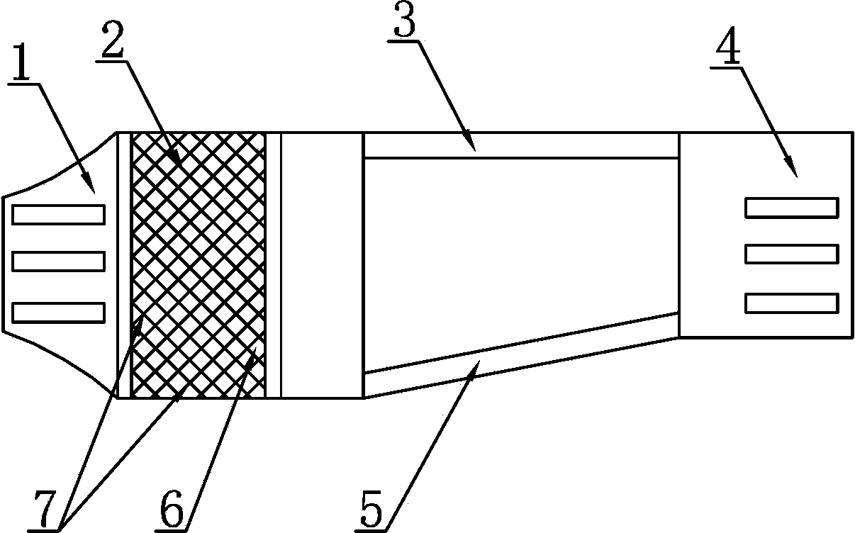
一次性人工呼吸防护面罩
哈尔滨医科大学
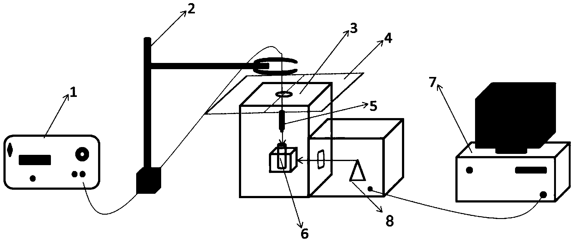
一种激光及光动力治疗实验中的荧光监测装置
哈尔滨医科大学
慢病毒载体介导PEDF在抑制肾细胞癌血行转移中的应用
哈尔滨医科大学
石墨炔基异质结催化剂的放射增敏研究
中国科学院纳米生物效应与安全性重点实验室
NTP技术处理柴油机有害排放物及低温再生DPF
宁波益加科创服务有限公司
肠造口弹力腹带
哈尔滨医科大学
一种Micro-CT图像分析量化评估磨牙牙槽骨的方法及装置
哈尔滨医科大学
一种膝盖手术后专用弹性绷带
哈尔滨医科大学
基于大科学装置的金属组学研究
中国地质大学行星科学研究所
胃肠道肿瘤易感性的单核苷酸多态性研究
宁波益加科创服务有限公司
基于新型集总参数传输线法的极低频鸟笼谐振器
重庆摆渡谷科技发展有限公司
嫦娥五号预选着陆区(41–45°N, 49–69°W)地质特征及其演化
中国地质大学行星科学研究所
带可拆卸手柄的腹膜透析隧道针
哈尔滨医科大学
精神分裂症易感基因的筛选及药物安全性评价
宁波益加科创服务有限公司
首页
上一页
3316
3317
3318
3319
3320
3321
3322
下一页
尾页
共15998页 转到
页