用于食品加工池的采样器
哈尔滨医科大学
个性化肿瘤疫苗研究
国家纳米科学中心
B超探头快速消毒装置
哈尔滨医科大学
多功能的胰岛素泵保护套
哈尔滨医科大学
细胞外囊泡的生物力学性质测量
国家纳米科学中心
一种模块化移动房屋的橱柜
佛山市一千零一夜旅游投资有限公司
腹膜透析漂管矫正器
哈尔滨医科大学
纳米疫苗递送技术提高CD8+T淋巴细胞介导的细胞免疫
国家纳米科学中心
在纳米材料-细胞内蛋白冠互作调控肿瘤免疫微环境研究
国家纳米科学中心
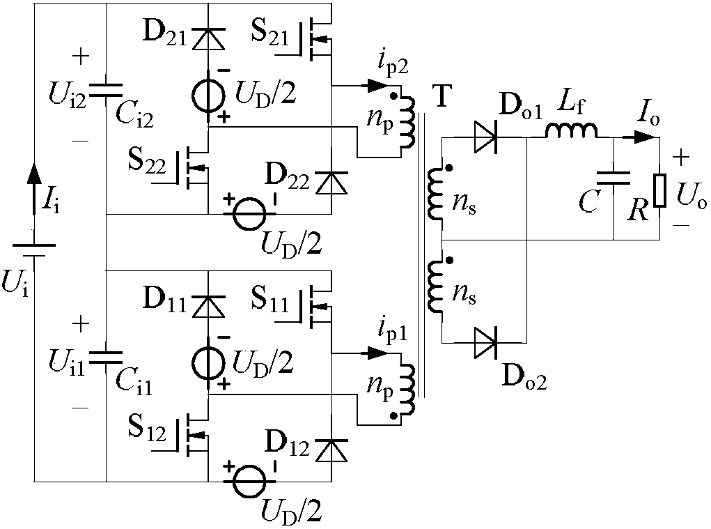
具有消除环流功能的双电路、多电路输入串联交错型开关电源装置
黑龙江大学
输入串联型多输出辅助电源的电流采样方法、控制策略
黑龙江大学
在氮掺杂增强金属纳米材料生物活性方面的研究
国家纳米科学中心
一种用于饲料生产加工的原料搬运装置
江苏桂柳牧业丰县有限公司
一种防雷接地装置
黑龙江大学
核酸与多肽交叉方向研究
国家纳米科学中心
一种饲料滚圆用的一体装置
江苏桂柳牧业丰县有限公司
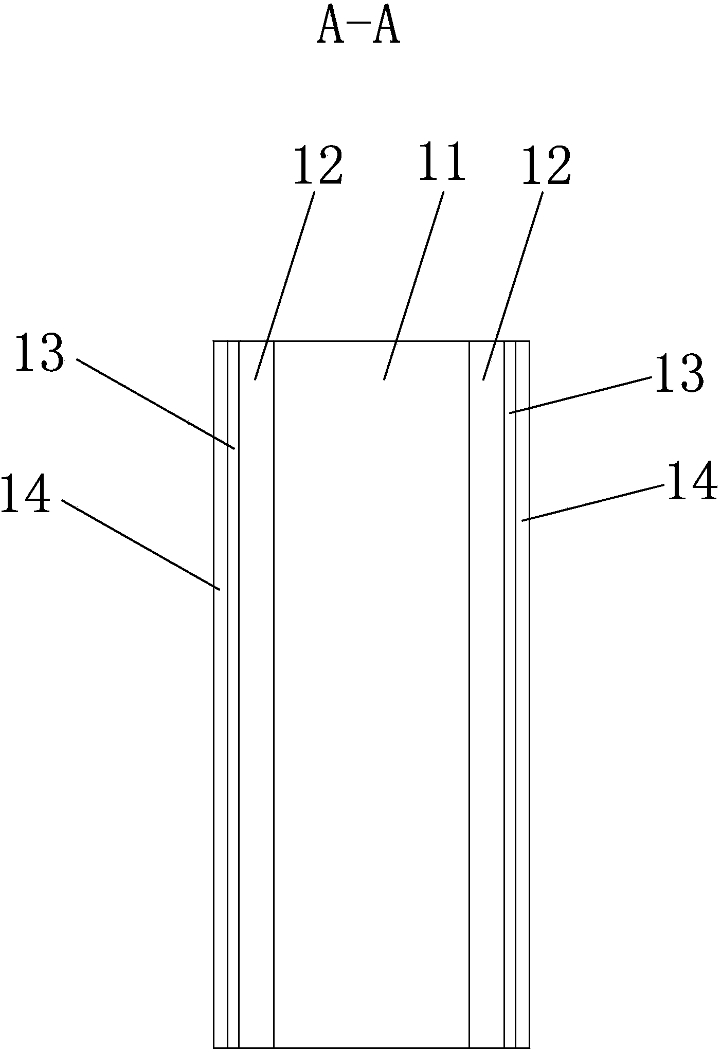
一种具有渗透层的陶瓷薄板的制造方法
佛山市东鹏陶瓷有限公司
高通量计算筛选纳米材料新功能方向
国家纳米科学中心
一种环保节能多功能绿化亭
黑龙江大学
一种用于瓷砖包装生产线有选择的翻砖方法及机构
佛山市鼎吉包装技术有限公司
共15998页 转到