手性碳量子点调控细胞能量代谢研
国家纳米科学中心
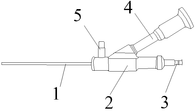
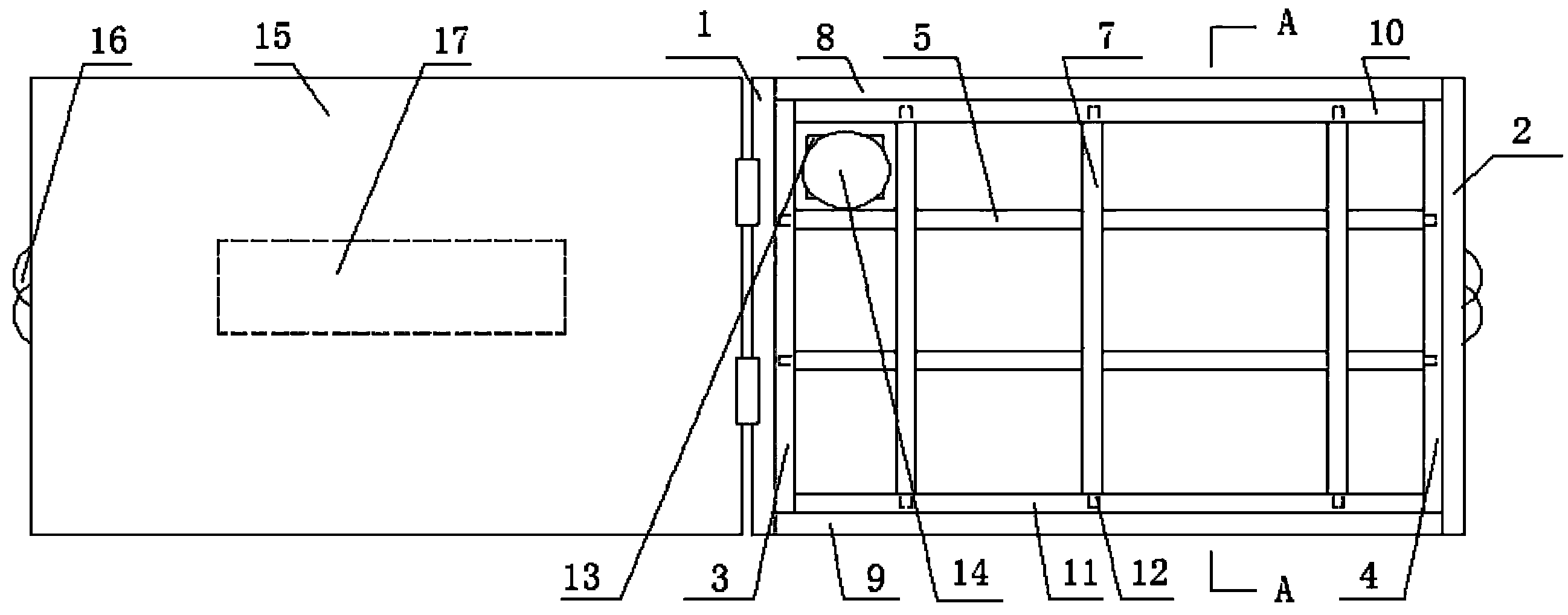
一种网状结构的节流阀
广东广顺新能源动力科技有限公司
液体药物加热器
哈尔滨医科大学
枫脂采集、加工技术及方法
武进区科技成果转移中心
一种使用电致变色材料制作遮挡片的摄像头遮挡器
黑龙江大学
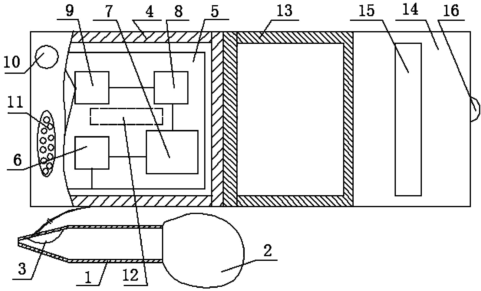
代替肾镜在经皮肾手术中应用的输尿管镜
哈尔滨医科大学
一种平装集装箱房
佛山市德苏曼建材科技有限公司
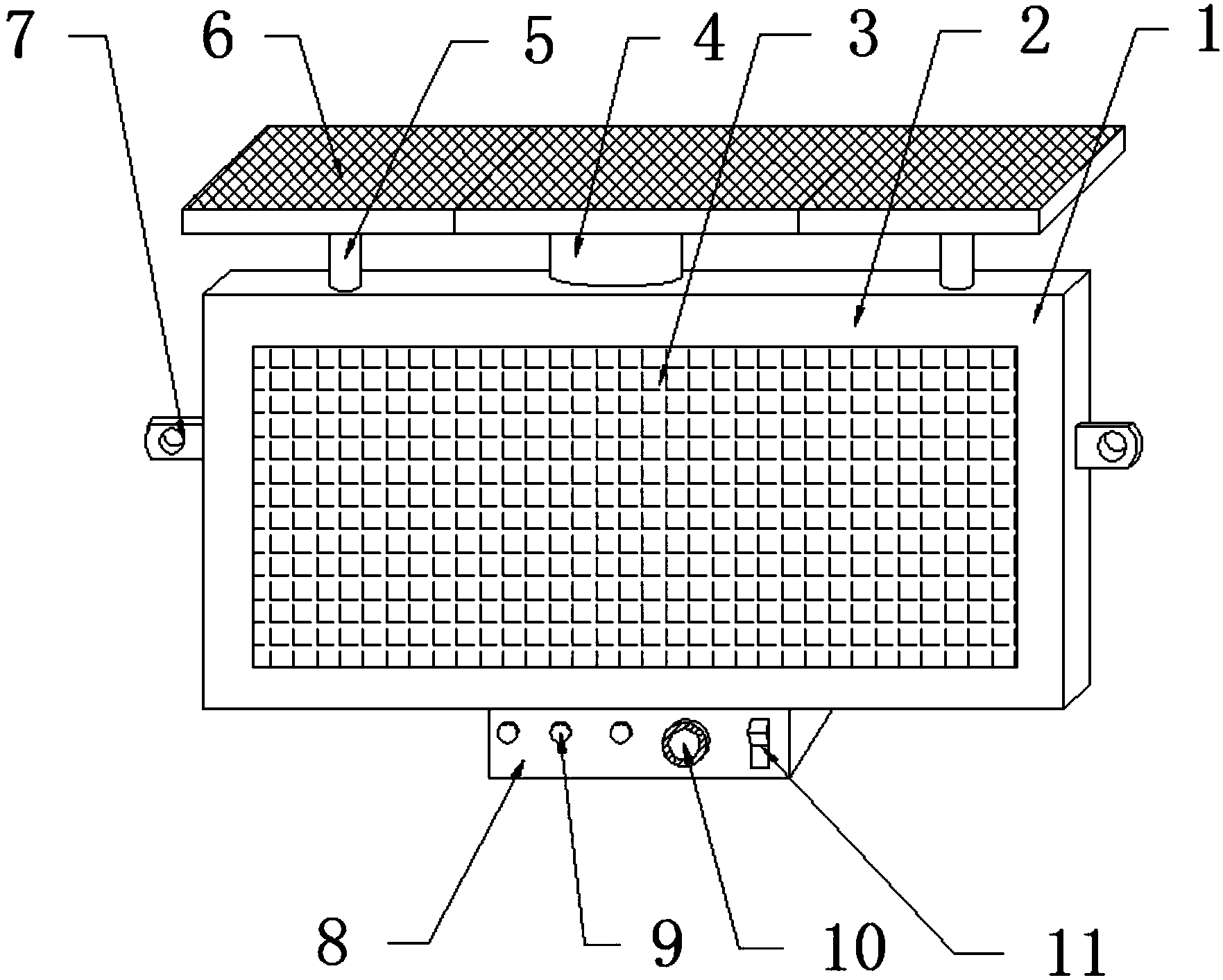
固体食品亚硝酸盐快速检测仪
哈尔滨医科大学
一种悬挂式LED电子显示板
黑龙江大学
水源库区周边大面积有机种植区域氮磷拦截的生态技术研究
武进区科技成果转移中心
砖茶氟成分分析质量控制样品及其制备方法
哈尔滨医科大学
食品采样箱
哈尔滨医科大学
膦氧基红/橙光热激发延迟荧光材料、合成方法及其应用
黑龙江大学
一种液体膨胀式温控器增强强制关机手感结构
佛山通宝华盛电热控制器有限公司
绿色共生型林纸一体化供应链模式研究
武进区科技成果转移中心
一种基于手指静脉认证的印章
佛山职业技术学院
“智能”生物纳米材料研究
国家纳米科学中心
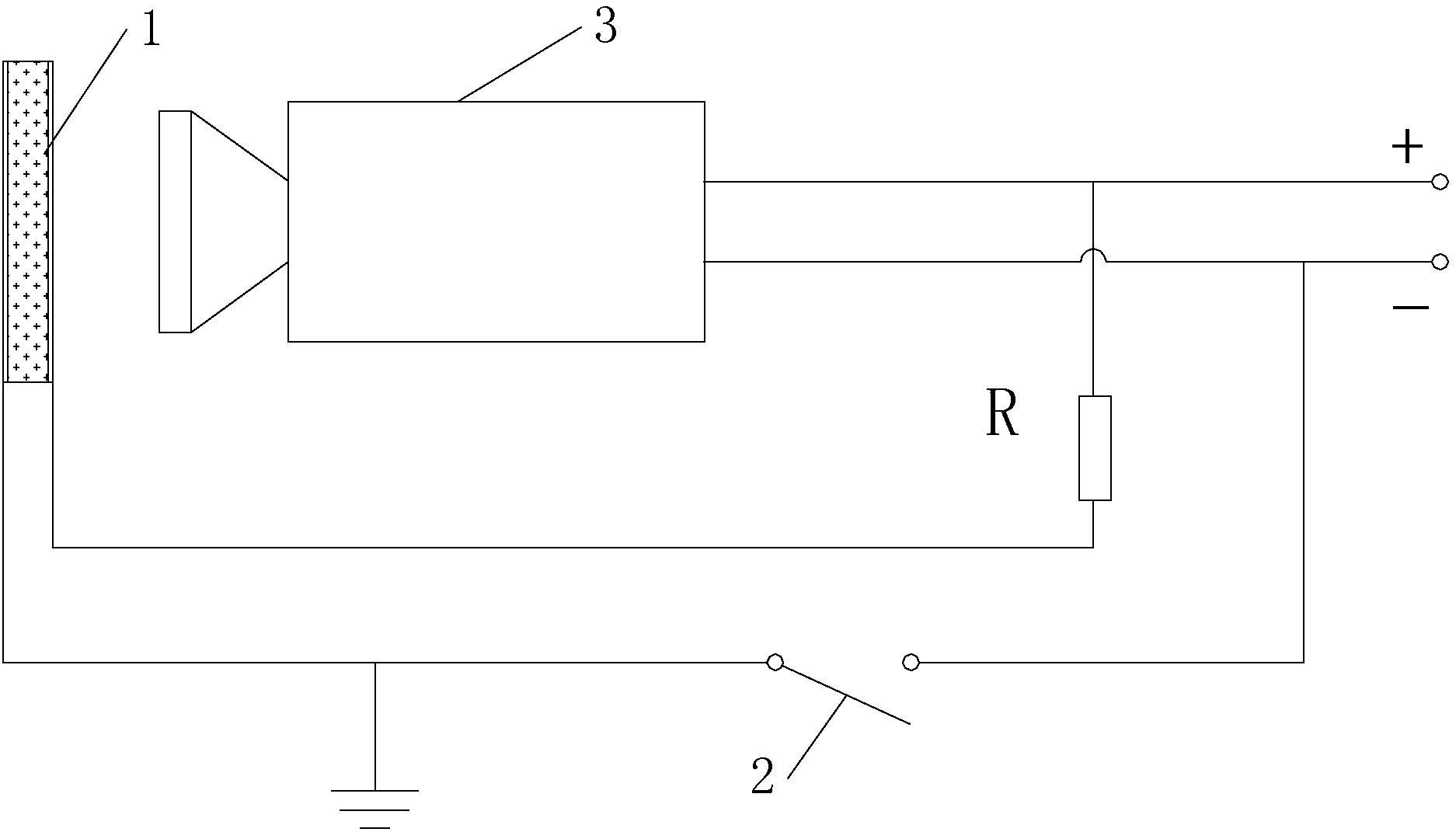
肉类水分快速检测仪
哈尔滨医科大学
异构无线传感器网络预分配密钥管理方法
黑龙江大学
犬基因组17个基因座的荧光标记复合扩增检测试剂盒及检测方法和应用
广东华美众源生物科技有限公司
共15998页 转到