一种基于稀疏化卷积和自适应矩估计的速度变化成像方法
重庆摆渡谷科技发展有限公司
一种自动行动约束器
重庆摆渡谷科技发展有限公司
一种重度修饰黑硅材料的三维仿真模型建立及仿真方法
重庆摆渡谷科技发展有限公司
低光衰高效率背面钝化单晶硅太阳电池及组件
宁波益加科创服务有限公司
一种自动锁闭腰部的抓捕装置
重庆摆渡谷科技发展有限公司
一种钢轨表面三维几何不平顺处轮轨冲击力的模拟方法
重庆摆渡谷科技发展有限公司
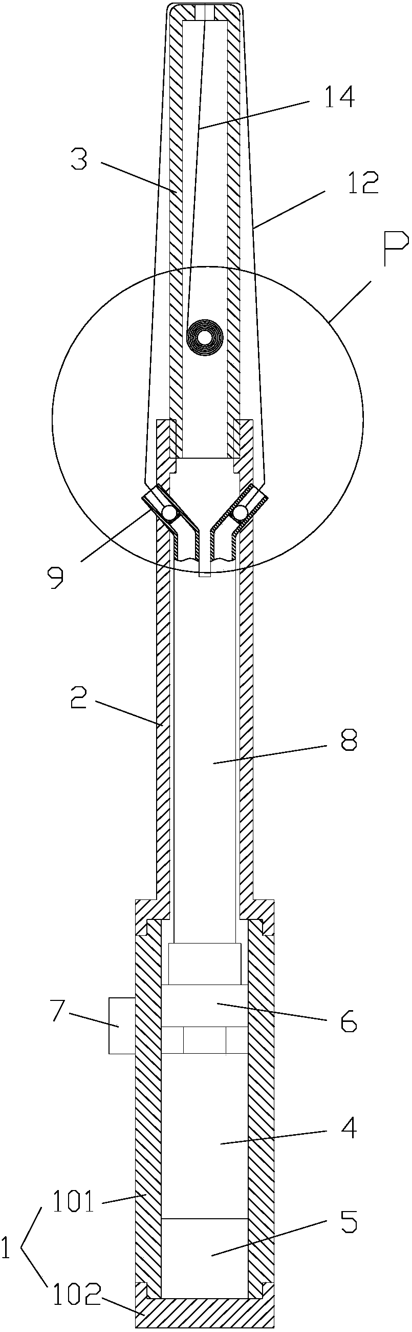
一种滑倒粘连功能的便捷式抓捕器
重庆摆渡谷科技发展有限公司
一种手枪供弹装置及手枪
重庆摆渡谷科技发展有限公司
一种轮毂驱动汽车电动轮垂向载荷动态模拟装置及使用方法
重庆摆渡谷科技发展有限公司
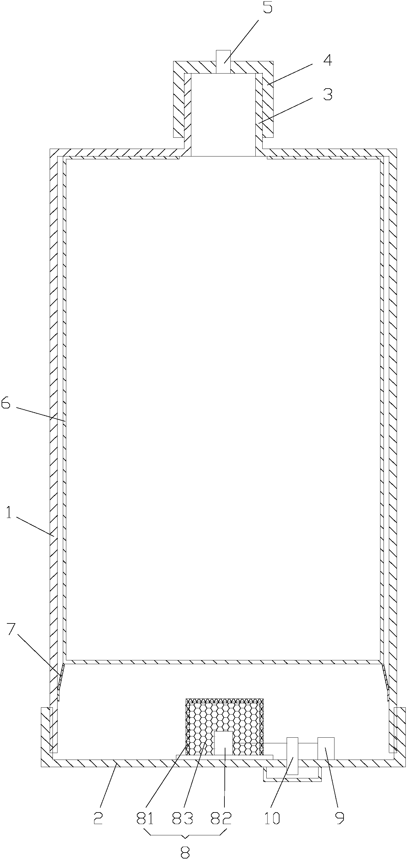
一种气囊式警用抓捕器
重庆摆渡谷科技发展有限公司
生猪腹泻病原检测与诊断技术创制及应用
宁波益加科创服务有限公司
一种基于数据驱动的单相整流器故障诊断方法
重庆摆渡谷科技发展有限公司
警用水壶
重庆摆渡谷科技发展有限公司
警用约束带装置
重庆摆渡谷科技发展有限公司
基于降压与反激变换单元的无桥降压型PFC变换器
重庆摆渡谷科技发展有限公司
智能脉冲(加热)加压深静脉血栓防治仪
西安南山松医疗康复器械有限公司
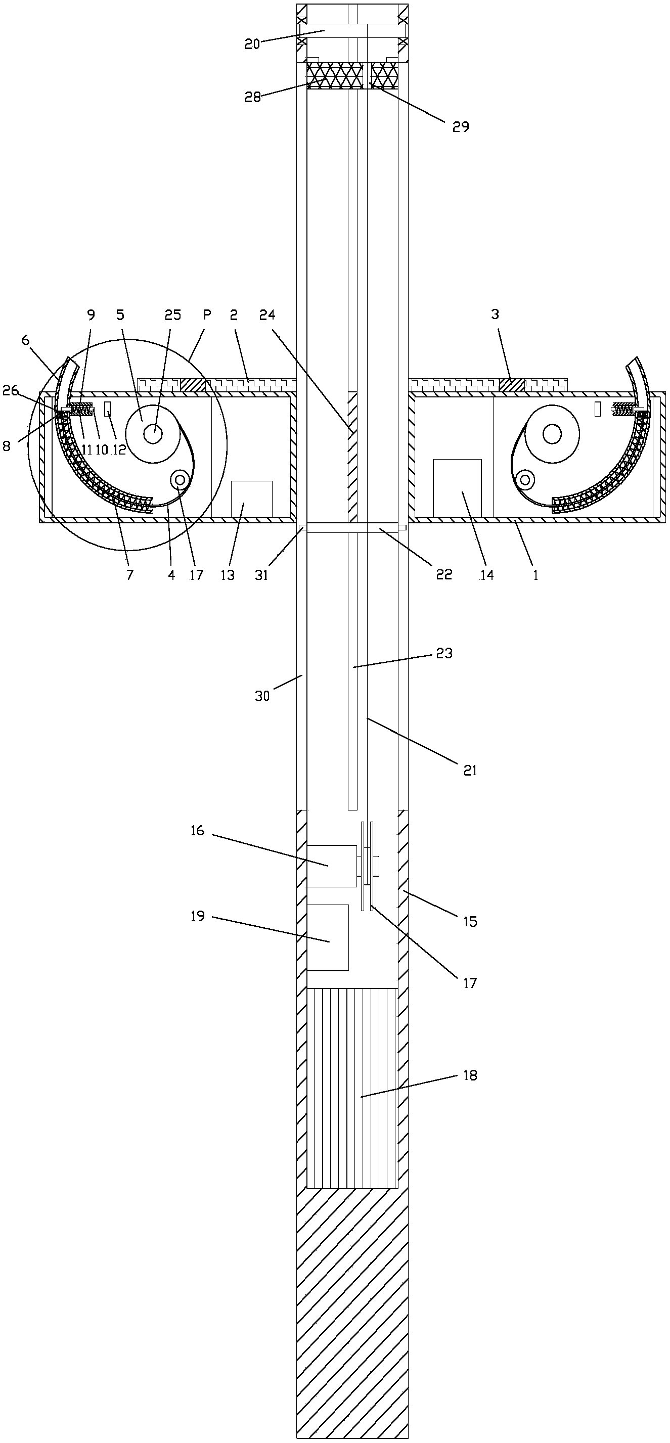
一种具备抓捕功能的警棍
重庆摆渡谷科技发展有限公司
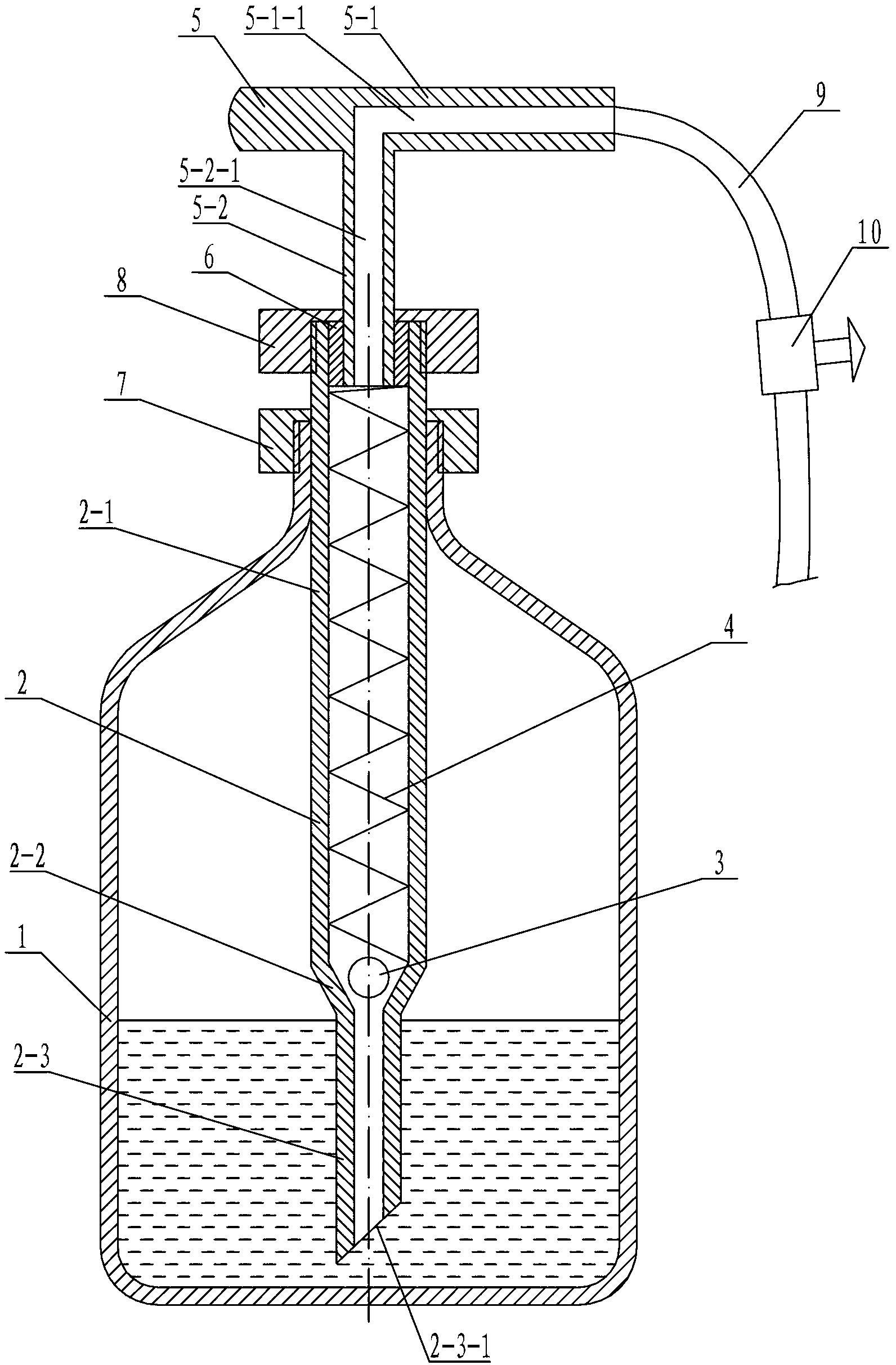
用于结肠镜操作注水装置
哈尔滨医科大学
手术过程影像监查系统
哈尔滨医科大学
一种悬浮体结构及其永磁电动悬浮系统、间隙计算方法
重庆摆渡谷科技发展有限公司
共16004页 转到