补肾活血治则对椎间盘退变防治的关键机制及推广应用
山东中医药大学附属医院
大宗农作物制种技术研发与产业化
南开科协
紫色土坡耕地"大横坡+小顺坡"措施水土保持机理研究
南开科协
高温胁迫下半夏倒苗相关基因片段的克隆与分析
南开科协
一年多熟高效种植模式研究与推广
南开科协
农作物种质资源创新及利用
南开科协
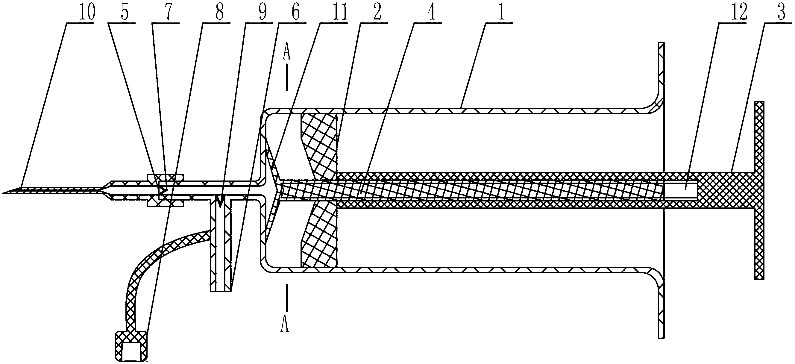
一种艾灸仪
南华大学
优质高效农业种植模式研究与应用
南开科协
一种壁挂式水肥循环种植装置
南开科协
一种射流器-电场组合纳米气泡发生装置
南华大学
多功能防褥疮气垫床
山东中医药大学附属医院
基于微生物胶结的地浸砂岩型铀矿的防渗方法
南华大学
实施农作物间套种集成技术应用
南开科协
超声波雾化技术在现代农业设施中的运用
南开科协
永磁电机遥控监测装置
黑龙江大学
基于三苯基磷氧的热激发延迟荧光蓝光客体材料、制备方法及其应用
黑龙江大学
一种地衣芽孢杆菌产β-甘露聚糖酶的补料方法
黑龙江大学
蓝色荧光基团修饰的稀土铕配合物白光材料的制备方法
黑龙江大学
胸水腹水抽取器
哈尔滨医科大学
脑储备平台
山东中医药大学附属医院
共15998页 转到