科创中国
问题分诊室
具身智能与智慧医疗融合创新产业
高性能装备制造产业
智能机器人全产业链产业
中医药产业
人工智能产业
新一代信息技术产业
作物产业
量子科技与先进制造产业
海洋装备产业
煤炭开采及煤化工产业
特殊钢产业
节能环保产业
低空经济产业
光电产业
汽车产业
新能源产业
新材料产业
“以竹代塑”
成果发布厅
新型电力系统
化学领域
现代纺织
低空经济
信息通信
智慧公路
煤炭开采及煤化工
中医药
智能机器人全产业链
海洋装备
新一代信息技术
量子科技与先进制造
人工智能
高性能装备制造
具身智能与智慧医疗融合创新
作物
科创地方
科创北京
科创天津
科创内蒙古
科创辽宁
科创江苏
科创广西
科创广东
科创重庆
科创宁夏
科创河北
科创山东
科创河南
科创福建
科创湖南
科创黑龙江
科创湖北
科创浙江
科创山西
科创资讯
科创头条
科协活动
通知公告
科技政策
技术经理人
科技服务团
资源中心
项目库
问题库
案例库
开源库
学术资源
会议展览
品牌栏目
院士开讲
解码新质生产力
金融服务云课堂
企创云课堂
有问题想咨询
有成果想转化
我的交易
我的会议
我报名的路演会议
我的资讯
我的消息
我的动态
我的需求
我的成果
我的
个人资料编辑
退出登录
登录/注册
科创中国
需求发布
成果发布
科创案例库
揭榜挂帅
技术经理人
会议展览
科创联合体
科技服务团
科创资讯
科技政策
院士开讲
学术资源
城市站点
协作站点
搜索
问题库
项目库
开源库
English
我的交易
我的会议
我报名的路演会议
我的资讯
我的消息
我的动态
我的需求
我的成果
我的
个人资料编辑
退出登录
登录/注册
组织入驻
隐藏工作区
全国
在线展厅
切换展厅
全国
北京市
天津市
河北省
山西省
内蒙古
辽宁省
吉林省
黑龙江省
上海市
江苏省
浙江省
安徽省
福建省
江西省
山东省
河南省
湖北省
湖南省
广东省
广西
海南省
重庆市
四川省
贵州省
云南省
西藏
陕西省
甘肃省
青海省
宁夏
新疆
新疆兵团
路演活动
科技成果
参观
人数
0
0
0
0
0
0
0
点赞
人数
0
0
0
0
0
0
0
技术领域
全部
新兴行业
|
新基建
|
电子信息
|
高端产业
|
生物医药
|
石化与新材料
|
智能机械与光机电一体化
|
节能环保
|
新能源
|
现代农业
|
高端技术服务业
|
农林牧副渔
|
城建规划
|
文化创意
|
矿山工程
|
冶金工程
|
企业管理
|
知识产权
|
智库咨询
|
旅游休闲娱乐
|
企业发展服务
|
电子商务
|
纺织
|
其他
|
更多
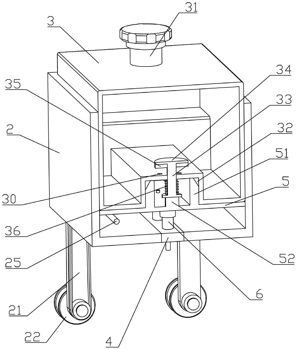
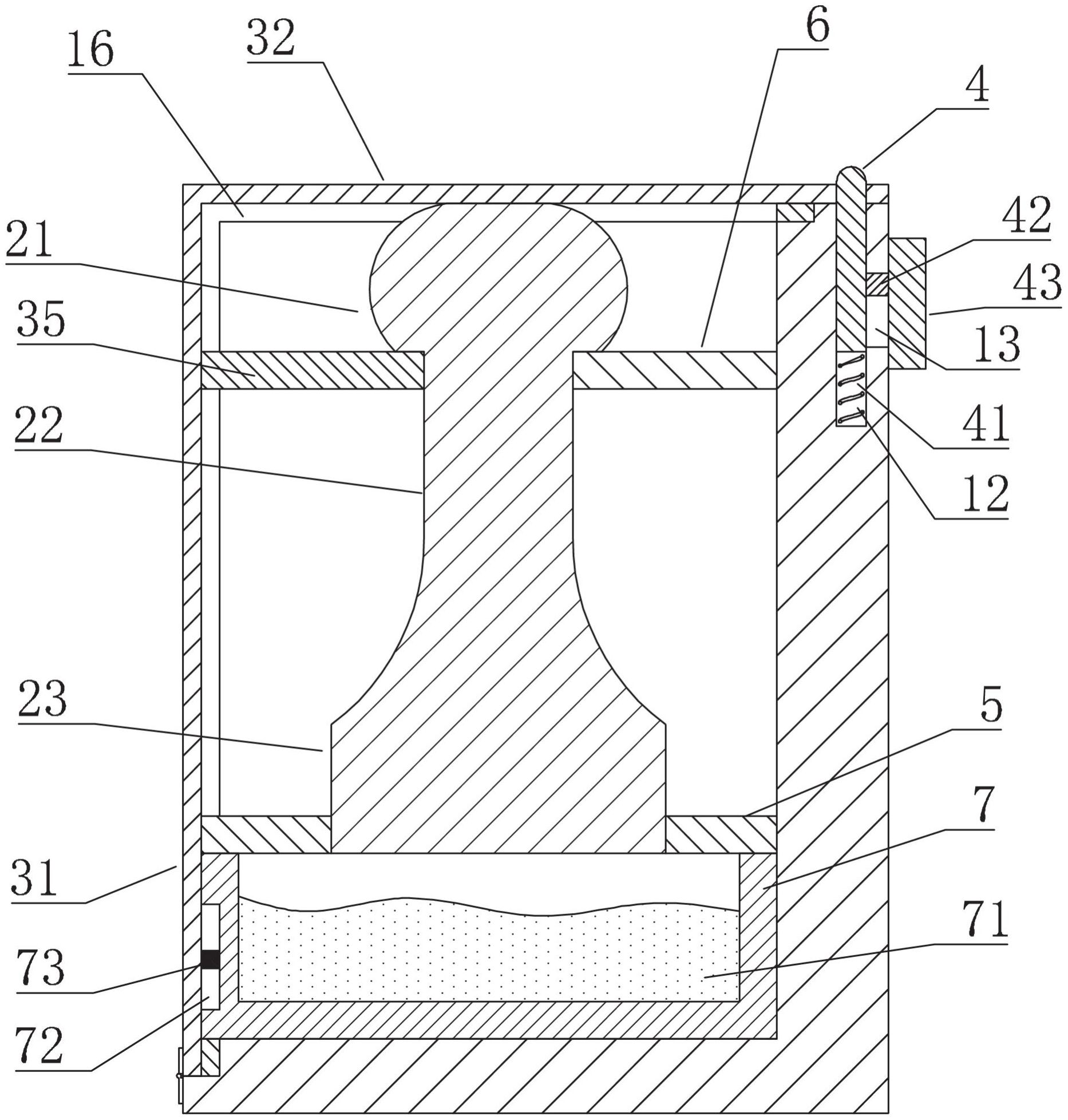
一种拼装式脐橙包装箱
重庆摆渡谷科技发展有限公司
聚合物碳纳米管色谱柱与离子色谱单泵柱切换技术联用的方法
宁波市科技创新协会
一种防潮散热型云计算储存机
重庆摆渡谷科技发展有限公司
基于物联网的环境污染源在线监测与智能管理关键技术及工程应用
宁波益加科创服务有限公司
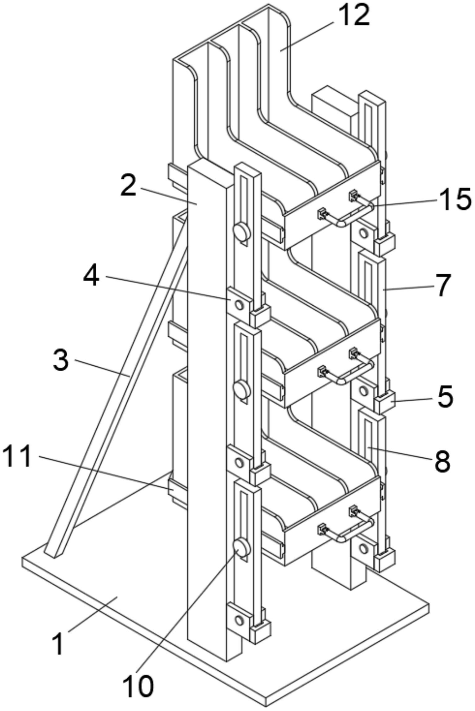
一种云计算数据中心机柜
重庆摆渡谷科技发展有限公司
利用真空微波干燥的速食鱼面的制备方法
宁波市科技创新协会
一种便于移动的云计算设备机箱
重庆摆渡谷科技发展有限公司
一种会计管理用一体化工具盒
重庆摆渡谷科技发展有限公司
一种移动环保公厕排风装置
重庆摆渡谷科技发展有限公司
一种思政教育资料档案收集装置
重庆摆渡谷科技发展有限公司
磁力驱动式手指康复训练器
重庆摆渡谷科技发展有限公司
一种印章盒
重庆摆渡谷科技发展有限公司
一种凭证用打孔装置
重庆摆渡谷科技发展有限公司
一种用于物流运输的辅助装载设备
重庆摆渡谷科技发展有限公司
一种育苗床
重庆摆渡谷科技发展有限公司
一种古文字的可移动图像识别平台及方法
重庆摆渡谷科技发展有限公司
浅埋近距煤层复合采空区煤自燃防治关键技术
宁波益加科创服务有限公司
一种农业生物培养箱
重庆摆渡谷科技发展有限公司
环保型核级防护材料技术产业化及拓展应用
宁波益加科创服务有限公司
一种畜禽养殖发酵饲料微生物检测用采样装置
重庆摆渡谷科技发展有限公司
首页
上一页
3178
3179
3180
3181
3182
3183
3184
下一页
尾页
共15997页 转到
页