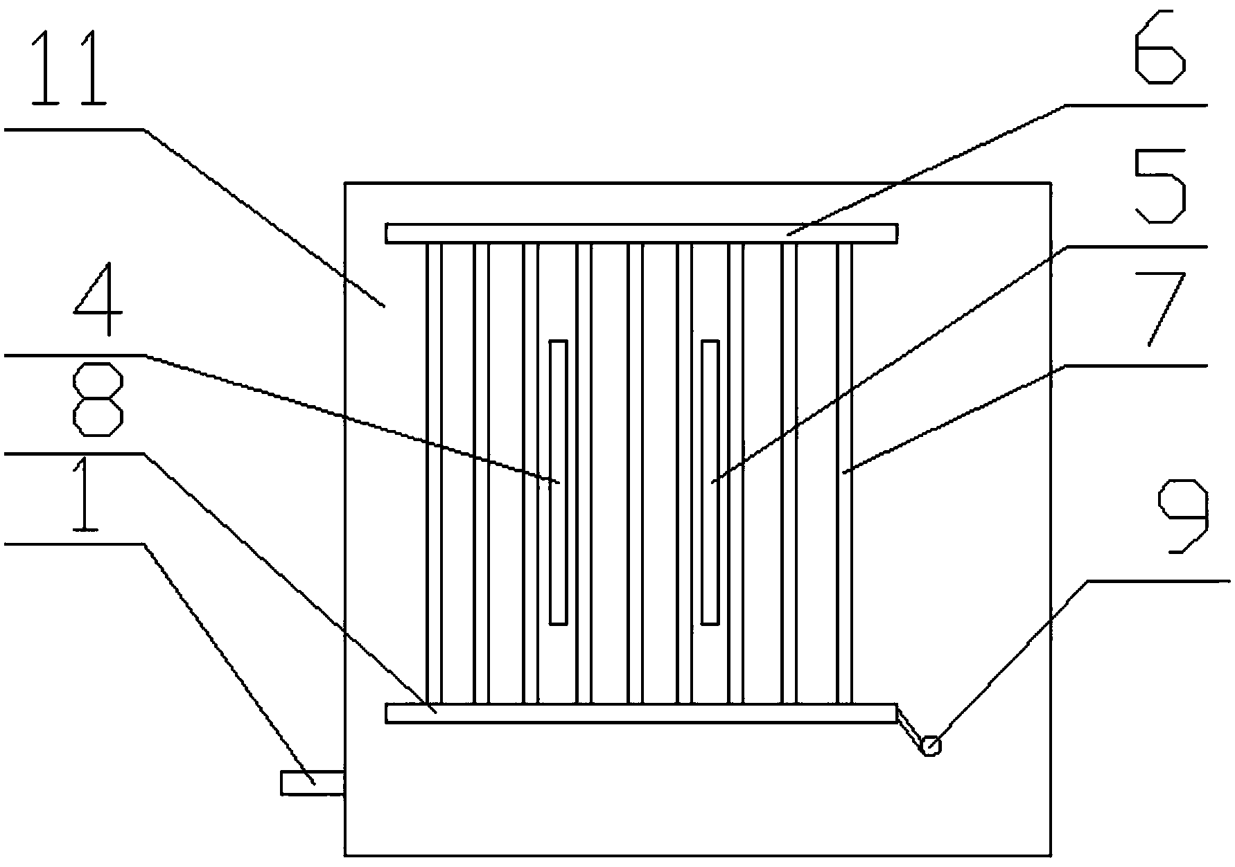
一种紫外光-PVDF杂化膜催化氧化净水装置
黑龙江大学
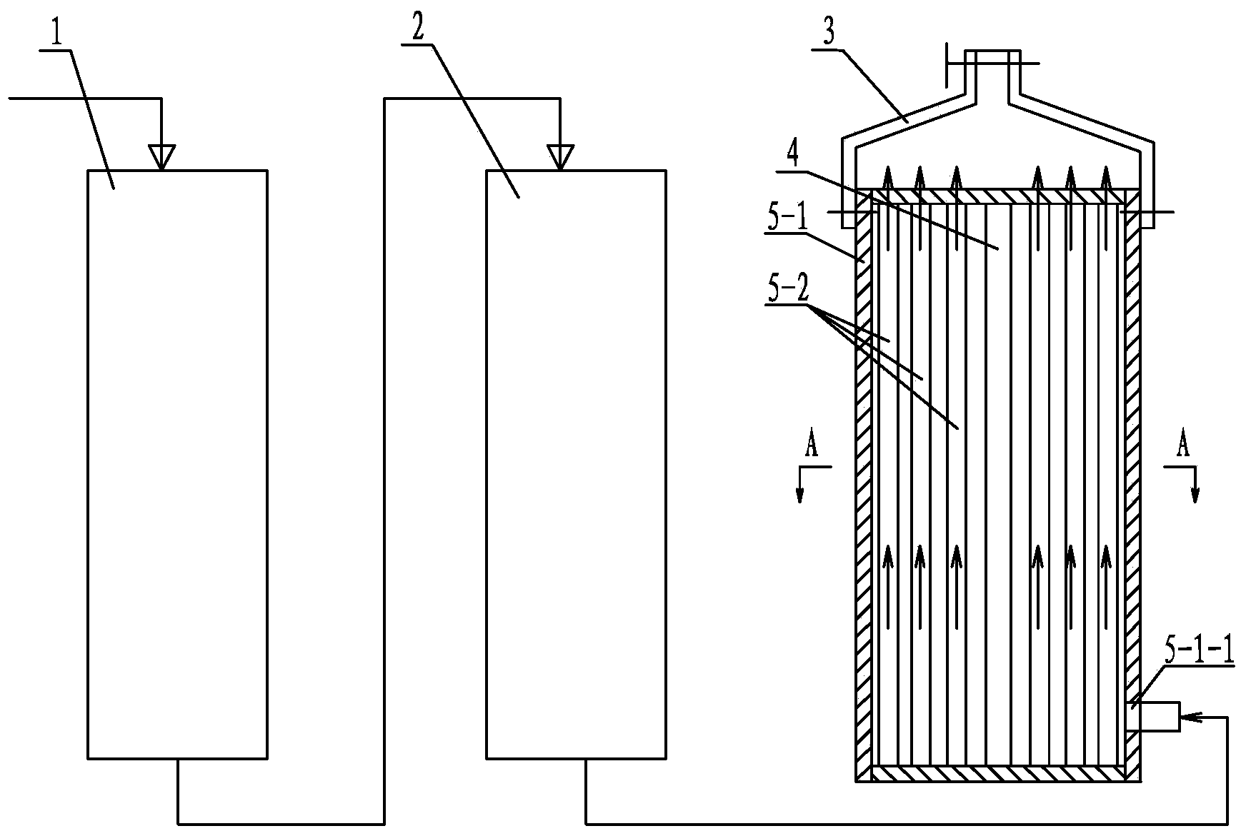
一种臭氧-PVDF杂化膜催化氧化净水装置
黑龙江大学
活络效灵丹不同时段干预对糖尿病肾病免疫-炎症损伤机制的影响
南开科协
多驱动自主遥控网络化拳击模型机器人系统及其控制方法
黑龙江大学
单驱动自主网络拳击模型机器人系统及该机器人系统的控制方法
黑龙江大学
基于FPGA的三相混合式步进电机控制器软核
防灾科技学院
一种真菌发酵产6-羟基蜂蜜曲菌素的方法
黑龙江大学
Smads-RUNX2复合体在RUNX2介导的乳腺癌骨转移进程中的核心调控作用研究
南开科协
巨噬细胞参与胰岛素抵抗,肌肉因子逆转胰岛素抵抗
南开科协
油茶鲜果卸料装置以及油茶生产系统
湖北黄袍山绿色产品有限公司
一种城市黑臭水体监测方法和装置
河南航天宏图有限公司
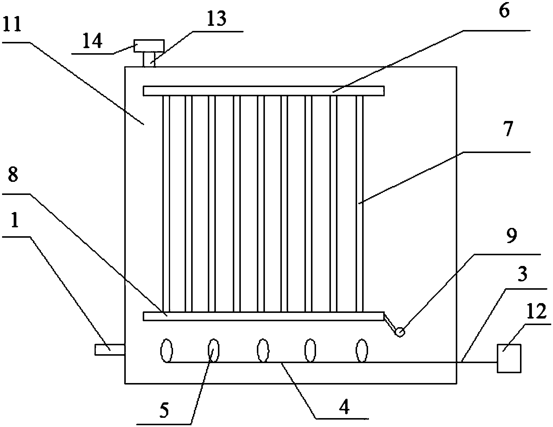
一种具有催化氧化功能的净水器
黑龙江大学
一种丝瓜络抗氧化活性提取物的制备方法及其用途
黑龙江大学
基于办公自动化的批文管理软件系统
宁波市软件行业协会
一种快速无损检测面粉中过氧化苯甲酰含量的方法及应用
黑龙江大学
乳腺癌新生物标志物发现及检测应用
南开科协
用于凹版印刷的油墨体系及使用工艺
哈尔滨金龙盛印刷材料有限公司
基于互联网的智能网络系统
宁波市软件行业协会
一种基于近红外光谱技术快速无损检测小麦硬度的方法及应用
黑龙江大学
智能电外科能量发生器研制
包头迈坦科技服务有限公司
共15997页 转到