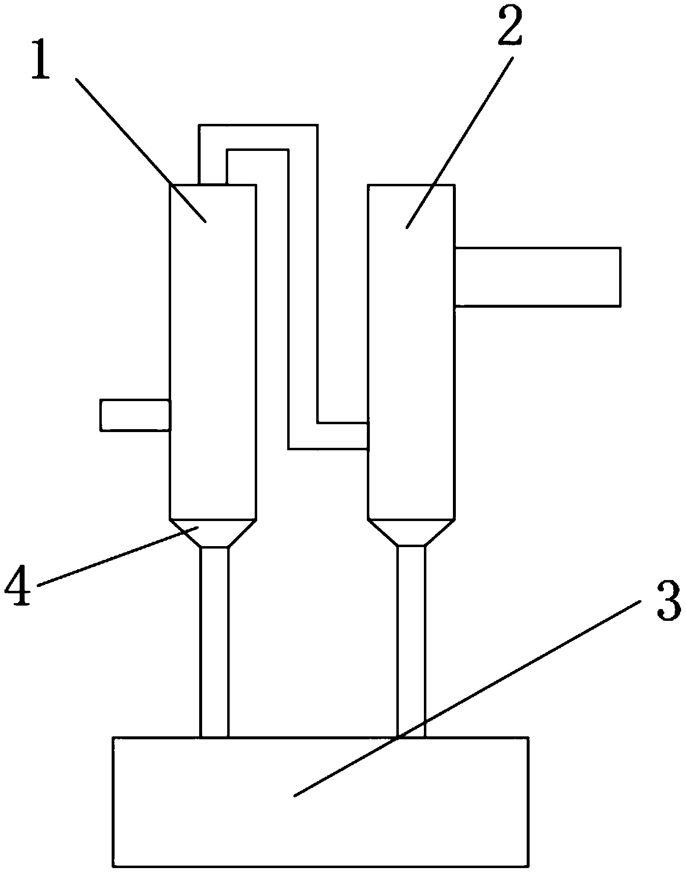
一种便携式核电现场检测样本收集装置
南华大学
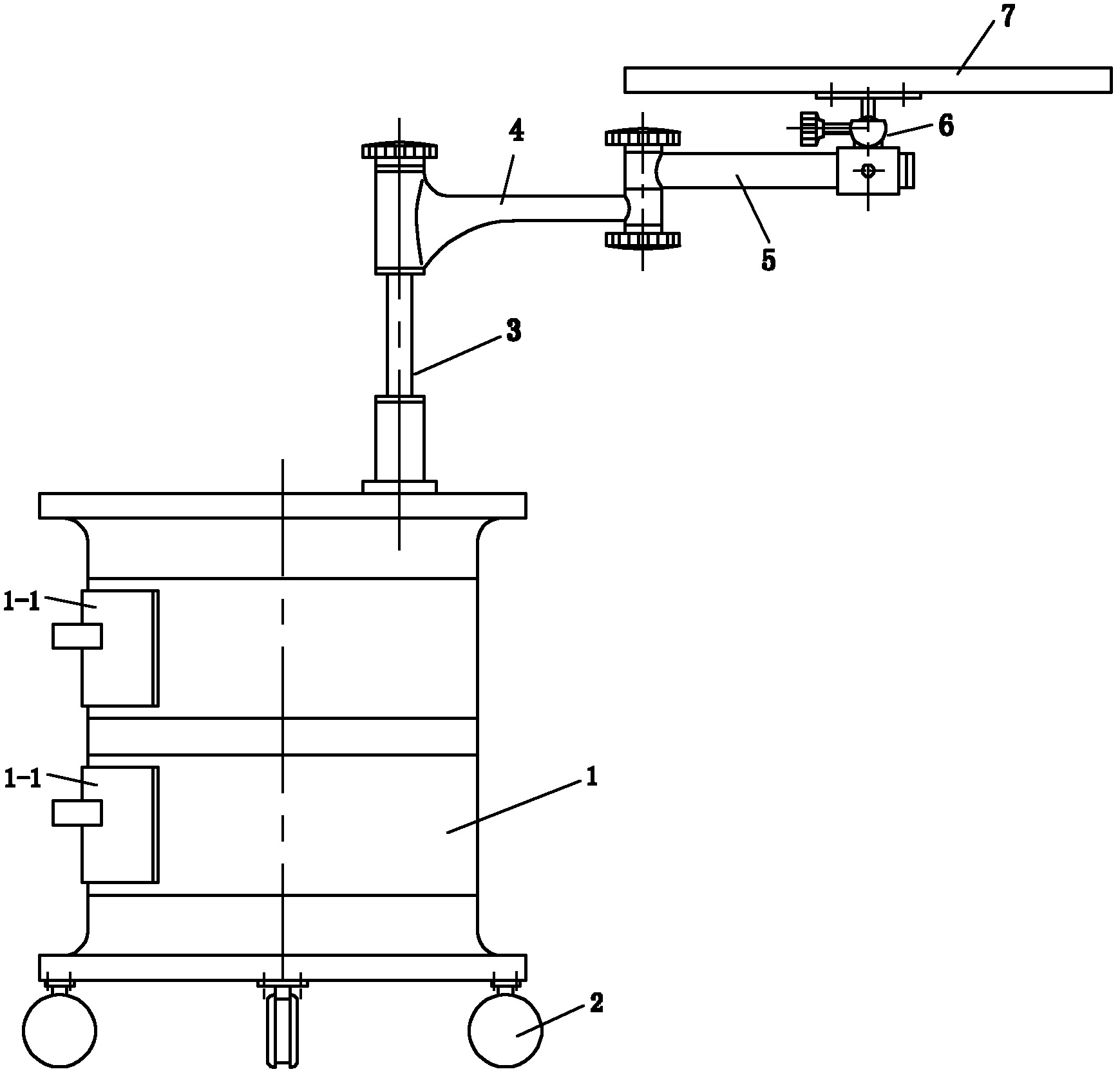
无感化智能睡眠监测装备
华中科技大学专利中心
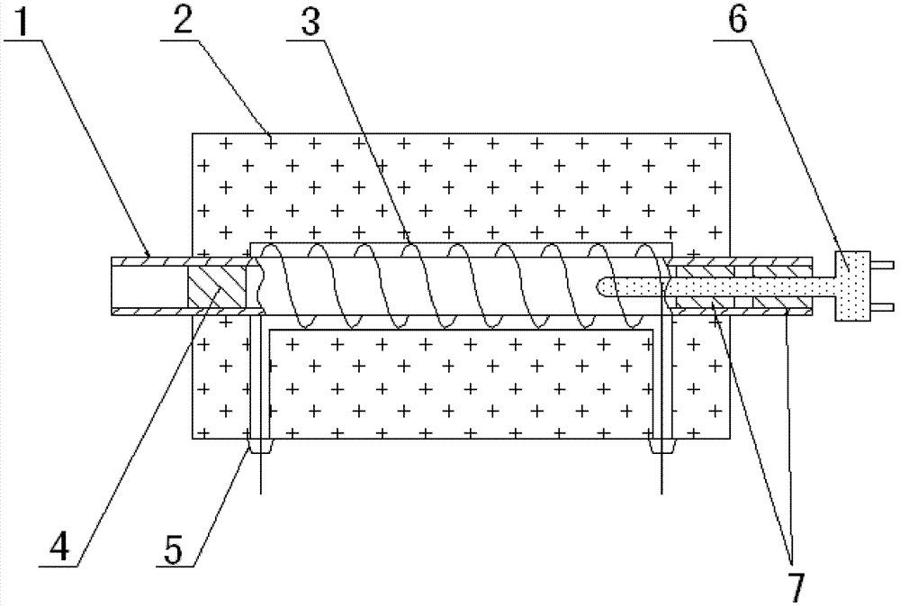
探测材料、光释光剂量元件及其制备方法和应用
南华大学
一种靶向G蛋白偶联受体的化合物的筛选方法
南华大学
一种智能网球
南华大学
一种配合戒毒治疗用的马甲
华中科技大学专利中心
一种高纯REB6纳米粉的制备方法
宁波市科技创新协会
一种液晶聚(甲基)丙烯酸酯类β晶聚丙烯成核剂及其制备方法
宁波市科技创新协会
一种利用陶泥制备路面砖的方法
宁波市科技创新协会
在水热条件下制备纳-微米黄铁矿片、板状晶体的方法
宁波市科技创新协会
一种导热陶瓷基印刷电路板及其制备方法
宁波市科技创新协会
高端半导体光掩膜版量产关键技术
华中科技大学专利中心
新型熔盐温度开关及制备方法
宁波市科技创新协会
轻量化、高刚度复杂结构激光焊接技术
宁波市科技创新协会
一种具有良好亲水性的改性聚乳酸及其生产方法
宁波市科技创新协会
一种锌合金化学抛光处理方法及其溶液
宁波市科技创新协会
铝及铝合金阳极氧化膜常温封闭剂及封闭方法
宁波市科技创新协会
一种实现工件外表面均匀镀膜的磁控溅射装置及方法
宁波市科技创新协会
一种超高纯铝细晶、高取向靶材的制备方法
宁波市科技创新协会
铁基非晶纳米晶软磁材料的激光诱导表面纳米化制备方法
宁波市科技创新协会
共16046页 转到