一种彩色沥青拌和工艺设备的固定架移动 装置
温州大学
一种太阳能循环充电器
南华大学
一种应用于兆瓦级变流器的分布式光纤通讯 系统
温州大学
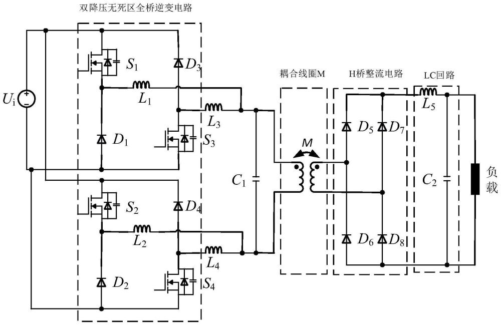
一种兆瓦级变流技术研发平台
温州大学
一种单级高压直流供电的LED开关电源
温州大学
NOD样受体家族与妊娠期生殖道感染关系研究
徐州市妇幼保健院
基于中毒患者诊断及预后评估的应用研究
淮安市第一人民医院
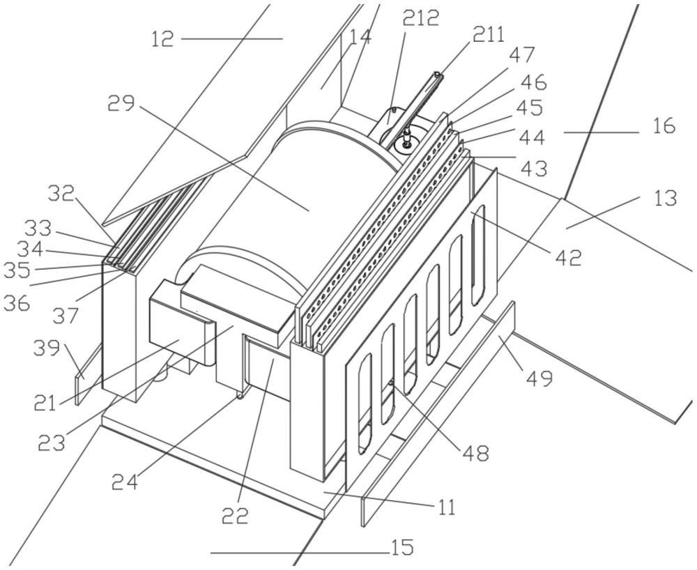
一种橡胶沥青混合料前置筛选系统
温州大学
利用分布式压电电缆阻抗传感技术检测桩 基承载力的系统及其施工和检测方法
温州大学
一种抗辐射作用蝉花多糖的分离纯化方法
温州大学
分割隔仓式软基加固装置及软基处理方法
温州大学
电子礼券自助兑换装置
温州大学
一种建筑装修装置
温州大学
激光平面切割智能控制解决方案
深圳市大族智能控制科技有限公司
治疗青光眼的水凝胶滴眼剂
温州大学
基于人工智能的多任务协同配电站值守作业机器人研发
国网江苏电力有限公司徐州供电分公司
一种小直径塑料套管—金属套管预制桩、制 作方法、应用
温州大学
C-2000除氯自动(滨特尔阀)
哈尔滨斯芙特净水科技有限公司
整体护理视域下癌症患者支持性照护模式的研究与应用
江苏医药职业学院
橡胶沥青混合料前置质量精选分级系统
温州大学
共16046页 转到