一种高速干式铣削的工件表面粗糙度预测方法
重庆摆渡谷科技发展有限公司
板式链条自动化智能组装线
浙江恒久传动科技股份有限公司
关于高逼真度车辆动力学建模工程服务项目
中国汽车工程学会
一种基于杂原子固定量子阱宽度的方法构建的2D/3D杂化结构的钙钛矿薄膜及其应用
重庆摆渡谷科技发展有限公司
含不对称结构单元镉基杂化材料及其制法与在制备补光器件中的应用
重庆摆渡谷科技发展有限公司
一种边缘设有圆台的锻件用模具
重庆摆渡谷科技发展有限公司
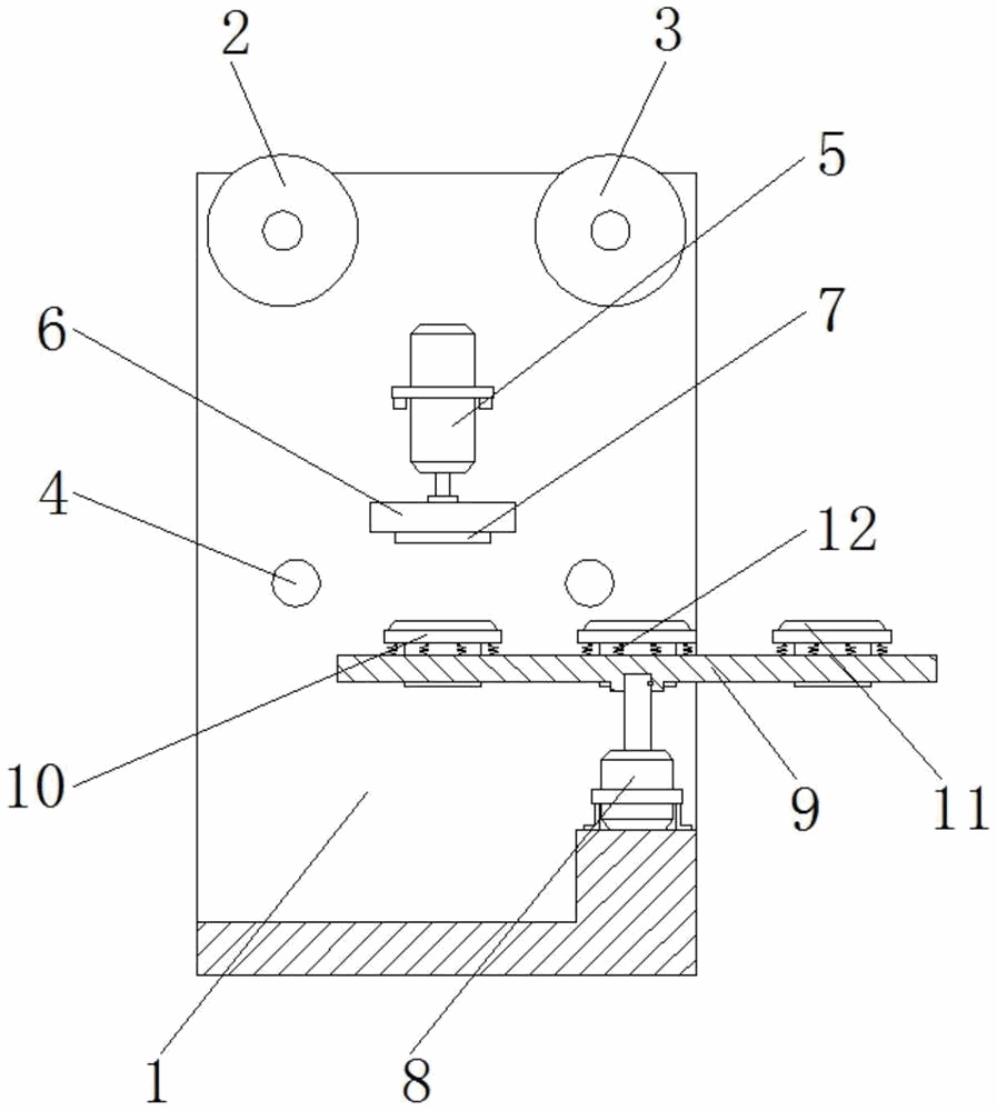
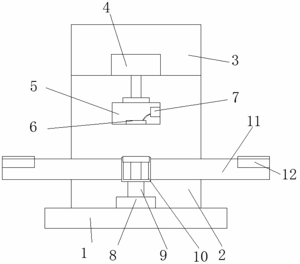
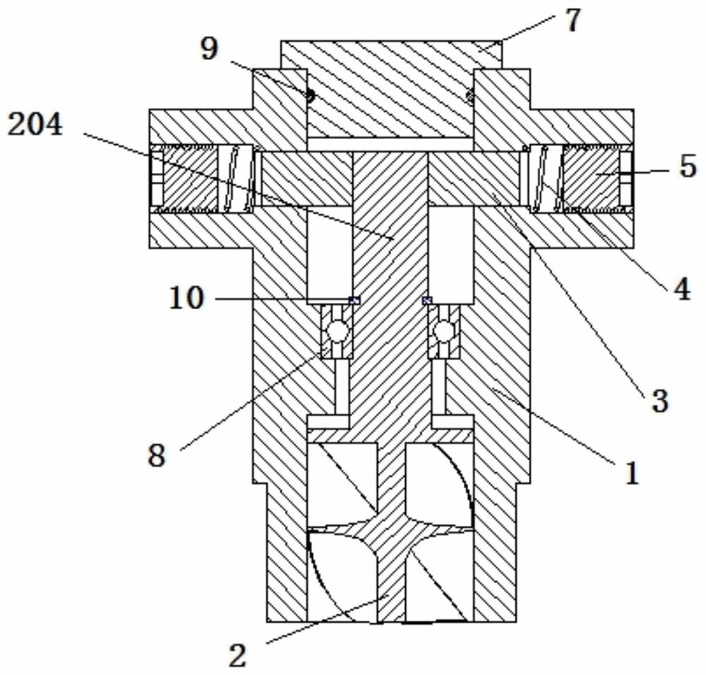
一种道路绿化带松土装置
重庆摆渡谷科技发展有限公司
工业机器人预测性维护平台
北京奔驰汽车有限公司
一种林业生态管护防虫装置
重庆摆渡谷科技发展有限公司
计及多设备老化效应的主动配电网可靠性评估方法
重庆摆渡谷科技发展有限公司
一种设有多向调节的多面屏机器人及其辅助行走结构
重庆摆渡谷科技发展有限公司
具有耐辐照性能的磁流变液及其制备方法
重庆摆渡谷科技发展有限公司
一种骑行环保音响
重庆摆渡谷科技发展有限公司
一种基于控制界面的机器人通信控制方法
重庆摆渡谷科技发展有限公司
环保型益土复酶在土壤修复与肥料增效的技术应用
西藏袁氏农业科技发展有限公司
一种用于水培蔬菜的自动补光种植架
重庆摆渡谷科技发展有限公司
基于短边交叠式矩形导轨的电动汽车IPT系统及设计方法
重庆摆渡谷科技发展有限公司
一种含分布式电源配电网相间短路的自适应距离保护方法
重庆摆渡谷科技发展有限公司
TANK-XM811
上海威强电工业电脑有限公司
一种长航时末端大脉冲热电池用隔膜及其制备方法
重庆摆渡谷科技发展有限公司
共16046页 转到