一种聚氯乙烯高发泡夹芯彩钢板
新疆天业(集团)有限公司
一种电极糊自动加料系统
新疆天业(集团)有限公司
一种干法乙炔密闭式平皮带机的清料装置
新疆天业(集团)有限公司
一种动物行为和神经活动的同步记录系统及方法
重庆摆渡谷科技发展有限公司
一种风冷相控阵天线
重庆摆渡谷科技发展有限公司
一种高压闪蒸气回收利用的装置
新疆天业(集团)有限公司
一种煤气化粗渣振动脱水装置
新疆天业(集团)有限公司
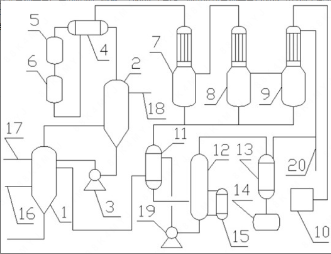
一种乙二醇液相加氢反应器稳定进料的装置
新疆天业(集团)有限公司
一种用于圆极化波前调控的宽频带电控可重构反射超表面单元及结构
重庆摆渡谷科技发展有限公司
一种基于边缘特征的RGB-D视觉里程实现方法
重庆摆渡谷科技发展有限公司
一种强对流天气下基于气象雷达的输电线路风险预警方法
重庆摆渡谷科技发展有限公司
用于矿山微震监测的传感器网络布局优化方法及其应用
重庆摆渡谷科技发展有限公司
检测谷子抗除草剂基因紧密连锁的分子标记的方法
重庆摆渡谷科技发展有限公司
一种含不溶夹层的层状盐岩相似材料制作方法
重庆摆渡谷科技发展有限公司
一种多传感集成的智能化刀柄实时监测与防碰撞系统
重庆摆渡谷科技发展有限公司
一种基于智能融合终端的配电变压器经济运行控制方法
重庆摆渡谷科技发展有限公司
一种内置肖特基接触超势垒二极管的功率金属氧化物半导体场效应晶体管
重庆摆渡谷科技发展有限公司
一种分布式三电机三离合器车辆多模式驱动系统
重庆摆渡谷科技发展有限公司
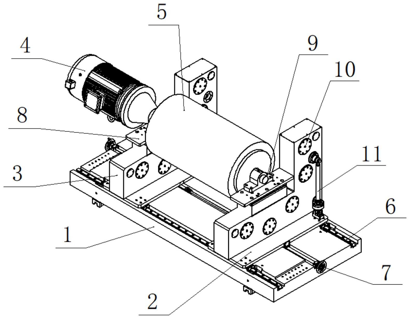
一种滚筒转矩的测量机构和方法
重庆摆渡谷科技发展有限公司
一种具有实时监测切削力的与铣刀共形封装的PVDF压电小面阵传感器
重庆摆渡谷科技发展有限公司
共15998页 转到