机械结构和零件的抗疲劳设计和抗疲劳制造技术
包头迈坦科技服务有限公司
全自动络筒机智能控制系统
包头迈坦科技服务有限公司
柴油机本体结构优化减排关键技术及应用
包头迈坦科技服务有限公司
大型风电叶片磨抛移动式加工机器人系统
华中科技大学专利中心
废锂离子电池及废铅酸电池高值组分资源化分离与再生技术集成
宁波市科技创新协会
南方现代草牧业标准化生产体系产业模式示范与推广
宁波市科技创新协会
高端楼宇全场景商用清洁机器人
麦岩智能科技(北京)有限公司
玉米田苗后除草剂
黑龙江科润生物科技有限公司
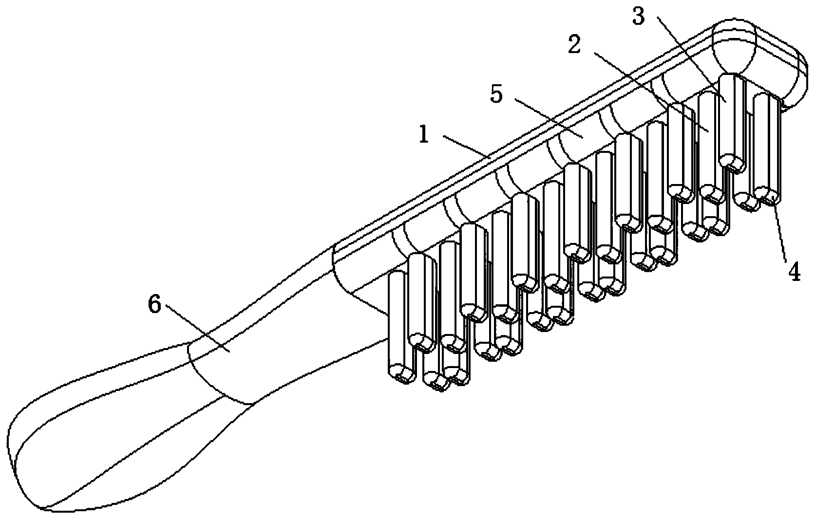
一种等离子梳
常州工学院
植物调节剂
黑龙江科润生物科技有限公司
植物油型助剂
黑龙江科润生物科技有限公司
灭生性除草剂
黑龙江科润生物科技有限公司
颈动脉三维超声成像系统
华中科技大学专利中心
水稻除草剂
黑龙江科润生物科技有限公司
一种交叉轮分拣机
常州工学院
豆田除草剂
黑龙江科润生物科技有限公司
一种基于图像处理的标准公式识别方法
常州工学院
一种消毒灭菌机器人
常州工学院
旱田苗前封闭除草剂
黑龙江科润生物科技有限公司
一种微通道周期性缩扩的板式阻火器
常州工学院
共15998页 转到