H-4000软水机(滨特尔阀)
哈尔滨斯芙特净水科技有限公司
基于灯杆的智慧城市物联网综合解决方案
武进区科技成果转移中心
微控制器芯片启动控制方法、装置、芯片及存储介质
芜湖市繁昌县新鑫科技有限公司
浙江省智慧水利科技推广项目绩效评价与方案设计
武进区科技成果转移中心
一种用于预应力带肋底板的预制组合肋及成品模板
重庆摆渡谷科技发展有限公司
数字隐形码技术
武进区科技成果转移中心
芯片功能模拟装置、方法及电子设备
芜湖市繁昌县新鑫科技有限公司
斯芙特软水机K-2000型
哈尔滨斯芙特净水科技有限公司
一种行星滚柱丝杠和行星减速器的综合性能测试平台
重庆摆渡谷科技发展有限公司
一种地质勘查用的便携式工具箱
防灾科技学院
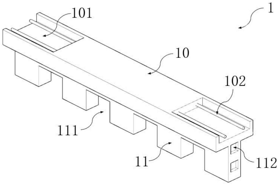
工程测量装置
防灾科技学院
一种电子信息无线信号放大器
防灾科技学院
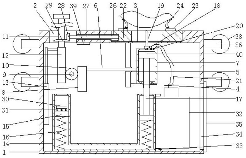
一种装配式可拆卸筒仓
防灾科技学院
燃料电池关键材料核心部件关联数据库的构建方法及数据库
重庆摆渡谷科技发展有限公司
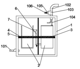
一种无菌箱体
防灾科技学院
一种用于超声引导神经阻滞的增强显影穿刺针
南昌大学第二附属医院
一种快速接头
防灾科技学院
一种腹腔镜甲状腺用皮肤牵拉装置
南昌大学第二附属医院
一种定值三元混合标准气体的制作系统
防灾科技学院
一种糖尿病患者皮下注射辅助装置
南昌大学第二附属医院
共15998页 转到