海洋工程用大口径高寿命分级节流调节阀研发
宁波益加科创服务有限公司
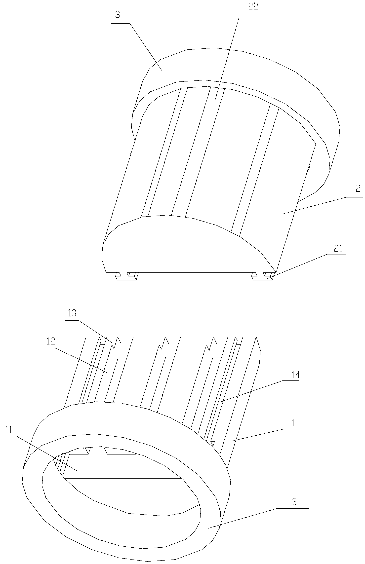
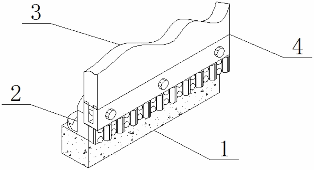
一种翻板闸门的底部止水结构
常州工学院
一种基于大数据的司法痕检用全息显微设备
河北工程大学
一种防漏电电线连接器
常州工学院
一种移动供电装置
常州工学院
增材制造用高流动性铝合金粉末特种制备技术及应用
有研增材技术有限公司
一种智能防撞玻璃传送台
常州工学院
一种锂硫电池仿生人工酶催化剂的制备方 法及其应用
温州大学
一种多机器人协同断路器柔性装配单元及 其系统
温州大学
一种多功能服装
温州大学
一种基于VR的空间能力训练装置
温州大学
一种可再生金属氢氧化物自支撑催化电极及其应用
重庆摆渡谷科技发展有限公司
一种建筑物基坑支护结构
温州大学
纳米硅/非晶碳化硅异质结多势垒变容二极 管及制备方法
温州大学
一种家用型体育体能训练装置
温州大学
一种脲酶微生物矿化加固煤柱的方法
温州大学
基于与非/或非-与异或非图的电路面积和 功耗优化方法
温州大学
一种C-N轴手性芳胺化合物及其制备方法
温州大学
低阶煤炭烘干提质设备
河北工程大学
一种有机复合热电薄膜及其制备方法
博士创新(深圳)科技服务有限公司
共16004页 转到