水稻硬地育秧物联网现场总线管控技术
宁波益加科创服务有限公司
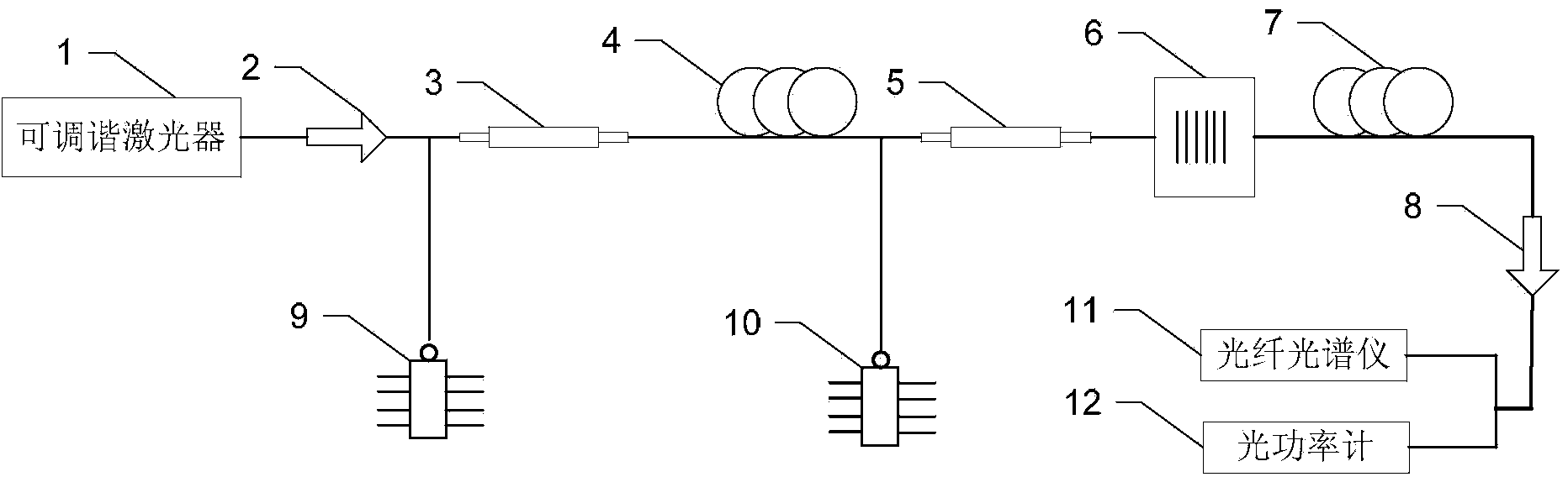
一种用于岩石气体高压吸附的测试仪器
常州工学院
一种服装加工用升降式加工台的制作方法
宁波市科技创新协会
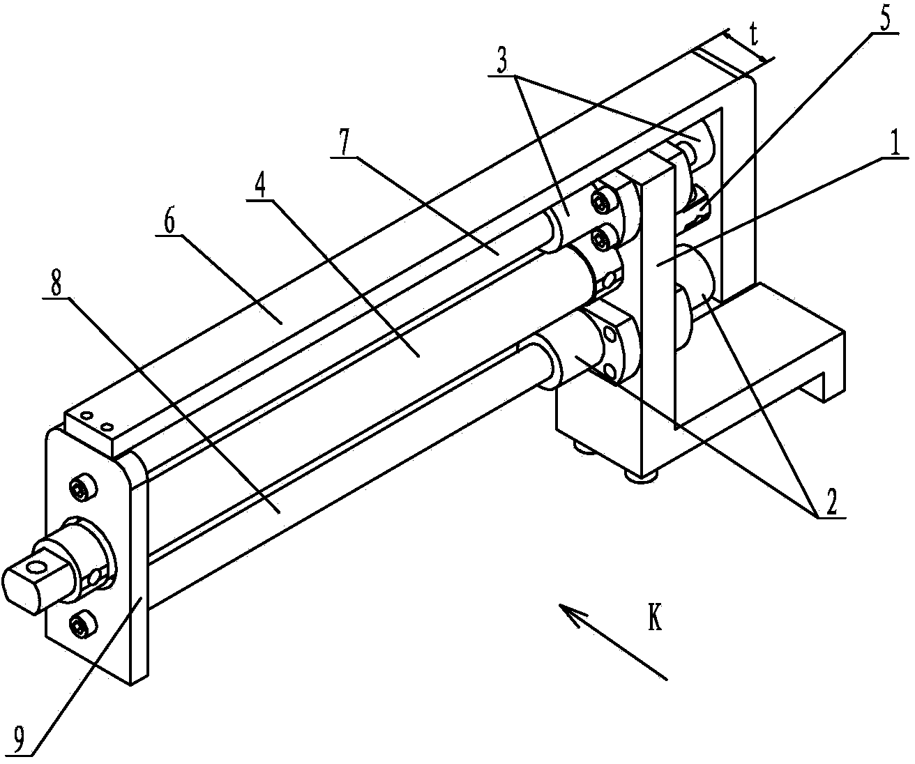
一种用于预埋槽道的拉伸检测组合装置
常州工学院
一株低温条件下高产乙酸乙酯的酵母菌及其应用
宁波益加科创服务有限公司
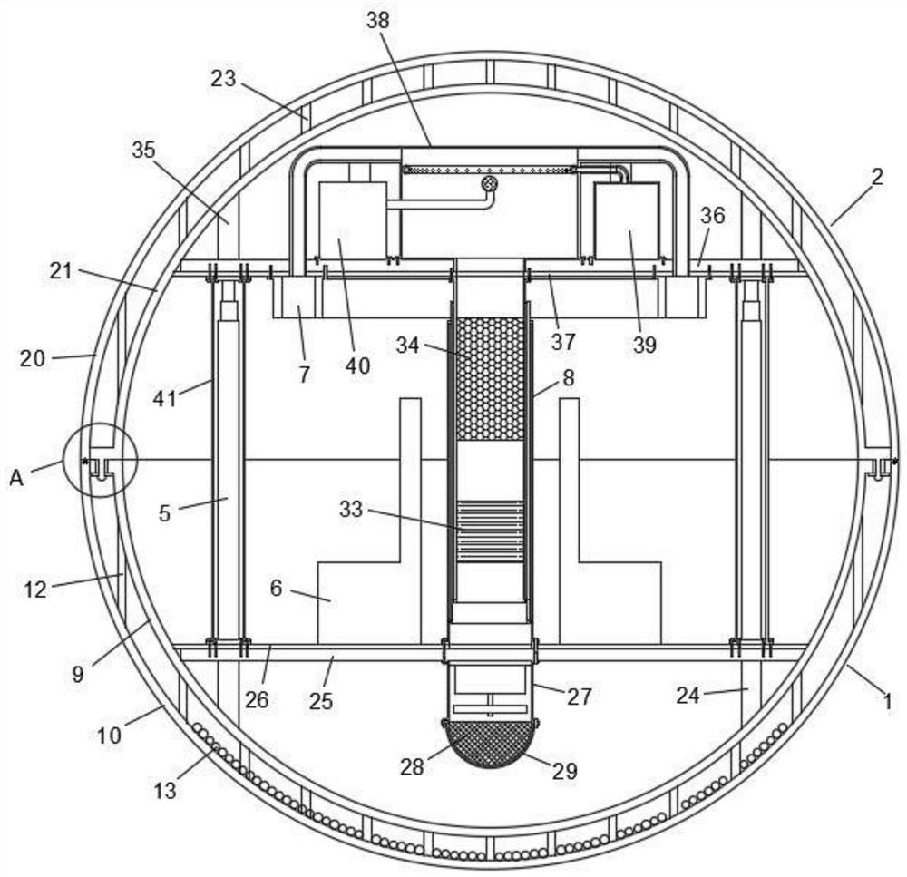
一种废气处理系统
常州大学
用于计算机的仿真流程计算历史数据分析处理图形用户界面
宁波工业互联网研究院
历史文化街区系统化保护与更新设计
宁波市科技创新协会
标准冰场防冻混凝土面层平整度主动控制施工技术
科学技术部火炬高技术产业开发中心技术市场与成果转化处
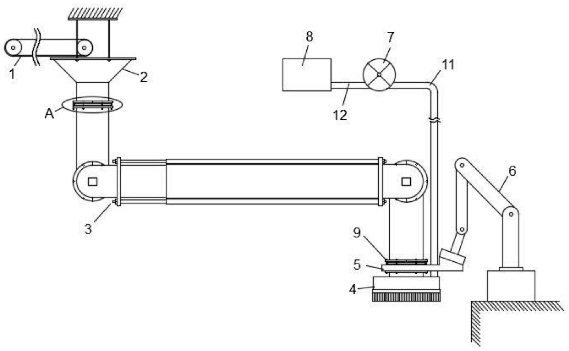
一种箱涵施工用混凝土浇筑设备
常州工学院
大型工程拉索用密封钢丝绳研制
科学技术部火炬高技术产业开发中心技术市场与成果转化处
金银花新品种“华金6号”
山东中医药大学
一种可移动式插座
宁波市科技创新协会
大悬挑斜外檐面板反向安装施工技术
科学技术部火炬高技术产业开发中心技术市场与成果转化处
钢质无缝气瓶氢气管束式集装箱
科学技术部火炬高技术产业开发中心技术市场与成果转化处
用于计算机的仿真流程计算生成报告处理图形用户界面
宁波工业互联网研究院
一种支承刚度可调的行星轮系
常州大学
欠压脱扣器
常州工学院
高弯曲疲劳强度轮辐索
科学技术部火炬高技术产业开发中心技术市场与成果转化处
用于计算机的仿真流程计算图表分析处理图形用户界面
宁波工业互联网研究院
共16046页 转到