科创中国
问题分诊室
具身智能与智慧医疗融合创新产业
高性能装备制造产业
智能机器人全产业链产业
中医药产业
人工智能产业
新一代信息技术产业
作物产业
量子科技与先进制造产业
海洋装备产业
煤炭开采及煤化工产业
特殊钢产业
节能环保产业
低空经济产业
光电产业
汽车产业
新能源产业
新材料产业
“以竹代塑”
成果发布厅
新型电力系统
化学领域
现代纺织
低空经济
信息通信
智慧公路
煤炭开采及煤化工
中医药
智能机器人全产业链
海洋装备
新一代信息技术
量子科技与先进制造
人工智能
高性能装备制造
具身智能与智慧医疗融合创新
作物
科创地方
科创北京
科创天津
科创内蒙古
科创辽宁
科创江苏
科创广西
科创广东
科创重庆
科创宁夏
科创河北
科创山东
科创河南
科创福建
科创湖南
科创黑龙江
科创湖北
科创浙江
科创山西
科创资讯
科创头条
科协活动
通知公告
科技政策
技术经理人
科技服务团
资源中心
项目库
问题库
案例库
开源库
学术资源
会议展览
品牌栏目
院士开讲
解码新质生产力
金融服务云课堂
企创云课堂
有问题想咨询
有成果想转化
我的交易
我的会议
我报名的路演会议
我的资讯
我的消息
我的动态
我的需求
我的成果
我的
个人资料编辑
退出登录
登录/注册
科创中国
需求发布
成果发布
科创案例库
揭榜挂帅
技术经理人
会议展览
科创联合体
科技服务团
科创资讯
科技政策
院士开讲
学术资源
城市站点
协作站点
搜索
问题库
项目库
开源库
English
我的交易
我的会议
我报名的路演会议
我的资讯
我的消息
我的动态
我的需求
我的成果
我的
个人资料编辑
退出登录
登录/注册
组织入驻
隐藏工作区
全国
在线展厅
切换展厅
全国
北京市
天津市
河北省
山西省
内蒙古
辽宁省
吉林省
黑龙江省
上海市
江苏省
浙江省
安徽省
福建省
江西省
山东省
河南省
湖北省
湖南省
广东省
广西
海南省
重庆市
四川省
贵州省
云南省
西藏
陕西省
甘肃省
青海省
宁夏
新疆
新疆兵团
路演活动
科技成果
参观
人数
0
0
0
0
0
0
0
点赞
人数
0
0
0
0
0
0
0
技术领域
全部
新兴行业
|
新基建
|
电子信息
|
高端产业
|
生物医药
|
石化与新材料
|
智能机械与光机电一体化
|
节能环保
|
新能源
|
现代农业
|
高端技术服务业
|
农林牧副渔
|
城建规划
|
文化创意
|
矿山工程
|
冶金工程
|
企业管理
|
知识产权
|
智库咨询
|
旅游休闲娱乐
|
企业发展服务
|
电子商务
|
纺织
|
其他
|
更多
富营养化初期湖泊退化生境综合改善技术体系
科学技术部火炬高技术产业开发中心技术市场与成果转化处
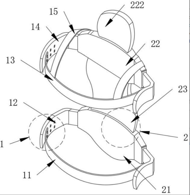
海环实用(一种有触觉刺激功能的儿童餐具)
浙江国跃科技有限公司
基于应变啁啾效应的温度不敏感FBG加速度传感器及方法
防灾科技学院
一种夜间灯光数据的校正方法
防灾科技学院
一种用于边坡抗震加固的消能式桩锚结构
防灾科技学院
吉林查干湖湿地植物对农田退水净化技术的研究
科学技术部火炬高技术产业开发中心技术市场与成果转化处
一种精确定位系统及方法
河北工程大学
一种游泳教学训练用辅助装置及其使用方法
防灾科技学院
访客预约平台
浙江国跃科技有限公司
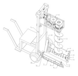
一种用于软弱夹层地质勘探的钻探装置
防灾科技学院
镍钴湿法冶金工艺中碱基活化控制技术
中国恩菲工程技术有限公司
高含砷工业危废填埋污染控制关键技术及产业化应用
中国恩菲工程技术有限公司
跨断层作用下建筑物结构抗断裂能力试验模拟装置及方法
防灾科技学院
基于小波神经网络预测模型的水害风险分析方法
防灾科技学院
一种基于深度学习的数字图像隐写分析方法
博士创新(深圳)科技服务有限公司
一种深度学习的空气质量监测方法以及装置、设备
防灾科技学院
多材料激光粉床增材制造技术
华中科技大学
一种基于深度学习的视频取证方法
博士创新(深圳)科技服务有限公司
隐藏模型训练及使用方法、装置和计算机可读存储介质
博士创新(深圳)科技服务有限公司
一种基于深度学习模型的隐写图像检测方法及系统
博士创新(深圳)科技服务有限公司
首页
上一页
2989
2990
2991
2992
2993
2994
2995
下一页
尾页
共16004页 转到
页