科创中国
问题分诊室
具身智能与智慧医疗融合创新产业
高性能装备制造产业
智能机器人全产业链产业
中医药产业
人工智能产业
新一代信息技术产业
作物产业
量子科技与先进制造产业
海洋装备产业
煤炭开采及煤化工产业
特殊钢产业
节能环保产业
低空经济产业
光电产业
汽车产业
新能源产业
新材料产业
“以竹代塑”
成果发布厅
新型电力系统
化学领域
现代纺织
低空经济
信息通信
智慧公路
煤炭开采及煤化工
中医药
智能机器人全产业链
海洋装备
新一代信息技术
量子科技与先进制造
人工智能
高性能装备制造
具身智能与智慧医疗融合创新
作物
科创地方
科创北京
科创天津
科创内蒙古
科创辽宁
科创江苏
科创广西
科创广东
科创重庆
科创宁夏
科创河北
科创山东
科创河南
科创福建
科创湖南
科创黑龙江
科创湖北
科创浙江
科创山西
科创资讯
科创头条
科协活动
通知公告
科技政策
技术经理人
科技服务团
资源中心
项目库
问题库
案例库
开源库
学术资源
会议展览
品牌栏目
院士开讲
解码新质生产力
金融服务云课堂
企创云课堂
有问题想咨询
有成果想转化
我的交易
我的会议
我报名的路演会议
我的资讯
我的消息
我的动态
我的需求
我的成果
我的
个人资料编辑
退出登录
登录/注册
科创中国
需求发布
成果发布
科创案例库
揭榜挂帅
技术经理人
会议展览
科创联合体
科技服务团
科创资讯
科技政策
院士开讲
学术资源
城市站点
协作站点
搜索
问题库
项目库
开源库
English
我的交易
我的会议
我报名的路演会议
我的资讯
我的消息
我的动态
我的需求
我的成果
我的
个人资料编辑
退出登录
登录/注册
组织入驻
隐藏工作区
全国
在线展厅
切换展厅
全国
北京市
天津市
河北省
山西省
内蒙古
辽宁省
吉林省
黑龙江省
上海市
江苏省
浙江省
安徽省
福建省
江西省
山东省
河南省
湖北省
湖南省
广东省
广西
海南省
重庆市
四川省
贵州省
云南省
西藏
陕西省
甘肃省
青海省
宁夏
新疆
新疆兵团
路演活动
科技成果
参观
人数
0
0
0
0
0
0
0
点赞
人数
0
0
0
0
0
0
0
技术领域
全部
新兴行业
|
新基建
|
电子信息
|
高端产业
|
生物医药
|
石化与新材料
|
智能机械与光机电一体化
|
节能环保
|
新能源
|
现代农业
|
高端技术服务业
|
农林牧副渔
|
城建规划
|
文化创意
|
矿山工程
|
冶金工程
|
企业管理
|
知识产权
|
智库咨询
|
旅游休闲娱乐
|
企业发展服务
|
电子商务
|
纺织
|
其他
|
更多
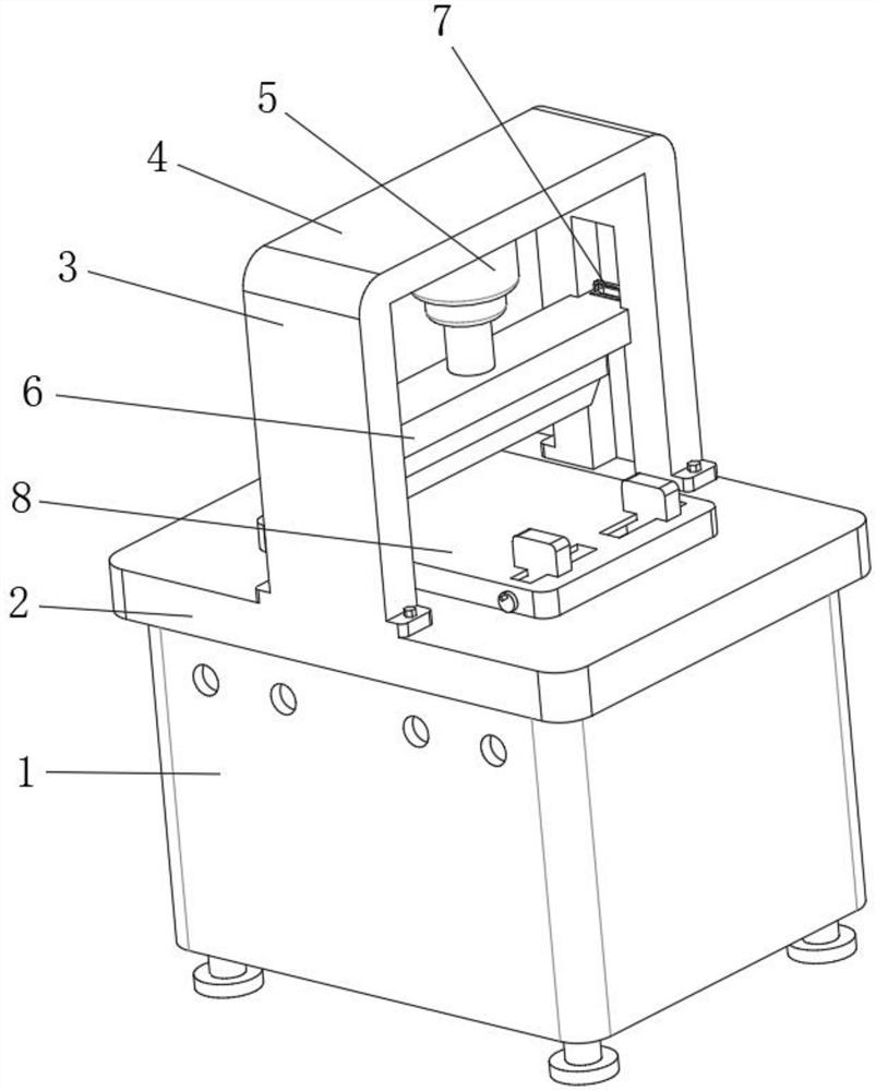
一种带防尘功能的矿山机械用自动化电气控制柜
南华大学
一种用于砂砾粒径筛分的多层级筛沙机
南华大学
杰伦实用(一种骨头按摩器)
浙江国跃科技有限公司
疾病相关miRNA预测系统
南华大学
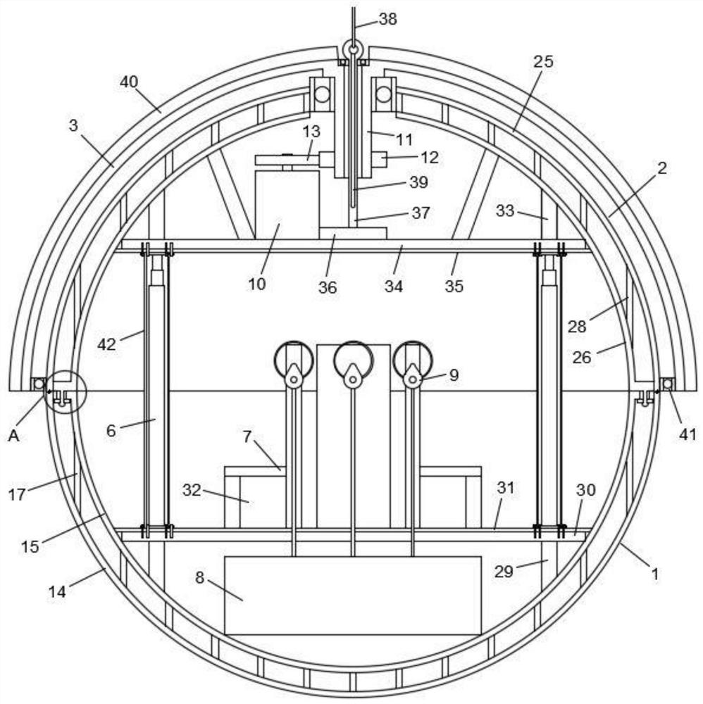
一种操作及维修安全的乏燃料组件剪切机
南华大学
一种地下矿井紧急救生装置
南华大学
一种复合水凝胶的制备方法、复合水凝胶及其应用
南华大学
嘉东实用(一种适配性高的滤芯器扳手)
浙江国跃科技有限公司
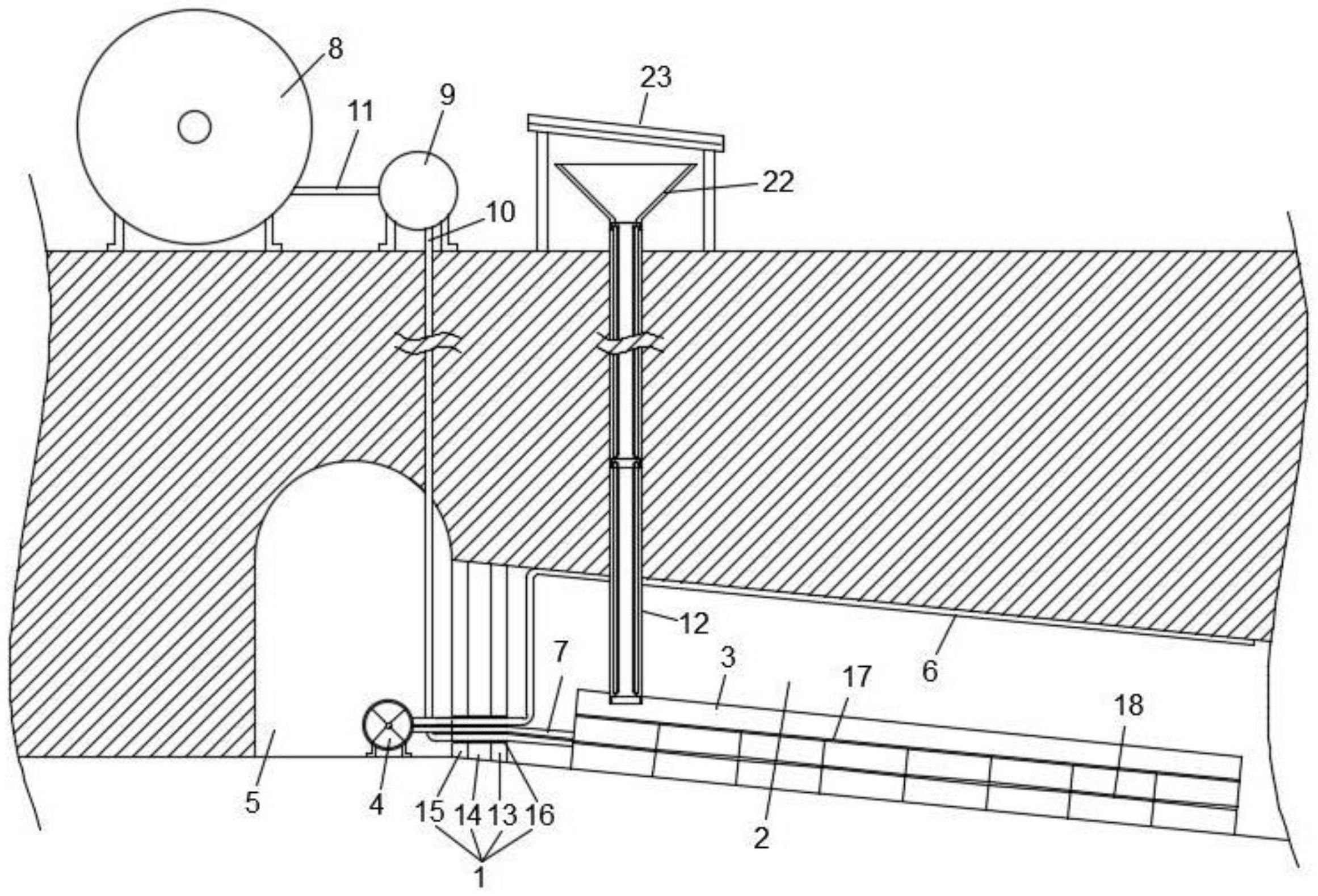
一种废气矿井修复系统
南华大学
单一窗口输单系统
浙江国跃科技有限公司
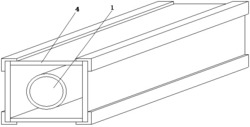
一种高强度隧道通风管道
河北工程大学
菜地土壤氮磷面源污染快速检测及其评价和防控技术应用
科学技术部火炬高技术产业开发中心技术市场与成果转化处
城镇智能化公务出行综合管理服务平台建设与应用
科学技术部火炬高技术产业开发中心技术市场与成果转化处
集成化高性能微纳机电射频谐振器件
科学技术部火炬高技术产业开发中心技术市场与成果转化处
基于二调成果发布共享的地理信息系统开发研究
科学技术部火炬高技术产业开发中心技术市场与成果转化处
人防工程高精度智能监测系统
科学技术部火炬高技术产业开发中心技术市场与成果转化处
售电管理装置
科学技术部火炬高技术产业开发中心技术市场与成果转化处
中能恒泰电力需求侧管理系统
科学技术部火炬高技术产业开发中心技术市场与成果转化处
城市管廊智能化运维及多状态在线监测关键技术及应用
科学技术部火炬高技术产业开发中心技术市场与成果转化处
一种井下钻孔内带压分段定位截止装置及方法
防灾科技学院
首页
上一页
2987
2988
2989
2990
2991
2992
2993
下一页
尾页
共16004页 转到
页