科创中国
问题分诊室
具身智能与智慧医疗融合创新产业
高性能装备制造产业
智能机器人全产业链产业
中医药产业
人工智能产业
新一代信息技术产业
作物产业
量子科技与先进制造产业
海洋装备产业
煤炭开采及煤化工产业
特殊钢产业
节能环保产业
低空经济产业
光电产业
汽车产业
新能源产业
新材料产业
“以竹代塑”
成果发布厅
新型电力系统
化学领域
现代纺织
低空经济
信息通信
智慧公路
煤炭开采及煤化工
中医药
智能机器人全产业链
海洋装备
新一代信息技术
量子科技与先进制造
人工智能
高性能装备制造
具身智能与智慧医疗融合创新
作物
科创地方
科创北京
科创天津
科创内蒙古
科创辽宁
科创河北
科创湖南
科创宁夏
科创广东
科创江苏
科创广西
科创重庆
科创山东
科创河南
科创福建
科创黑龙江
科创湖北
科创浙江
科创山西
科创资讯
科创头条
科协活动
通知公告
科技政策
技术经理人
科技服务团
资源中心
项目库
问题库
案例库
开源库
会议展览
品牌栏目
院士开讲
解码新质生产力
金融服务云课堂
企创云课堂
有问题想咨询
有成果想转化
我的交易
我的会议
我报名的路演会议
我的资讯
我的消息
我的动态
我的需求
我的成果
我的
个人资料编辑
退出登录
登录/注册
科创中国
需求发布
成果发布
科创案例库
揭榜挂帅
技术经理人
会议展览
科创联合体
科技服务团
科创资讯
科技政策
院士开讲
学术资源
城市站点
协作站点
搜索
问题库
项目库
开源库
English
我的交易
我的会议
我报名的路演会议
我的资讯
我的消息
我的动态
我的需求
我的成果
我的
个人资料编辑
退出登录
登录/注册
组织入驻
隐藏工作区
全国
在线展厅
切换展厅
全国
北京市
天津市
河北省
山西省
内蒙古
辽宁省
吉林省
黑龙江省
上海市
江苏省
浙江省
安徽省
福建省
江西省
山东省
河南省
湖北省
湖南省
广东省
广西
海南省
重庆市
四川省
贵州省
云南省
西藏
陕西省
甘肃省
青海省
宁夏
新疆
新疆兵团
路演活动
科技成果
参观
人数
0
0
0
0
0
0
0
点赞
人数
0
0
0
0
0
0
0
技术领域
全部
新兴行业
|
新基建
|
电子信息
|
高端产业
|
生物医药
|
石化与新材料
|
智能机械与光机电一体化
|
节能环保
|
新能源
|
现代农业
|
高端技术服务业
|
农林牧副渔
|
城建规划
|
文化创意
|
矿山工程
|
冶金工程
|
企业管理
|
知识产权
|
智库咨询
|
旅游休闲娱乐
|
企业发展服务
|
电子商务
|
纺织
|
其他
|
更多
应用于纤维素基产品生产的生物脱毒菌剂的开发与应用
宁波市科技创新协会
基于星座点距离的信息检测方法、装置及接收设备
博士创新(深圳)科技服务有限公司
注聚井电控式连续可调分层测调技术
宁波市科技创新协会
内蒙古自治区新巴尔虎左旗陶来托铅锌钼多金属矿普查
科学技术部火炬高技术产业开发中心技术市场与成果转化处
核应急机器人躲避地面障碍物的方法
南华大学
甲醇钠溶液配制引风除尘系统
中国煤炭学会
黔北安场向斜油气有利目标区优选与参数井钻探
科学技术部火炬高技术产业开发中心技术市场与成果转化处
悦白无机矿物阻燃墙面漆
宁波市涂料与涂装行业协会
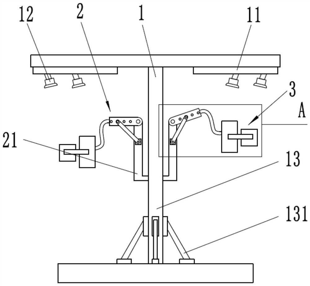
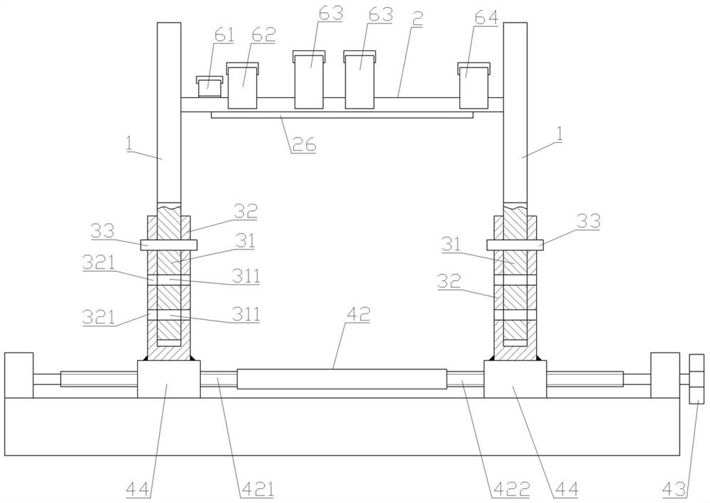
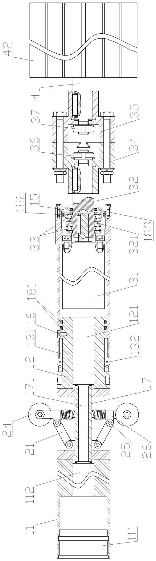
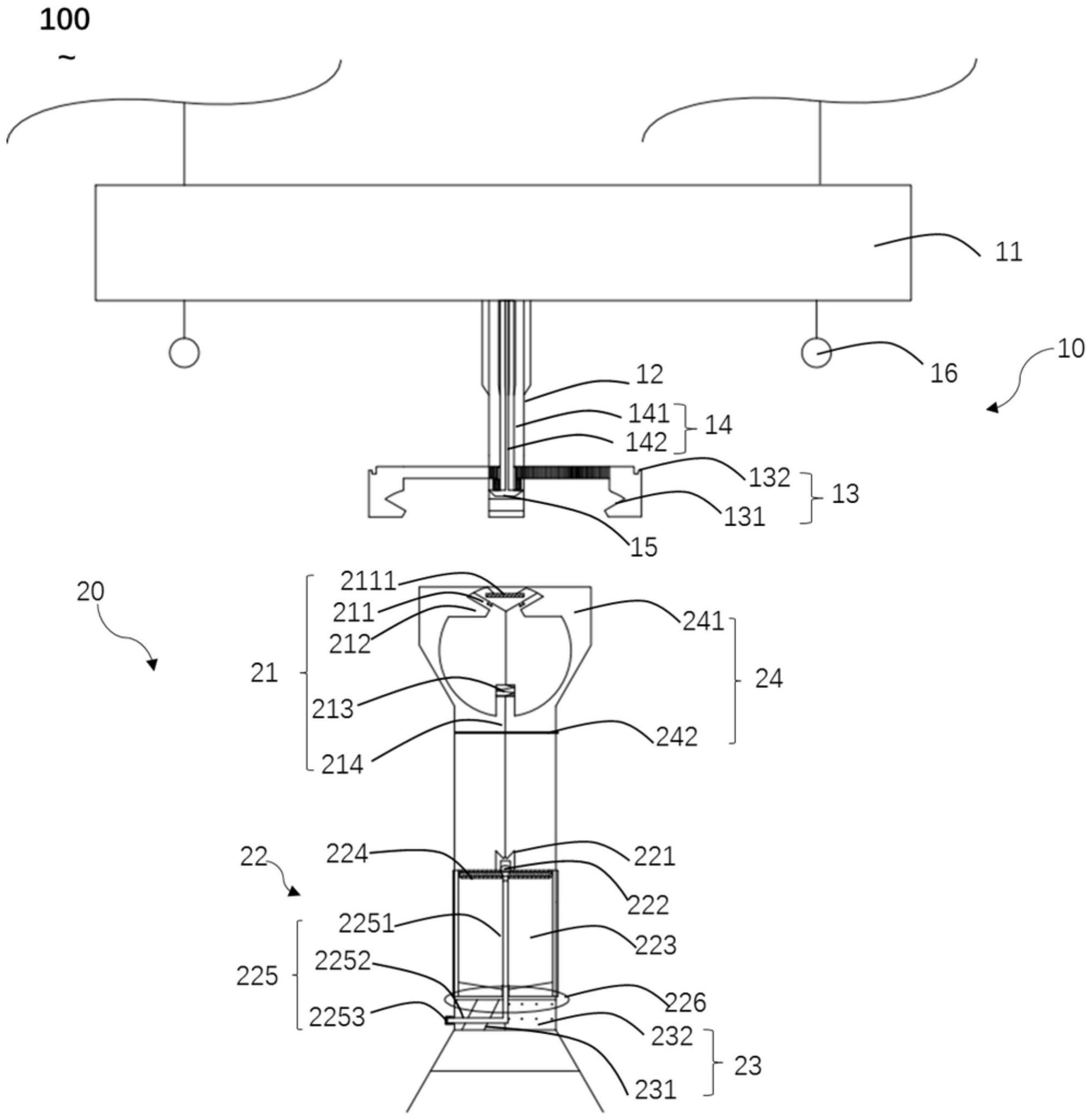
一种电子信息工程模具展示存储柜
南华大学
SCR脱销催化剂及其再生改性成套技术
宁波市科技创新协会
高寒地区半地下的温室多能互补的智能化种植系统技术示范
科学技术部火炬高技术产业开发中心技术市场与成果转化处
一种含酯键的卟啉-白杨素复合物及其抗肿瘤活性
南华大学
生物制药用甲醇储存罐
中国煤炭学会
一种空气源换热系统
南华大学
含锶铌等稀土稀有矿综合利用及其尾矿资源化技术研究
科学技术部火炬高技术产业开发中心技术市场与成果转化处
一种适用于数控的压花装置
南华大学
基于幅度差的信息检测方法、装置及接收设备
博士创新(深圳)科技服务有限公司
液态CO2相变射流冲击力影响因素及变化规律实验方法
南华大学
驿点腐蚀电镀锌工艺数据管理系统V1.0
上海启迪创业孵化器有限公司
自动化流水线监控系统V1.0
上海启迪创业孵化器有限公司
首页
上一页
2940
2941
2942
2943
2944
2945
2946
下一页
尾页
共16046页 转到
页