脉冲波生物质处理技术
宁波益加科创服务有限公司
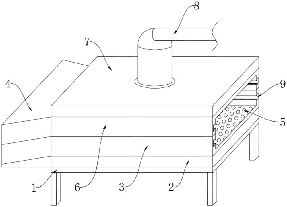
一种用于尼龙塑料的冷却机构
佰能高分子材料(湖北)有限公司
一种防近视自动提示液晶电视机
哈尔滨医科大学
一种真空保温的新能源汽车电池热能效率优化装置
东北林业大学
功率超声波辐照处置设备
东北林业大学
一种膜孔动态伸缩纳滤膜及其制备方法、使用方法和应用
中国科学院生态环境研究中心
一种同步回收污水中氮磷的一体化反应装置和方法
中国科学院生态环境研究中心
负载漆酶的多孔微载体、制备方法及应用
中国科学院生态环境研究中心
淡水鱼类健康养殖技术的研究
天津市科技成果展示交易运营中心
优质肉羊生产技术示范
天津市科技成果展示交易运营中心
常见果树病害数值诊断法的推广应用
天津市科技成果展示交易运营中心
波尔山羊品种引进及杂交利用研究
天津市科技成果展示交易运营中心
奶牛小区综合饲养技术研究
天津市科技成果展示交易运营中心
鸡腺胃型传支的致病性研究及综合防治
天津市科技成果展示交易运营中心
高杆菠菜(耐盐碱)示范推广
天津市科技成果展示交易运营中心
冬季日光温室生产克服障碍性天气关键技术研究
天津市科技成果展示交易运营中心
枣优新品种引进、优选及配套栽培技术研究
天津市科技成果展示交易运营中心
冬小麦-夏玉米轮作业动态平衡施肥配方的研究
天津市科技成果展示交易运营中心
动物寄生虫病综合防治技术推广
天津市科技成果展示交易运营中心
河蟹养殖专家决策咨询系统的开发与应用技术
天津市科技成果展示交易运营中心
共16004页 转到