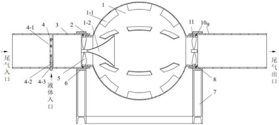
一种尾气协同净化装置
南通大学
室温氧化石墨烯/酞菁复合材料氨敏元件及其制备方法
黑龙江大学
一种预焙阳极生产用余热回收系统及其使用方法
赤壁长城炭素制品有限公司
一种高寒地区冷水鱼养殖尾水处理方法
东北林业大学
一种固载金属官能化离子液体催化合成环状碳酸酯的方法
黑龙江大学
毛果杨PtrMIF2基因在调控树木维管形成层发育中的应用
东北林业大学
单片机用锂电池式短时供电系统及供电的方法
黑龙江大学
pH敏感的纳米改性羟磷灰石/铁-单宁酸的制备及应用
东北林业大学
一种基于时域差分电流测量的物理不可克隆芯片电路
博士创新(深圳)科技服务有限公司
米思发明(一种用于步行杖的合金外锁夹具及其加工工艺)
浙江国跃科技有限公司
单片机用电容式短时供电装置及供电方法
黑龙江大学
一种预焙阳极生产中阳极生坯用冷却装置
赤壁长城炭素制品有限公司
一种预焙阳极生产用烟气粉尘净化系统及其使用方法
赤壁长城炭素制品有限公司
一种预焙阳极生产中煤沥青融化设备
赤壁长城炭素制品有限公司
一种基于弱反射率光纤布喇格光栅的掺铒光纤放大器
黑龙江大学
一种天然气吸附罐体热交换系统
东北林业大学
一种刀片切削式的秸秆循环粉碎装置
东北林业大学
一种生物质平模成型机
东北林业大学
多功能化修饰叔丁基咔唑膦氧主体材料、合成方法及其应用
黑龙江大学
一种木材缺陷检测机械装置
东北林业大学
共16004页 转到