科创中国
问题分诊室
具身智能与智慧医疗融合创新产业
高性能装备制造产业
智能机器人全产业链产业
中医药产业
人工智能产业
新一代信息技术产业
作物产业
量子科技与先进制造产业
海洋装备产业
煤炭开采及煤化工产业
特殊钢产业
节能环保产业
低空经济产业
光电产业
汽车产业
新能源产业
新材料产业
“以竹代塑”
成果发布厅
新型电力系统
化学领域
现代纺织
低空经济
信息通信
智慧公路
煤炭开采及煤化工
中医药
智能机器人全产业链
海洋装备
新一代信息技术
量子科技与先进制造
人工智能
高性能装备制造
具身智能与智慧医疗融合创新
作物
科创地方
科创北京
科创天津
科创内蒙古
科创辽宁
科创江苏
科创广西
科创广东
科创重庆
科创宁夏
科创河北
科创山东
科创河南
科创福建
科创湖南
科创黑龙江
科创湖北
科创浙江
科创山西
科创资讯
科创头条
科协活动
通知公告
科技政策
技术经理人
科技服务团
资源中心
项目库
问题库
案例库
开源库
学术资源
会议展览
品牌栏目
院士开讲
解码新质生产力
金融服务云课堂
企创云课堂
有问题想咨询
有成果想转化
我的交易
我的会议
我报名的路演会议
我的资讯
我的消息
我的动态
我的需求
我的成果
我的
个人资料编辑
退出登录
登录/注册
科创中国
需求发布
成果发布
科创案例库
揭榜挂帅
技术经理人
会议展览
科创联合体
科技服务团
科创资讯
科技政策
院士开讲
学术资源
城市站点
协作站点
搜索
问题库
项目库
开源库
English
我的交易
我的会议
我报名的路演会议
我的资讯
我的消息
我的动态
我的需求
我的成果
我的
个人资料编辑
退出登录
登录/注册
组织入驻
隐藏工作区
全国
在线展厅
切换展厅
全国
北京市
天津市
河北省
山西省
内蒙古
辽宁省
吉林省
黑龙江省
上海市
江苏省
浙江省
安徽省
福建省
江西省
山东省
河南省
湖北省
湖南省
广东省
广西
海南省
重庆市
四川省
贵州省
云南省
西藏
陕西省
甘肃省
青海省
宁夏
新疆
新疆兵团
路演活动
科技成果
参观
人数
0
0
0
0
0
0
0
点赞
人数
0
0
0
0
0
0
0
技术领域
全部
新兴行业
|
新基建
|
电子信息
|
高端产业
|
生物医药
|
石化与新材料
|
智能机械与光机电一体化
|
节能环保
|
新能源
|
现代农业
|
高端技术服务业
|
农林牧副渔
|
城建规划
|
文化创意
|
矿山工程
|
冶金工程
|
企业管理
|
知识产权
|
智库咨询
|
旅游休闲娱乐
|
企业发展服务
|
电子商务
|
纺织
|
其他
|
更多
一种木质伸缩阅读书架
东北林业大学
高铁隧道泥质充填破碎带三维高精度探测及智能化机械化施工关键技术
科学技术部火炬高技术产业开发中心技术市场与成果转化处
具有磁电耦合的bifeo3-bi0.5na0.5tio3基陶瓷固溶体,其制备方法和应用
常州工学院
一种基于模式识别的中子伽马脉冲甄别方法
南华大学
一种基于半导体Peltier效应的高效节能电饭煲
南华大学
一种物流快递包装袋封包装置
东北林业大学
用于航空航天的外壳安装装置
常州工学院
面向多媒体及通信等领域的多核处理器
宁波益加科创服务有限公司
一种定时定量宠物喂食装置及其投喂机构和清洗机构
东北林业大学
一种预制桥墩与承台的连接及施工方法
南华大学
一种具有层叠式机构的快递柜
东北林业大学
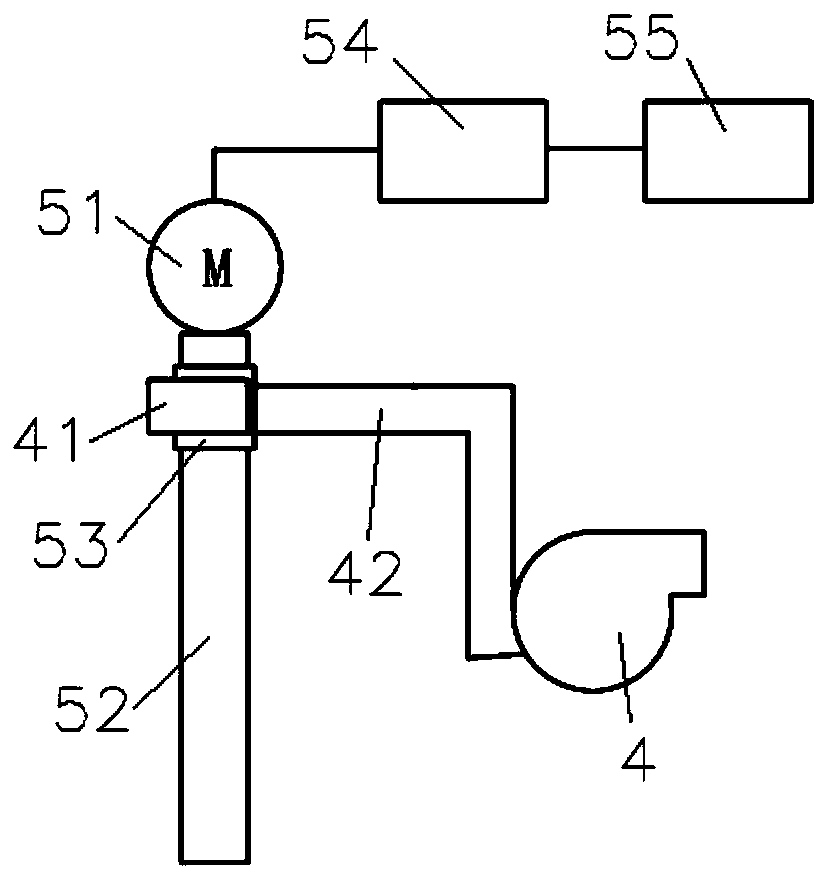
一种全自动人造板垛打包机
东北林业大学
自循环新型冠状病毒空气净化方法和装置
常州工学院
一种基于光伏发电驱动半导体制冷的辅助车载空调系统
南华大学
一种热气溶胶灭火剂腐蚀性的评价方法
常州大学
一种可移动木质胶合弯曲暖瓶收纳装置
东北林业大学
西迈外观(六角拼装户外柴火炉)
浙江国跃科技有限公司
一种基于模板匹配的污水处理检测方法
山东中治环境工程设备有限公司
便携式节能洗衣机
南华大学
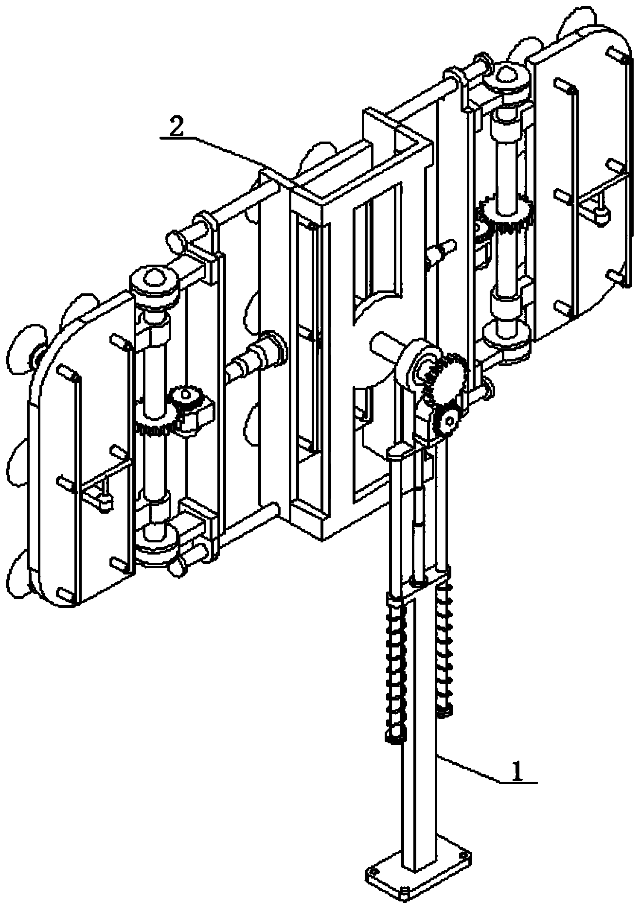
一种全自动对称式悬臂薄膜双缠绕装置
东北林业大学
首页
上一页
2887
2888
2889
2890
2891
2892
2893
下一页
尾页
共16004页 转到
页