科创中国
问题分诊室
具身智能与智慧医疗融合创新产业
高性能装备制造产业
智能机器人全产业链产业
中医药产业
人工智能产业
新一代信息技术产业
作物产业
量子科技与先进制造产业
海洋装备产业
煤炭开采及煤化工产业
特殊钢产业
节能环保产业
低空经济产业
光电产业
汽车产业
新能源产业
新材料产业
“以竹代塑”
成果发布厅
新型电力系统
化学领域
现代纺织
低空经济
信息通信
智慧公路
煤炭开采及煤化工
中医药
智能机器人全产业链
海洋装备
新一代信息技术
量子科技与先进制造
人工智能
高性能装备制造
具身智能与智慧医疗融合创新
作物
科创地方
科创北京
科创天津
科创内蒙古
科创辽宁
科创江苏
科创广西
科创广东
科创重庆
科创宁夏
科创河北
科创山东
科创河南
科创福建
科创湖南
科创黑龙江
科创湖北
科创浙江
科创山西
科创资讯
科创头条
科协活动
通知公告
科技政策
技术经理人
科技服务团
资源中心
项目库
问题库
案例库
开源库
学术资源
会议展览
品牌栏目
院士开讲
解码新质生产力
金融服务云课堂
企创云课堂
有问题想咨询
有成果想转化
我的交易
我的会议
我报名的路演会议
我的资讯
我的消息
我的动态
我的需求
我的成果
我的
个人资料编辑
退出登录
登录/注册
科创中国
需求发布
成果发布
科创案例库
揭榜挂帅
技术经理人
会议展览
科创联合体
科技服务团
科创资讯
科技政策
院士开讲
学术资源
城市站点
协作站点
搜索
问题库
项目库
开源库
English
我的交易
我的会议
我报名的路演会议
我的资讯
我的消息
我的动态
我的需求
我的成果
我的
个人资料编辑
退出登录
登录/注册
组织入驻
隐藏工作区
全国
在线展厅
切换展厅
全国
北京市
天津市
河北省
山西省
内蒙古
辽宁省
吉林省
黑龙江省
上海市
江苏省
浙江省
安徽省
福建省
江西省
山东省
河南省
湖北省
湖南省
广东省
广西
海南省
重庆市
四川省
贵州省
云南省
西藏
陕西省
甘肃省
青海省
宁夏
新疆
新疆兵团
路演活动
科技成果
参观
人数
0
0
0
0
0
0
0
点赞
人数
0
0
0
0
0
0
0
技术领域
全部
新兴行业
|
新基建
|
电子信息
|
高端产业
|
生物医药
|
石化与新材料
|
智能机械与光机电一体化
|
节能环保
|
新能源
|
现代农业
|
高端技术服务业
|
农林牧副渔
|
城建规划
|
文化创意
|
矿山工程
|
冶金工程
|
企业管理
|
知识产权
|
智库咨询
|
旅游休闲娱乐
|
企业发展服务
|
电子商务
|
纺织
|
其他
|
更多
农业滴灌用滴头
新疆天业(集团)有限公司
一种用于实验鼠高强度间歇训练的设备
温州医科大学
一种用于海面漂浮光伏组件的无人机检测设备
常州工学院
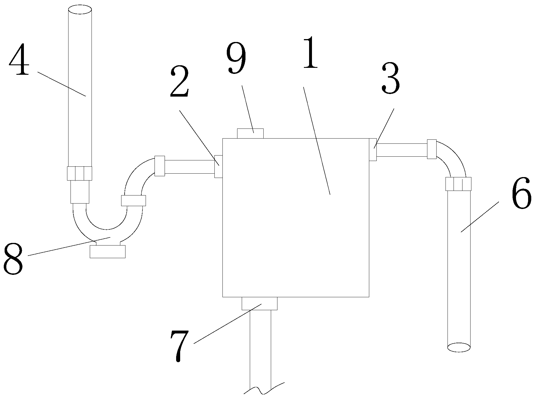
一次盐水氯化钠生产中入料系统限位装置
新疆天业(集团)有限公司
一种助听器声场景分类方法
常州工学院
一种利用硅基介孔材料脱除烟气中二氧化硫的装置
南华大学
企业员工外出定位考勤系统
哈尔滨锦博恒网络科技有限公司
一种自动追光式发电装置及其控制系统
南华大学
智能化学气相沉积法制备多类功能及结构薄膜技术
宁波市科技创新协会
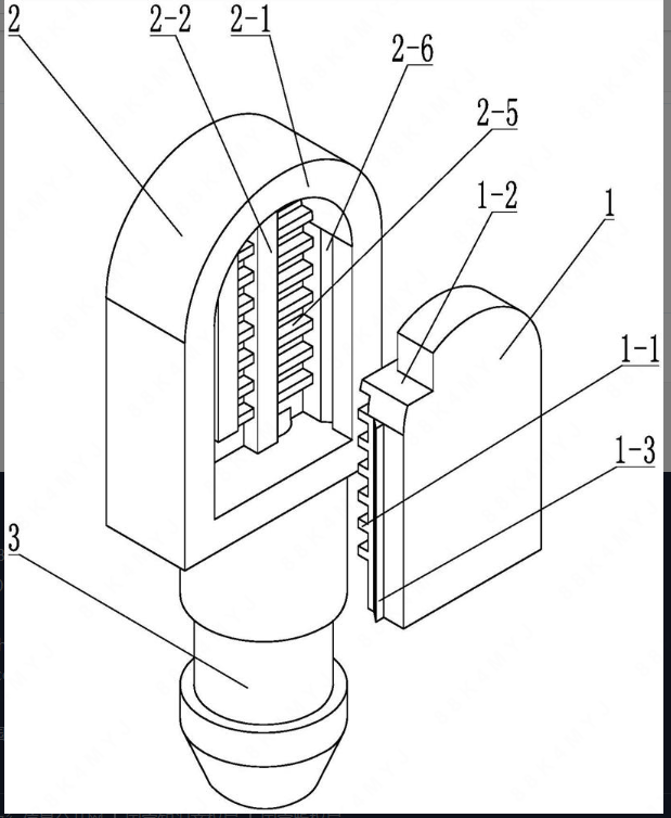
一种能实时监测锚索预应力的锚杆装置
南华大学
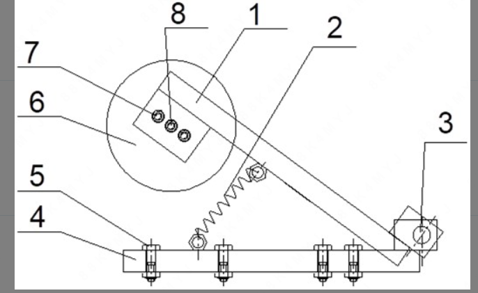
高脚马
温州大学
一种氡扩散系数的测量装置及测量方法
南华大学
双转子差速多功能车辆驱动系统
温州大学
眼镜框架 45 度激光焊接装置
温州大学
一种带有球囊结构的局部封闭式血栓溶解装置
南华大学
同属 - 同事实名生活社区
深圳市同属网络科技有限公司
低温烟气选择性催化脱销关键技术开发及应用
海亮集团有限公司
一种依附于建筑物的雨水收集利用系统
南华大学
基于BIM底层的物联网平台智慧管理
深圳市安比科技有限公司
一种P改性g-C3N4催化剂的制备方法及其应用
南华大学
首页
上一页
2815
2816
2817
2818
2819
2820
2821
下一页
尾页
共16004页 转到
页