捕获氡气用螺旋推进式钻头
防灾科技学院
增强型磁悬浮风力运行设备
常州工学院
一种一维视角发光方向可控型显示器
中国民用航空飞行学院
一种模块化自助借还书机
常州工学院
一种基于多模型融合的空管安全数据运行保障系统及方法
中国民用航空飞行学院
一种电催化氧化反应检测设备
常州工学院
一种纯相透明氧化亚铜薄膜的制备方法
常州工学院
一种含MXene的仿动物毛笔及其制备方法
常州工学院
一种智能交通中的机动车辆识别系统
常州工学院
一种输电线路双足机器人末端机械手装置
宁波市科技创新协会
一种GC-MS测定纺织品中甲基汞和乙基汞含量的方法
常州工学院
行星式旋转流化原子层沉积方法及装置
宁波市科技创新协会
华科一号无人机项目
宁波市科技创新协会
一种可自动切除膜内侧浇口的注塑模
常州工学院
一种测定水体中氨氮的荧光分析方法
常州工学院
电机-转盘式静音分料器
常州工学院
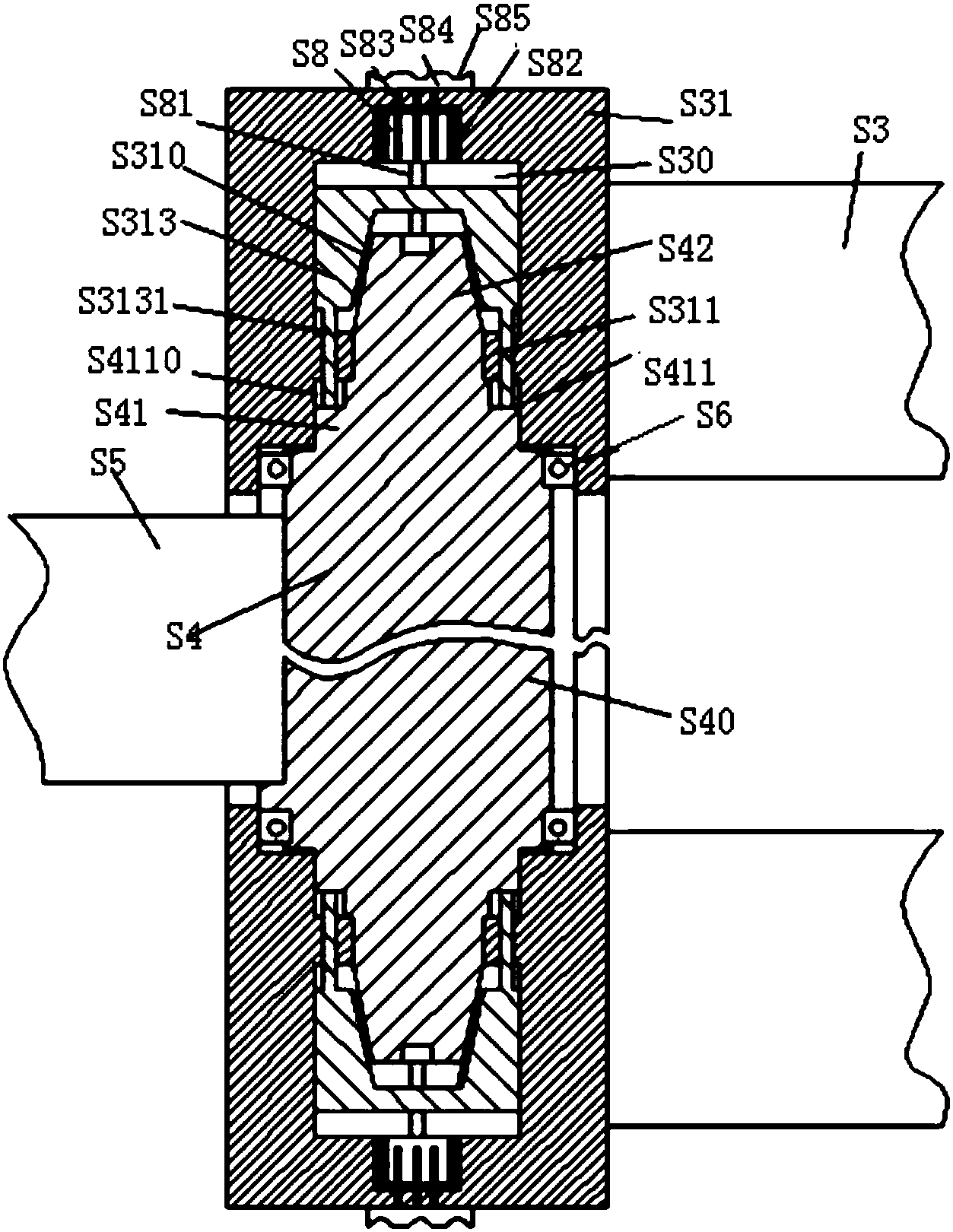
用于磁悬浮风力发电机的运行系统
常州工学院
一种铜铝复合电极表面织构的电解加工方法
常州工学院
一种智能化图书馆管理系统
常州工学院
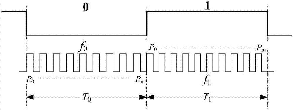
一种基于脉宽等长机制的FSK调制方法
常州工学院
共16004页 转到