科创中国
问题分诊室
具身智能与智慧医疗融合创新产业
高性能装备制造产业
智能机器人全产业链产业
中医药产业
人工智能产业
新一代信息技术产业
作物产业
量子科技与先进制造产业
海洋装备产业
煤炭开采及煤化工产业
特殊钢产业
节能环保产业
低空经济产业
光电产业
汽车产业
新能源产业
新材料产业
“以竹代塑”
成果发布厅
新型电力系统
化学领域
现代纺织
低空经济
信息通信
智慧公路
煤炭开采及煤化工
中医药
智能机器人全产业链
海洋装备
新一代信息技术
量子科技与先进制造
人工智能
高性能装备制造
具身智能与智慧医疗融合创新
作物
科创地方
科创北京
科创天津
科创内蒙古
科创辽宁
科创江苏
科创广西
科创广东
科创重庆
科创宁夏
科创河北
科创山东
科创河南
科创福建
科创湖南
科创黑龙江
科创湖北
科创浙江
科创山西
科创资讯
科创头条
科协活动
通知公告
科技政策
技术经理人
科技服务团
资源中心
项目库
问题库
案例库
开源库
学术资源
会议展览
品牌栏目
院士开讲
解码新质生产力
金融服务云课堂
企创云课堂
有问题想咨询
有成果想转化
我的交易
我的会议
我报名的路演会议
我的资讯
我的消息
我的动态
我的需求
我的成果
我的
个人资料编辑
退出登录
登录/注册
科创中国
需求发布
成果发布
科创案例库
揭榜挂帅
技术经理人
会议展览
科创联合体
科技服务团
科创资讯
科技政策
院士开讲
学术资源
城市站点
协作站点
搜索
问题库
项目库
开源库
English
我的交易
我的会议
我报名的路演会议
我的资讯
我的消息
我的动态
我的需求
我的成果
我的
个人资料编辑
退出登录
登录/注册
组织入驻
隐藏工作区
全国
在线展厅
切换展厅
全国
北京市
天津市
河北省
山西省
内蒙古
辽宁省
吉林省
黑龙江省
上海市
江苏省
浙江省
安徽省
福建省
江西省
山东省
河南省
湖北省
湖南省
广东省
广西
海南省
重庆市
四川省
贵州省
云南省
西藏
陕西省
甘肃省
青海省
宁夏
新疆
新疆兵团
路演活动
科技成果
参观
人数
0
0
0
0
0
0
0
点赞
人数
0
0
0
0
0
0
0
技术领域
全部
新兴行业
|
新基建
|
电子信息
|
高端产业
|
生物医药
|
石化与新材料
|
智能机械与光机电一体化
|
节能环保
|
新能源
|
现代农业
|
高端技术服务业
|
农林牧副渔
|
城建规划
|
文化创意
|
矿山工程
|
冶金工程
|
企业管理
|
知识产权
|
智库咨询
|
旅游休闲娱乐
|
企业发展服务
|
电子商务
|
纺织
|
其他
|
更多
新能源汽车动力电池新材料超高纯溶剂NMP
中国科学院过程工程研究所
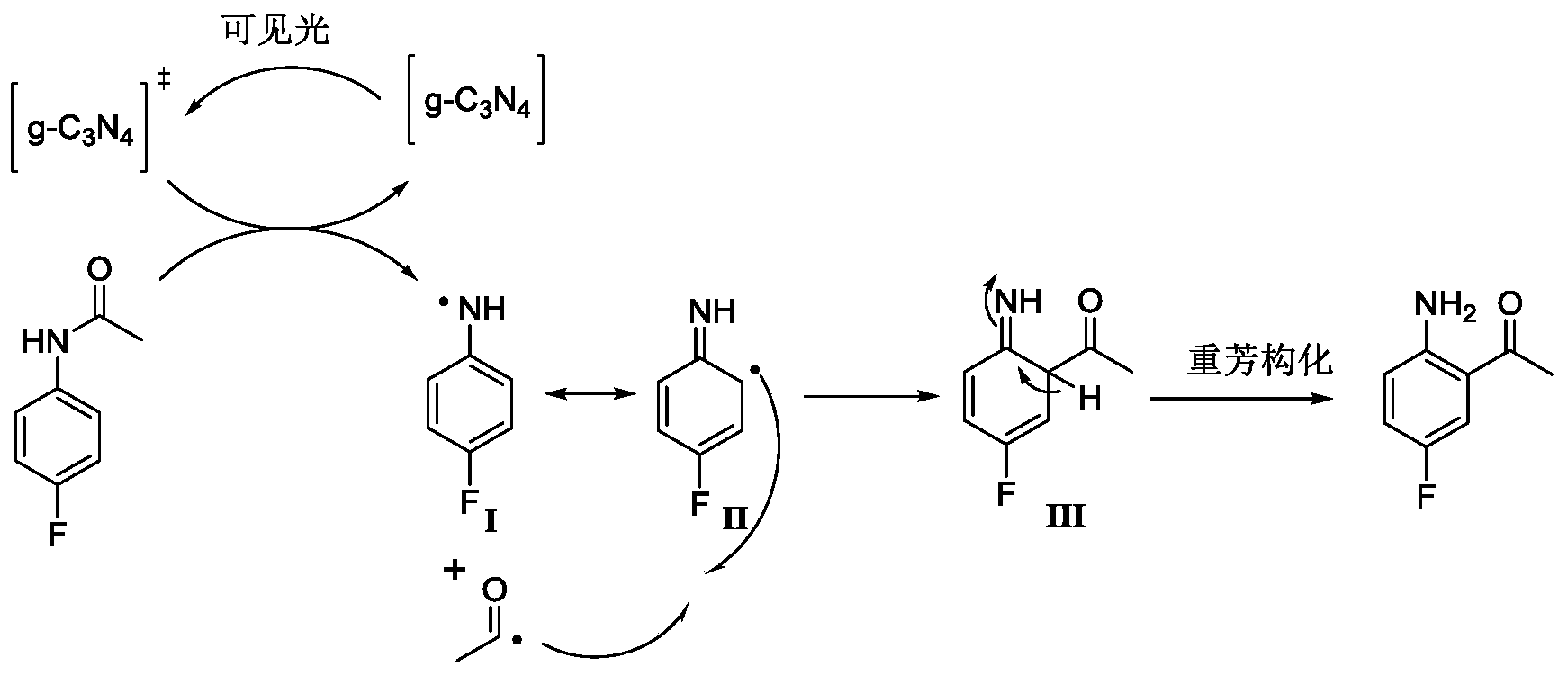
一种劳拉替尼中间体化合物的制备方法
常州工学院
一种调节振动筛筛箱倾角的杠杆机构
广汉市阿里圣姆石油设备有限公司
差容式地震计机械摆
防灾科技学院
一种实验热解炉及热解系统
常州大学
ADIPOR1基因在肝癌SBRT疗效评估中的应用
温州医科大学
一种双锅炉再热补汽余能余热发电系统及发电方法
东方电气集团东方汽轮机有限公司
铁酸镍金属有机框架衍生物纳米材料及其制备方法与应用
常州工学院
一种冷烧结硅藻土多孔材料及制备方法
江西农业大学
基于残差姿态胶囊路由的图像分类方法
常州大学
聚酰亚胺膜材料制备
中国科学院山西煤炭化学研究所
一种连续墙接头结构及其施工方法
常州工学院
茯苓高活性水溶性多糖规模化制备技术研发与应用
华中农业大学
一种几丁质酶响应性伊维菌素介孔基纳米递送系统的制备方法
江西农业大学
一种市政土建工程用的方柱成型设备
常州工学院
一种离心式压缩机闭式径流叶轮叶顶间隙流损失抑制结构
东方电气集团东方汽轮机有限公司
一种负压振动筛
广汉市阿里圣姆石油设备有限公司;
一种控制电机测试设备
淮南师范学院
一种诱导风机系统及控制方法
常州工学院
一种针对 HEVC 视频编码的多核混合存储管理方法
山东大学技术转移中心
首页
上一页
2784
2785
2786
2787
2788
2789
2790
下一页
尾页
共16004页 转到
页