功能性复配杂粮代餐食品生产关键技术研究与开发
宁波市科技创新协会
一种实时检测散装粮堆粮食储藏状态的系统及方法
广汉市蜀汉粮油机械有限公司
一种太阳能电池板免水清洁装置
常州大学
一种胺化磁性壳聚糖吸附剂及其制备方法
四川建筑职业技术学院
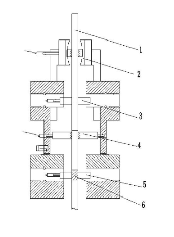
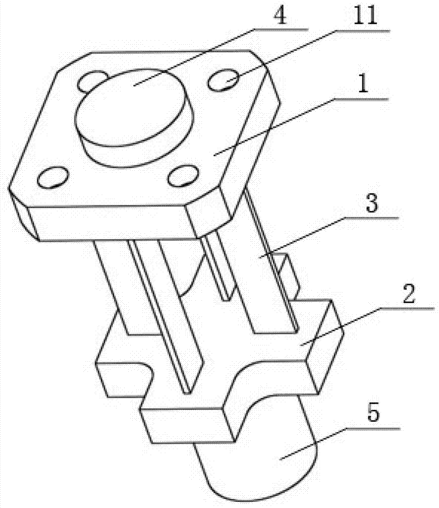
一种可溶性桥塞溶解试验装置及方法
四川圣诺油气工程技术服务有限公司
一种泡沫状磁性壳聚糖吸附剂及其制备方法
四川建筑职业技术学院
一种多功能遥控式平仓系统
广汉市蜀汉粮油机械有限公司
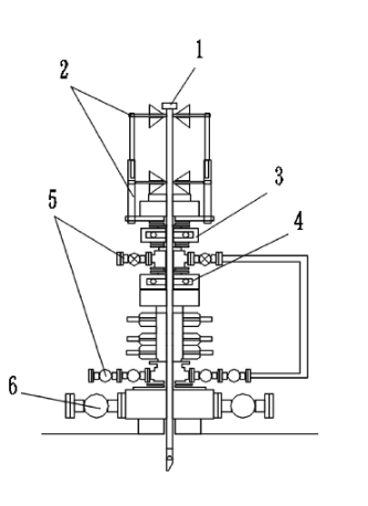
一种页岩气返排液的采集装置
四川圣诺油气工程技术服务有限公司;
碧螺春商品茶的分子鉴定方法
宁波市科技创新协会
一种铝灰分离装置
山东舜捷资源综合利用有限公司
一种多螺杆油脂压榨机
广汉市蜀汉粮油机械有限公司
从花生粕中连续制备蛋白质、植酸、多糖功效成分
北京工商大学
一种大蒜专用木霉全元生物有机肥料及其制备方法和应用
宁波市科技创新协会
一种多旋翼飞行器接触式无线充电系统
宁波市科技创新协会
一种安防用电线绕线装置
四川建筑职业技术学院
一种垃圾填埋场防渗浆材渗滤仪
常州大学
一种利用城市污泥制备的复合建筑模板及其制备方法
四川建筑职业技术学院
一种汽车智能感应报警系统及其控制方法
四川建筑职业技术学院
CPU-8:一种治疗2型糖尿病及其并存疾病的复方
宁波市科技创新协会
一种利用污泥制备的标记用有色材料及其制备方法
四川建筑职业技术学院
共16046页 转到